Структурные схемы портов

ТТL буфер для входящих сигналов.
РОRТА - цифровое значение входного/выходного сигнала.
ТRISА - разрешает или запрещает биты на вывод из порта

Триггер Шмита - модуль, устраняющий дребезг контактов.
Программный триггер Шмита: обеспечивает задержку на входе при обработке клавиатуры. При получении первого импульса на время t отключает прием сигнала.

ПОСЛЕДОВАТЕЛЬНЫЙ СИНХРОННЫЙ ПОРТ (МSSР)
МSSР - ведущий синхронный последовательный порт - для связи с внешними периферийными устройствами и микросхемами (ЕЕРRОМ, АЦП драйверы ЖКИ и т.д.)
МSSР имеет 2 режима:
• Последовательный периферийный интерфейс (SРI)
• I2С.
Выводы МSSР в режиме SРI:
• SDI - вход данных SРI
• SDO - выход данных SРI
• SCK - тактовый сигнал.
• -SS - выбор ведомого.
Основные режимы SPI: ведущий (SСК - выход), ведомый (SСК - вход).
Дополнительные режимы SРI: 4 режима тактирования отличающиеся полярностью и фронтом SСК; управление фазой выборки бита данных: частотой приема/передачи в режиме Маster, режим выбора ведомого в режиме Slave.
|
|
|
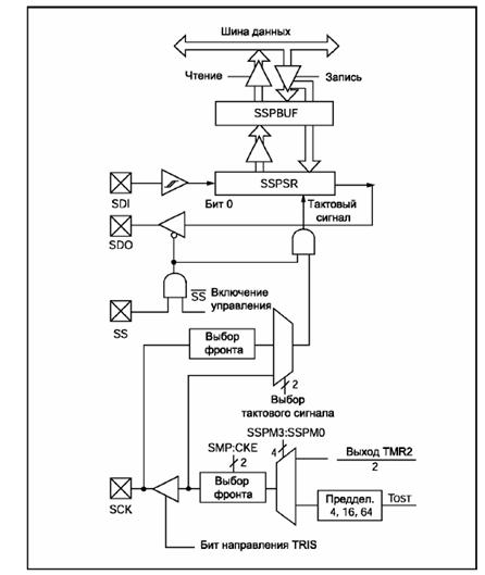
Структурная схема модуля в режиме SРI

Регистры SFR, связанные с работой SРI: управления SSРСОN, статуса SSРSТАТ и данных SSРВUF.
Регистр SSРСОN:
| WCOL | SSPOV | SSPEN | CKP | SSPM3 | SSPM2 | SSPM1 | SSPM0 |
| Бит 7 | Бит 0 |
WCOL: Флаг - Режим "ведущий" 1/0 - конфликт - попытка записи SSРВUF во время передачи/нет конфликта; "ведомый" 1/0 - конфликт - запись в SSРВUF во время передачи байта/нет конфликта;
SSPOV: 1/0 - есть/нет переполнение SSРВUF (при передаче значения не имеет);
SSPEN: 1/0 - включение/выключен не последовательного порта;
CKP: 1/0 - полярность тактирующих импульсов, ожидание высокий/низкий уровень;
SSPM3… SSPM0: режим работы последовательного порта (ведущий/ведомый, SPI/I2C) и скорость передачи данных.

Регистр SSРSТАТ:
| SMP | CKE | D/-A | P | S | R/W | UA | BF |
| Бит 7 | Бит 0 |
SMP: 1/0 - входные данные защелкиваются в конце/середине выходных
СКЕ: Для режима SРI: при СКР=0: 1/0 - данные передаются по фронту/падению тактового импульса; при СКР=1: 1/0 - данные передаются по падению/фронту тактового импульса. Для режима I2C: 1/0 - уровни на шине соответствуют спецификации Smbus/ I2C
D/-A: последний принятый или переданный байт - данные/адрес (I2С)
Р: последний принятый бит - SТОР (I2C)
S: последний принятый бит - SТАRТ (I2C)
R/W: чтение/запись (действителен при совпадении адреса и до принятия битов SТАRТ, SТОР или АSК)
UA: обновить/нет адрес в регистре SSРАDD (10 разрядный I2C)
BF: буфер SSРВUF заполнен/пуст (при передаче - I2C). 1 - прием завершен/идет передача, 0 - идет прием/завершена передача.
Для передачи байта необходимо записать его в регистр SSРВUF. Во время приема информация записывается в регистр SSРSR и по его окончанию перемещается в регистр SSРВUF с одновременной установкой флага ВF. Запись в регистр SSРВUF во время осуществления передачи/приема игнорируется, однако при этом устанавливается бит WCOL сигнализирующий о коллизии. Для передачи следующего байта содержимое регистра SSРВUF должно быть прочитано, иначе не произойдет аппаратный сброс флага ВF и передача производится не будет.
|
|
|






