Назначение технологического оборудования
ЛЕКЦИЯ 18. ОСНОВНОЕ ОБОРУДОВАНИЕ ГАЗОВОГО И ГАЗОКОНДЕНСАТНОГО ПРОМЫСЛОВ
На современном газовом промысле устанавливаются сложное и дорогостоящее оборудование, машины и приборы, назначение которых - подготовка кондиционного газа и конденсата, отделение и сбор попутного сырья (серы, гелия, ртути). Все установленное на промысле поверхностное оборудование должно удовлетворять следующим основным требованиям: бесперебойно вырабатывать и подавать потребителям газ, конденсат и все полезные компоненты в течение всего срока разработки месторождения; наиболее полно использовать пластовое давление для добычи сырья, его обработки и переработки, получения холода или электроэнергии для транспортирования сырья потребителям; обеспечения наилучших технико-экономических показателей по системе газоснабжения в целом.
К поверхностному промысловому оборудованию относятся:
каплеотбойники для улавливания жидкой и твердой фаз из газового потока, поступающего из скважин;
сепараторы для изменения термодинамической характеристики газа с целью выделения воды, конденсата и улавливания их;
теплообменники для предварительного охлаждения потока газа с целью повышения эффективности работы оборудования;
конденсаторы, испарители для конденсации паров, для стабилизации жидкостей;
насосы, компрессоры, детандеры - машинное оборудование для перекачки жидкостей, подъема давлений, для выработки холода соответственно;
абсорберы - основной элемент оборудования при извлечении жидких углеводородов и воды из газа жидкими поглотителями (гликолями);
адсорберы - основной элемент оборудования при извлечении жидких углеводородов и воды из газа твердыми поглотителями;
регуляторы давлений, температуры, уровней жидкости, манометры, термометры, влагомеры - приборы, регулирующие и контролирующие технологический процесс подготовки газа и конденсата.
Перечисленные выше элементы оборудования входят в установки низкотемпературной сепарации газа (НТС), искусственного холода (ИХ), стабилизации конденсата (СК), регенерации диэтиленгликоля (РДЭГ), промысловой канализации, защиты окружающей среды или в состав оборудования заводов для абсорбционной (с жидким сорбентом) или адсорбционной (с твердым сорбентом) переработки газоконденсатного сырья, в промысловые дожимные, компрессорные станции (ДКС).
Природный газ, поступающий из скважин, представляет собой многокомпонентную двух-, а иногда и трехфазную систему, состоящую из смеси газов, насыщенных парами воды и тяжелых углеводородов, которые при изменении давления и температуры конденсируются. Иногда вместе с газовым потоком из пласта выносится жидкая вода, конденсат тяжелых углеводородов, твердые частицы породы и др. Перед подачей газа в газопроводы газ проходит процесс сепарации. Сепарацией называется процесс разделения (отделения, разъединения) твердой, жидкой и паровой фаз в газовом потоке.
Аппараты, в которых происходит отделение твердой или жидкой фазы от газовой, называются сепараторами. Сепараторы по различным признакам можно классифицировать:
а) по назначению на рабочие, замерные;
б) по геометрической форме на цилиндрические, шаровые;
в) по положению в пространстве на вертикальные, горизонтальные, наклонные;
г) по способу разделения фаз на механические, жидкостные, электрические.
Сепараторы с механическим способом разделения фаз подразделяются по характеру сил, используемых для разделения, на:
гравитационные, центробежные, инерционные, фильтрационные (с фильтроэлементами).
Наиболее распространенными в газодобывающей промышленности рабочими сепараторами являются следующие:
■ вертикальные (горизонтальные) гравитационные (рис. 25);
■ вертикальные центробежные (рис. 26);
■ вертикальные (горизонтальные) жалюзийные.
При большом содержании жидкости широко применяют гравитационные (вертикальные, горизонтальные) сепараторы. Циклонные (каплеотделители) используют в качестве сепараторов первой ступени. Для более полной очистки газа от жидкости применяют горизонтальные жалюзийно-пленочные сепараторы с вертикально расположенными жалюзями. Гравитационные сепараторы имеют высокие показатели по степени отделения жидкости и твердой фазы, но являются металлоемкими. Циклонные - имеют невысокий коэффициент разделения, но небольшую металлоемкость.
Коэффициентом сепарации (разделения, степень отделения) называется отношение массы уловленной в сепараторе твердой или жидкой фазы к массе этой же фазы, поступившей в сепаратор.
(18.1)
где
- коэффициент уноса =
-массовое содержание твердой или жидкой фазы во входящем в сепаратор потоке, г/м3;
- массовое содержание твердой или жидкой фазы в выходящем из
сепаратора потоке, г/м3.

Рис. 25. Схема вертикального гравитационного сепаратора
Имеет 4 секции: I - каплеотбойная; II - разделительная; III- осадительная;
IY - отстойная; Параметры сепаратор: рабочее давление 6,4 - 16 МПа; пропускная способность 500 - 1200 тыс.м3/сут.; коэффициент сепарации
=0,8 - 0,93; удельный расход металла 5,3 -16 кг/1000 м3; линейная скорость газового потока ≤ 0,4 м/с
Коэффициент сепарации зависит от многих факторов: содержания твердой или жидкой фазы во входящем потоке; физических свойств разделяющихся фаз; скорости движения газа в разделительной и отбойной секциях сепаратора; от времени пребывания разделяющихся фаз в разделительной и осадительной секциях; от конструктивных особенностей и характера действующих сил в сепараторе. Опыт эксплуатации сепараторов различного типа показывает, что коэффициент сепарации может меняться от 0,75 до 0,98. Считается, что жидкие капли с диаметром 0,002 мм и меньше в сепараторах не улавливаются.
Эксплуатационные качества сепараторов зависят от пропускной способности, коэффициента сепарации, расхода металла на единицу пропускной способности, удельных затрат пластового давления на единицу обрабатываемого газа или отдельного конденсата.
Все применяемые сепараторы должны работать на безгидратном режиме. Степень очистки повышается применением 2-3-4 ступеней сепараторов.

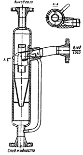
Рис. 26. Схема вертикального центробежного (циклонного) сепаратора
Диаметр циклона в 10 раз меньше диаметра гравитационного сепаратора.
Линейная скорость газового потока 11 -20 м/с, коэффициент сепарации
=0,75-0,8.






