В частности - это муфты сцепления автомобиля, передают вращающий момент между полумуфтами за счет сил трения на рабочих поверхностях.
Давление на поверхностях контакта (смазываемых или сухих) создают с помощью устройств или механизма включения.
При включении фрикционных муфт вращающий момент нарастает с увеличением усилия нажатия. Благодаря этому можно соединять валы под нагрузкой. Пробуксовка муфты в процессе включения обеспечивает плавный разгон ведомого вала.
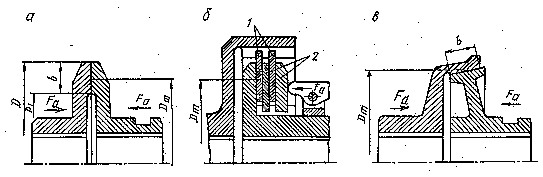
На рис. показана конструкция таких муфт.






Полумуфты могут быть с дисковыми (а, б) и коническими (в) рабочими поверхностями.






