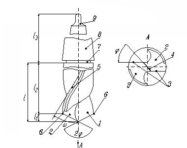
Конструктивные элементы сверла(рис.9):
l – рабочая часть, включающая в себя режущую и направляющую части; l1 - режущая часть, имеющая главные режущие кромки 3; l 2 – направляющая часть, имеющая ленточки 5 и стружечные винтовые канавки и служит для направления сверл в отверстие; l 3 – крепежная часть (состоит из шейки 7, хвостовика8, лапки 9); 1 – передняя поверхность; 2 – главная задняя поверхность; 3 – главная режущая кромка; 4 – поперечная кромка (перемычка) – определяет жесткость и прочность сверла и отрицательно сказывается на процесс сверления из-за отрицательного переднего угла на данной кромке; 5 – ленточка, часть которой (длиной
) служит вспомогательной режущей кромкой (6).

Рис.9 Конструкция спирального сверла
К геометрическим параметрам сверла относятся (рис. 10):
2j - двойной угол в плане при вершине - это угол, заключенный между проекциями главных режущих кромок на плоскость, проходящую через ось сверла параллельно главным режущим кромкам (
=118-120о);
w - угол наклона винтовой канавки – это угол между касательной к винтовой канавке и осью сверла (w=18-30°);
y - угол наклона поперечной кромки – это угол между проекциями главной режущей кромки и поперечной кромки на плоскость перпендикулярную оси сверла (y=50 - 55°).