Электрическая станция представляет собой промышленное предприятие для выработки электрической энергии. Основное количество энергии в СССР и в крупных и экономически развитых странах мира производя на тепловых электрических станциях, (ГЭС), использующих химическую энергию сжигаемого органического топлива Электрическую энергию вырабатывают также на тепловых электрических станциях, работающих на ядерном горючем, — атомных электрических станциях (АЭС) и на электростанциях, использующих энергию потоков воды, — гидроэлектростанциях (ГЭС).
Независимо от типа электростанции электрическую энергию, как правило, вырабатывают централизованно. Это значит, что отдельные электрические станции работают параллельно на общую электрическую сеть и, следовательно, объединяются в электрические системы, охватывающие значительную территорию с большим числом потребителей электрической энергии. Это повышает надежность электроснабжения потребителей, уменьшает требуемую резервную мощность, снижает себестоимость вырабатываемой электроэнергии за счет рациональной загрузки электростанций, входящих в электрическую систему, и позволяет устанавливать агрегаты большой единичной мощности. Широко пользуются и централизованным снабжением теплотой в виде горячей воды и пара низкого давления, вырабатываемых на некоторых электростанциях одновременно с электрической энергией. Электрические станции, электрические и тепловые сети, а также потребители электрической энергии и теплоты в совокупности составляют энергетическую систему. Отдельные энергетические системы соединяют межсистемными связями повышенного напряжения в объединенные энергетические системы. В ближайшие годы, на и базе будет создана Единая энергетическая система Советского Союза —высшая форма организации энергетического хозяйства страны.
Тепловые электростанции. Основными тепловыми электрическими станциями на органическом топливе являются паротурбинные электростанции, которые делятся на конденсационные (К.ЭС), вырабатывающие только электрическую энергию, и теплофикационные (ТЭЦ), предназначенные для выработки электрической и тепловой энергии.
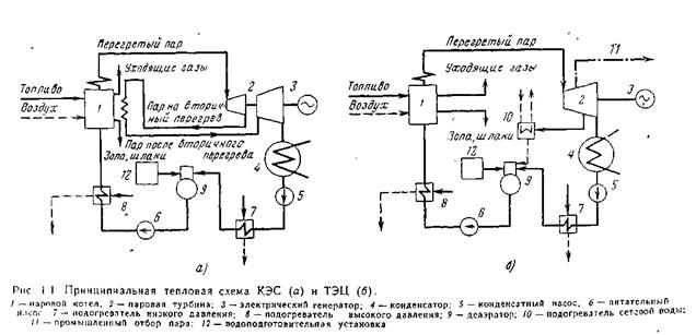
Паротурбинные электростанции выгодно отличаются возможностью сосредоточения огромной мощности в одном агрегате, относительно высокой экономичностью, наименьшими капитальными затратами на их coopужения короткими сроками строительства. Основными тепловыми агрегатами паротурбинной ТЭС являются паровой котел и паровая турбина (рис. 1.1). Паровой котел представляет собой системы поверхностей нагрева для производства пара из непрерывно поступающей в неге воды путем использования теплоты, выделяющейся при сжиганий топлива, которое подается в топку вместе с необходимым для горения воздухом. Поступающую в паровой котел воду называют питательной водой. Питательная вода подогревается до температуры насыщения, испаряется, а выделившийся из кипящей (котловой) воды насыщенный пар перегревается.
При сжигании топлива образуются продукты сгорания — теплоноситель, который в поверхностях нагрева отдает теплоту воде и пару, называемый рабочим телом. После поверхностей нагрева продукты сгорания при относительно низкой температуре удаляются из котла через дымовую трубу в атмосферу. На электростанциях большой мощности дымовые трубы выполняют высотой 200 — 300 м и больше, чтобы уменьшить местные концентрации загрязняющих веществ в воздухе. В результате горения твердого топлива остается зола и шлак, которые также удаляются из агрегата. Полученный в котле перегретый пар поступает в турбину, где его тепловая энергия превращается в механическую, передаваемую валу турбины. С последним связан электрический генератор, в котором механическая энергия превращается в электрическую. Отработавший пар из турбины направляют в конденсатор— устройство, в котором пар охлаждается подои какого-либо природного (река, озеро, пруд, море) или искусственного (градирня) источника и конденсируется.
На современных КЭС с агрегатами единичной мощности 200 МВт и выше применяют промежуточный перегрев пара. Обычно применяют одноступенчатый промежуточный перегрев пара (рис 1.1,а). В установках очень большой мощности применяют двойной промежуточный перегрев, при котором пар из промежуточных ступеней турбины дважды возвращают в котел. Промежуточный перегрев пара увеличивает к. п. д. турбинной установки и соответственно снижает удельный расход пара на выработку электроэнергии, я также влажность пара на ступенях низкого давления турбины и уменьшает эрозионный износ лопаток.
Конденсатным насосом конденсат перекачивают через подогреватели низкого давления (ПНД) в деаэратор. При доведении конденсата до кипения происходит освобождение его от кислорода и углекислоты, вызывающих коррозию оборудования. Из деаэратора вода питательным насосом через подогреватели высокого давления (ПВД) подается в паровой котел Подогрев конденсата в ПНД и питательной воды в ПВД производится паром, отбираемым из турбины, — регенеративный подогрев. Регенеративный подогрев воды также повышает к. п. д. паротурбинной установки, уменьшая потери теплоты в конденсаторе.
Таким образом, на КЭС (рис. 1.1,а) паровой котел питается конденсатом производимого им пара. Часть этого конденсата теряется в системе электростанции и составляет утечки. На ТЭЦ часть пара, кроме того, отводится на технологические нужды промышленных предприятий или используется для бытовых потребителей. На КЭС утечки составляют небольшую долю общего расхода пара — около 0,5—1%, и для их восполнения требуется добавка воды, предварительно обрабатываемой в водоподготовительной установке. На ТЭЦ эта добавка может достигать 30—50% и более.
Добавочная вода и турбинный конденсат содержат некоторые примеси, главным образом растворенные в воде соли, окислы металлов и газы. Эти примеси вместе с питательной водой поступают в котел. В процессе парообразования в воде повышается концентрация примесей, и в определенных условиях возможно их выпадение на рабочих поверхностях котла в виде слоя отложений, ухудшающего передачу через них теплоты. В процессе парообразования, кроме того, примеси воды частично переходят в пар, однако чистота пара должна быть очень высокой во избежание отложения примесей в проточной части турбины. По обеим причинам нельзя допускать большого загрязнения питательной воды; допустимое загрязнение питательной воды и вырабатываемого пара регламентируется специальными нормами.
В число устройств и механизмов, обеспечивающих работу парового котла, входят: топливоприготовительные устройства; питательные насосы, подающие в котел питательную воду; дутьевые вентиляторы, подающие воздух для горения; дымососы, служащие для отвода продуктов сгорания через дымовую трубу в атмосферу, и другое вспомогательное оборудование Паровой котел и весь комплекс перечисленного оборудования составляют котельную установку. Современная мощная котельная установка представляет собой сложное техническое сооружение для производства пара, в котором все рабочие процессы полностью механизированы и автоматизированы; для повышения надежности работы ее оснащают автоматической защитой от аварий.

Тенденции развития паровых котлов: увеличение единичной мощности, повышение начального давления пара и его температуры, применение промежуточного перегрева пара, механизация и автоматизация управления, изготовление и поставка оборудования крупными блоками для облегчения и ускорения его монтажа.
Атомные электростанции. Устройство, в котором осуществляется регулируемая цепная реакция деления ядер тяжелых элементов, называется ядерным реактором. В качестве ядерчого топлива используют как природные изотопы 235U, так и искусственные изотопы 233U, 239Рu и др. Ядерная энергия, освободившаяся в результате цепной реакции деления, превращается в теплоту, которая теплоносителем отводится из реактора. В зависимости от схемы АЭС бывают: одноконтурные, двухконтурные и трехконтурные.
В одноконтурной АЭС (рис 1.2,а) пар образуется непосредственно в реакторе Следовательно, реактор одновременно является и парогенератором. Одноконтурные АЭС проще и дешевле, они содержат минимальное число элементов оборудования Вместе с тем под влиянием облучения в реакторе рабочее тело (вода и пар) становится радиоактивным, в связи с чем не только реактор, но л другое оборудование водопарового тракта электростанции должно иметь биологическую защиту Загрязнение пара приводит к образованию отложений в элементах оборудования Так как эти отложения радиоактивны, то ремонт оборудования затрудняется.
В двухконтурной АЭС (рис. 1 2,6) нагреваемый в реакторе поток жидкости, газа или расплава металла является теплоносителем, который передает теплоту рабочему телу в парогенераторе. Следовательно, в двухконтурной АЭС появляется дополнительное оборудование— парогенератор, удорожающий электростанцию. Для передачи теплоты от теплоносителя рабочему телу в парогенераторе необходим перепад температуры. Поэтому при водном теплоносителе температура поступающего в турбину пара ниже, чем в одноконтурной АЭС. Наличие двух контуров приводит к необходимости поддерживать в реакторе более высокое давление, чем давление пара, направляемого в турбину. Вместе с тем двухконтурные АЭС имеют преимущества перед одноконтурными, так как радиоактивность распространяется только в пределах первого контура, и поэтому вскрытие турбины и другого оборудования в пределах второго контура для ремонта безопасно. Биологическая защита необходима только на первом контуре
В трехконтурной АЭС (рис 1 2,0) в качестве теплоносителя первого контура применяют жидкий натрий. Под влиянием облучения в реакторе натрий склонен к активации с образованием изотопа с высокой энергией γ - излучения. Поэтому первый контур отделяют от рабочего контура промежуточным — вторым контуром. Теплоносителем второго контура является также Na или сплав Na—К. Для защиты второго контура от попадания в него при нарушении плотности радиоактивного натрия первого контура давление во втором контуре поддерживается большим, чем в первом контуре. Рабочим телом третьего контура служит вода. В трехконтурных АЭС биологическая защита распространяется на первые два контура.
Комбинированные парогазовые установки и МГДУ. С применением пара сверхкритических параметров (р=25,5 МПа, tnn=545°C) и промежуточного перегрева пара (tвт=545°С), развитием регенерации теплоты, достижением высоких к. п. д. и мощности (1200 МВт и более) паротурбинных блоков тепловая экономичность ТЭС приблизилась к своему термодинамическому пределу (к. п. д. несколько более 40%). Дальнейшее повышение начальных параметров пара сильно увеличивает стоимость паротурбинных блоков из-за применения более высоколегированных и дорогостоящих сталей. Осложняется при этом и сохранение уже достигнутых показателей надежности.
Разработаны и проходят пробную эксплуатацию комбинированные системы, сочетающие паротурбинную установку (ПТУ) с высокотемпературной газотурбинной установкой (ГТУ). Из всех известных в настоящее время практический интерес представляют парогазовые установки (ПГУ), в высокотемпературной части которых работает ГТУ, а в низкотемпературной ПТУ. На рис. 1.3 показаны две основные схемы ПГУ. В обеих схемах газотурбинная часть работает на высокотемпературной теплоте. В установке, показанной на рис. 1.3,а, эта теплота выделяется в камере сгорания при подаче в нее топлива и сжатого в компрессоре атмосферного воздуха. Образующиеся в ней газы используются в газовой турбине. Выхлопные газы вместе с топливом поступают в топочную камеру парового котла. в котором вырабатывается пар. На этом паре работает паровая турбина. В продуктах сгорания, поступающих в топку котла, содержится около 16% кислорода, в связи с чем подача воздуха специально для сжигания основной массы топлива в котле не предусматривается, а потому воздухоподогреватель не нужен Удельный расход топлива у ПГУ ниже на 3—4%, чем у ПТУ с теми же начальными параметрами пара.
Другая схема ПГУ (рис. 1.3,6) предусматривает высоконапорный паровой котел (ВПК), в котором сжигание топлива и передача теплоты совершаются при высоком давлении (0,6—0,7 МПа). Это позволяет интенсифицировать эти процессы и проектировать котел с малым расходом металла и значительно меньших габаритов по сравнению с обычными. Как и в предыдущей схеме, газовая турбина работает на высокотемпературной теплоте продуктов сгорания — топочных газов ВПК. Паровая турбина работает на паре, вырабатываемом ВПК. Покидающие газовую турбину продукты сгорания охлаждаются частью потока воды, идущей на выработку пара. При равенстве начальных параметров пара удельный расход топлива на 4—6% ниже, чем у ПТУ. Удельные капиталовложения также ниже на 8—12%.
Разработаны комбинированные парогазовые установки на ядерном топливе (рис. 1 4). Здесь камеру сгорания заменяют энергетический реактор с газовым теплоносителем В качестве теплоносителя используется инертный газ — гелий, допускающий повышение температуры на выходе из реактора до 1500°С и выше. Высокотемпературные газоохлаждаемые реакторы могут эффективно применяться на АЭС с паровыми турбинами В парогазовых установках на ядерном горючем паровой котел является утилизатором тепла выхлопных газов газовых турбин
Еще одним типом комбинированных систем с участием парового цикла являются магнитогидродинамические установки (МГД - установки) Отличительная их особенность — безмашинное преобразование части тепловой энергии в электрическую (рис 1 5) Сжатый в компрессоре и подогретый в котле до 1000— 1200°С атмосферный воздух вместе с топливом поступает в камеру сгорания. Образовавшиеся здесь продукты сгорания при температуре 2500°С ионизируются. Интенсификация ионизации газа достигается присадками в камеру сгорания добавок в виде соединений калия, цезия и других щелочных металлов.
Горячие ионизированные газы (высокотемпературная плазма) со свойствами электрического проводника поступают в канал через сопло и движутся в нем со скоростью около 700 м/с Мощными постоянными магнитами в канале создается магнитное поле При движении плазмы в мощном магнитном поте ионизированные частицы индуктируют в цепи постоянный электрических ток, который затем преобразуется в переменный Газовый поток выходит из канала при температуре 1500 — 2000°С Эта высокотемпературная теплота газов используется для подогрева воздуха, необходимого камере сгорания, и для генерации пара, используемого в паровой турбине Коэффициент полезного действия МГД установки может достигать 50—60% Около 70—80% всей электроэнергии вырабатывается в МГД-канале, остальные — в паротурбинной установке.
Из рассмотрения принципиальных схем производства электрической энергии на электростанциях следует, что паровой котел на ТЭС и парогенератор на АЭС являются обязательными агрегатами, притом одними из главных практически любой мощности энергетической установки Паровой котел и парогенератор предназначены для производства пара в нужном количестве, обеспечивающем необходимую мощность турбины и за чанные параметры пара.