ТЕМА 10
1. ОБЩИЕ СВЕДЕНИЯ
Под энергообеспечением понимают надежное и бесперебойное обеспечение сельских потребителей топливом, теплотой, электроэнергией, газом, теплыми воздухом и водой, горячей водой и паром.
Потребление энергии человечеством из года в год растет по экспоненте. За последнее столетие в мире израсходовано энергии больше, чем за всю историю своего развития, а за минувшую четверть века суммарное потребление возросло в 5 раз.
Так, например, сельское хозяйство России с учетом местных видов топлива (в основном биомассы) потребляет в год более 130 млнт условного топлива (т у.т.), что составляет около 10 % потребляемой энергии в целом по стране.
Огромное количество энергии расходуется в растениеводстве и на транспорте — около 50 %, в быту и коммунальном хозяйстве — 40 %, животноводстве —10 %.
По структуре потребления жидкое топливо составляет около 35 %, уголь — 30, местное топливо — 15, газ — 12 и электроэнергия — 8 %. От 60 до 80 % энергии этих источников преобразуется в тепловую энергию. Она расходуется на отопление жилых и производственных помещений, приготовление пищи и корма, подогрев воды и получение пара, подогрев почвы и воздуха в теплицах и т. п.
Автоматизация систем энергообеспечения имеет большое значение, поскольку без нее невозможно организовать экономичное, надежное и бесперебойное энергоснабжение сельских потребителей. Она является основным средством повышения безопасности труда, КПД и энергосбережения при преобразовании, передаче и использовании энергии.
2. АВТОМАТИЗАЦИЯ ТЕПЛОВЫХ КОТЕЛЬНЫХ
Теплоснабжение сельского хозяйства осуществляют в основном от котельных и отдельных котлов низкого давления, теплогенераторов и электронагревательных установок.
Котлы используют весьма широко, несмотря на их значительную металлоемкость и повышенную себестоимость тепловой энергии, а также большие потери теплоты при ее передаче от котельных к потребителям. Высокие пожароопасность и загрязненность отходами свойственны таким котлам. На их эксплуатации только в сельском хозяйстве занято более 500 тыс. операторов. Повсеместный переход на теплоснабжение от электроустановок в существенной мере устраняет указанные недостатки, но сдерживается дефицитом и высокой стоимостью электрической энергии, а также малой пропускной способностью сельских распределительных электросетей. Автоматизация котлов и теплогенераторов существенно облегчает труд операторов и частично их сокращает, повышает надежность и оперативность работы оборудования и снижает себестоимость получаемой теплоты, уменьшает на 10% расход топлива. В то же время есть ряд потребителей, получающих теплоту только от электрической энергии, например инкубатории, электросварочные установки, установки локального обогрева молодняка птицы и животных, электрокалориферы и электроплиты.
В сельском хозяйстве используют паровые котлы типа
- KM, KB, ДКВР, МЗК паронроизводительностью 200...4000 кг/ч, давлением 0,1...1,3 МПа, температурой 110..190°С.
В котельных тепличных комбинатов установлены пароводяные котлы типа
- АВ, АПВ, ПТВМ, КВГМ, ДКВР, ДЕ и др. Такие котлы в водогрейном режиме подогревают воду до температуры 70...95°С для обогрева теплиц, а в паровом режиме вырабатывают пар давлением 0,2 МПа и температурой около 130 °С для пропаривания почвы и собственных нужд.
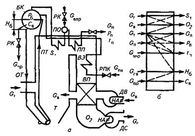
Объем автоматической котельной установки рассмотрим по технологической схеме производства пара (рисунок 1).

Рисунок 1 – Технологическая схема производства пара в котле (а) и схема связей между основными управляющими воздействиями и регулируемыми параметрами (б)
Топливо GТ и воздух GВ поступают в топку Т котла. Продукты сгорания отдают теплоту воде, циркулирующей по контуру: барабан котла (БК) — опускные трубы (ОТ) — подъемные трубы (ПТ) — барабан котла. Пароводяная смесь в барабане котла разделяется на пар и воду. Пар GП под давлением р б подается в пароперегреватель ПП, где его температура повышается до tП, а вода из барабана котла вновь опускается в нижний коллектор. Температура перегрева пара регулируется количеством воды GВПР, впрыскиваемой через регулируемый клапан РК в пароохладитель ПО. Необходимый для окисления топлива воздух GB нагнетается в топку котла дутьевым вентилятором ДВ через воздухоподогреватель ВП, в котором его температура повышается за счет теплоты выпускных газов.
Движение выпускных газов GГ создается дымососом ДС и регулируется направляющим аппаратом НА таким образом, чтобы в верхней части топки было небольшое разрежение SТ, исключающее «выбивание» выпускных газов в помещение котельной.
Питательная вода GПB подается в барабан котла через регулирующий питательный клапан РПК и водяной экономайзер ВЭ, где ее температура также повышается за счет теплоты выпускных газов. Количество подаваемой воды GПВ должно обеспечить стабилизацию уровня воды Нб в барабане котла. В процессе выработки пара солесодержание воды СВ в барабане котла постоянно растет. Для поддержания этого параметра на допустимом уровне выполняется непрерывный сброс (продувка) части воды GПР из нижней части барабана.
Таким образом, основными регулируемыми параметрами котла являются производительность GП, давление р П, температура tП, причём первый параметр должен изменяться в соответствии с потребностью потребителя, а р П и tП должны быть стабилизированы. Стабильно высокой должна быть и экономичность работы котла, оцениваемая по содержанию О2 в выпускных газах. Вспомогательные регулируемые параметры - уровень воды в барабане Нб, ее солесодержание СВ и разрежение в топке ST.
Перечисленные параметры изменяются в результате регулирующих воздействий, а также под действием внешних и внутренних возмущающих воздействий, носящих детерминированный и случайный характер. При этом выходная регулируемая величина одного участка является входной по отношению к другому. Например, давление в барабане котла р б — выходная величина по отношению к подаче топлива GТ и входная для участка реагирования производительности пара GП.
Таким образом, котел — это сложная динамическая система с несколькими входными и выходными величинами. Для такой системы можно выделить ряд каналов регулирующих воздействий (сплошные линии на рисунке 1, б), а остальные принять как возмущающие. Переходные процессы в котле протекают достаточно быстро, и поэтому выполнение технологических процессов с помощью ручного управления невозможно. Водогрейные котлы оборудуют регуляторами процесса сжигания топлива, а паровые котлы — еще и регулятором питания котла водой.
Процесс управления сжиганием топлива объединяет три взаимосвязанные СУ: управления тепловой нагрузкой (т. е. мощностью котла); управления экономичностью процесса сжигания топлива; стабилизации разрежения в топке.
Управление тепловой нагрузкой сводится к стабилизации тепловой нагрузки котла, и поэтому соответствующий регулятор называется регулятором тепловой нагрузки (РТН).
Тепловая нагрузка или мощность котла в установившемся режиме пропорциональна его паропроизводительности GП, а последняя пропорциональна давлению пара в барабане р б.
Процесс выработки пара представлен на схеме (рисунок 2, а). Регулируемый параметр — давление пара в барабане р б, а регулирующее воздействие — изменение подачи в топку количеств топлива GТ и воздуха GВ, результатом чего является изменение количества теплоты Q, выделяемой в топке, и давления в барабане р б. Основным внешним возмущением при регулировании р б является изменение потребления пара GП и подачи питательной воды GПВ. Оба этих возмущения не связаны с работой топки и воздействуют только на режим работы котла.
В существующих способах регулирования тепловой нагрузки объединены принципы регулирования по отклонению и по возмущению в зависимости от того, работает котел в базовом или регулирующем режиме.
В базовом режиме задача РТН — стабилизация тепловой нагрузки котла Q. При сжигании твердого топлива тепловую нагрузку котла оценивают по его паропроизводительности, а при сжигании газа или жидкого топлива она может быть определена по расходу топлива. Подачу твердого топлива GТ в котел регулируют, изменяя длину хода плунжера пневмозабрасывателя или частоту вращения пылепитателей (в зависимости от способа сжигания топлива).

а) б)
Рисунок 2 – Структурные схемы
парового котла при изменении (возмущении) потребления пара (а): 1-топка; 2- котел и регулятора экономичности «топливо–воздух» (б)
Подачу жидкого топлива изменяют с помощью регулирующего клапана, а газообразного — регулирующей заслонки на газопроводе к котлу.
САУ в базовом режиме настраивается таким образом, чтобы учитывать только внутренние возмущения (например, изменение качества топлива и т. д.) и не реагировать на внешние (изменение потребления пара). При изменении потребления пара, о чем свидетельствует соответствующее изменение давления р б, главный регулятор изменяет задание подчиненным ему РТН отдельных котлов. В случае необходимости любой котел может быть переведен в базовый режим работы и обратно.
Практически приемлемая неравномерность (ошибка) регулирования давления пара р б для отопительно-производственных котельных составляет 0,15…0,2, МПа.
Управление экономичностью процесса сжигания топлива. Регулирование количества воздуха, подаваемого в топку, является основным условием экономичной работы котла, которое обеспечивается регулятором экономичности (РЭ), автоматически поддерживающим расчетное соотношение между количествами подаваемых в топку котла топлива GT и воздуха GB (рисунок 2, б).
Схема «топливо — воздух» применима в случае работы котла на газообразном топливе, расход которого может быть точно измерен. Расход воздуха в схемах РЭ измеряется по перепаду на воздухоподогревателе (∆ р ВП). При сжигании твердого и жидкого топлива в котлах малой мощности характеристикой расхода топлива может быть принято положение исполнительного механизма ИМ регулятора РТН.
Наиболее точный способ контроля экономичности процесса горения — измерение содержания кислорода в выпускных газах. Использование этого параметра в схемах регулирования сдерживается невысокой надежностью серийных газоанализаторов.
Во всех рассмотренных схемах регулирующим органом РЭ является направляющий аппарат (НА) дутьевого вентилятора ДВ (см. рисунок 1).
Стабилизация разрежения в топке. Наличие небольшого (20…30 Па) постоянного разрежения в верхней части топки исключает выброс газов в помещение котельной, способствует устойчивости горения и является косвенным признаком мате-риального баланса между нагнетаемым в топку воздухом GB и выпускными газами GГ.
Регулятор разрежения воздействует на направляющий аппарат НА дымососа ДС (см. рисунок 1), а при работе дымососа на группу котлов — на поворотную заслонку в газоходе за водяным экономайзером. Топка котла, как объект регулирования разрежения обладает весьма незначительной инерцией.
Автоматическое управление процессом питания котла водой определяется жесткими требованиями к точности поддержания ее уровня в барабане Нб, которые объясняются опасностью заброса воды в пароперегреватель («перепитка» котла) или оголения и пережога экранных труб («упуск» уровня).
Особенность барабана котла как объекта регулирования — заполнение его двухфазной средой (пароводяной смесью), плотность которой существенно зависит от давления.
Схемы автоматических регуляторов питания котла водой различны.
Самая простая из них — одноимпульсный регулятор (рисунок 3, а), действующий по отклонению уровня в барабане Нб с помощью датчика LЕ и регулятора LС. Недостаток схемы: низкое качество стабилизации уровня. Для повышения качества используют двухимпульсный регулятор (рисунок 3, б), действующий по отклонению уровня воды в барабане Нб (датчик LЕ), с автоматической компенсацией изменения потребления пара GП (датчик FE1). Это уже комбинированная САР, учитывающая отклонение регулируемой величины и возмущающее воздействие по GП.
Наилучшие эксплуатационные характеристики имеет трехимпульсный регулятор (рисунок 3, в), который стабилизирует уровень воды в барабане не только по сигналам изменения уровня и отбору пара GП, но и по изменению подачи воды (датчик FE2).

Рисунок 3 - Функциональные схемы регулятора уровня воды в барабане котла:
а — одноимпульсный; б — двухимпульсный; в — трехимпульсный;
1 - пароперегреватель; 2 - барабан; 3 - водяной экономайзер; 4 - регулирующий питательный клапан; 5 - питательный насос
Автоматизация деаэрационных установок. Эти установки предназначены для удаления из питательной воды растворенных газов, способствующих коррозии металлических поверхностей нагрева котла и трубопроводов тепловых сетей. Остаточное содержание кислорода в сетевой воде для стальных водогрейных котлов не должно превышать 0,05 мг/кг, а в питательной воде для паровых котлов — 0,03 мг/кг.
Деаэратор представляет собой подогреватель, в котором одновременно с нагревом питательной воды происходит выделение, а затем удаление растворенных в воде газов. Конструкция установки (рисунок 4, а) объединяет деаэрационную головку 1 и бак-аккумулятор 2 деаэрированной воды. Питательный насос 3 перекачивает воду из бака-аккумулятора в барабаны котлов. Количество этой воды для каждого из котлов определяется работой своего регулятора уровня.
В деаэрационной головке 1 создаются встречно-направленные потоки греющего пара (снизу-вверх) и деаэрируемой воды (сверху-вниз), в процессе перемешивания которых происходит нагрев воды до температуры кипения, что является необходимым условием эффективности процесса деаэрации.

Рисунок 4 – Схемы автоматизации деаэрационных установок:
а — атмосферный деаэратор:
1 - головка деаэратора; 2 - бак-аккумулятор; 3 - питательный насос;
б — вакуумный деаэратор: 1 - эжектор; 2 - бак рабочей воды; 3 - циркуляционный насос; 4 - бак-аккумулятор; 5 - корпус деаэратора; 6 - водяной подогреватель
В паровых котельных широко применяют деаэраторы атмосферного типа, давление в которых равно 0,12 МПа, что соответствует температуре насыщения 104 °С. Стабилизация этого параметра обеспечивается работой регулятора давления PC, действующего обычно по ПИ-закону.
Естественно, в цикле котельных установок неизбежны потери рабочего тела (пара и воды). Эти потери восполняются химически очищенной водой (ХОВ), поступающей на деаэрацию вместе с потоком конденсата.
Косвенный показатель соответствия между необходимыми количествами воды для питания котлов и деаэрированной смеси конденсата и ХОВ — постоянство уровня воды в аккумуляционных баках. Этот параметр поддерживается регулятором уровня LC с помощью регулирующего клапана на линии подачи ХОВ в деаэрационную головку.
Параллельно работающие деаэраторы объединяют по воде и по пару. Импульсы к регуляторам давления и пара отбирают из этих уравнительных линий и на всю группу деаэраторов устанавливают один регулятор уровня LE и один регулятор давления PC.
В водогрейных котлах, где отсутствует теплоноситель — пар, деаэрация воды осуществляется в деаэраторах вакуумного типа. Основные условия деаэрации — кипение воды обеспечивается в этом случае понижением абсолютного давления в корпусе деаэратора до 7,5 кПа, что соответствует температуре насыщения 40 °С или, чаще, до 30 кПа, при котором вода кипит уже при 70 °С.
Соответствующее принятому режиму деаэрации давление в корпусе 5 деаэратора (рисунок 4, б) поддерживается регулятором давления, управляющим производитель-ностью водоструйного насоса (эжектора), откачивающего паровоздушную смесь из корпуса деаэратора.
Рабочая среда водоструйного насоса — вода, циркулирующая по замкнутому контуру: бак рабочей воды 2 — циркуляционный насос 3 — эжектор 1. Необходимая для вскипания температура деаэрируемой воды обеспечивается ее подогревом в водяном подогревателе 6 с управлением регулятором температуры ТС. Если давление в деаэраторе 7·10–3 Па, то подогрева ХОВ не требуется, ибо, как указывалось ранее, температура деаэрации всего 40 °С. Уровень в баках-аккумуляторах 4 вакуумных деаэраторов поддерживается так же, как и в атмосферных.
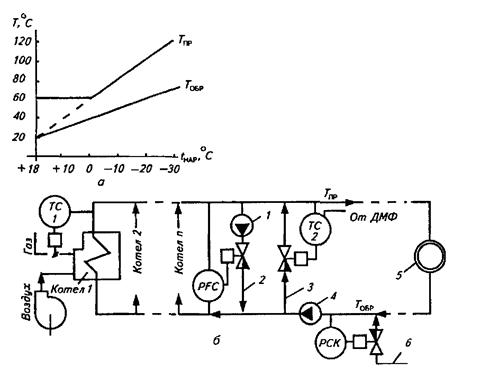
Автоматическое регулирование температуры воды водогрейной котельной осуществляется в соответствии с температурой наружного воздуха tнар, как того требует температурный график тепловой сети (рисунок 5, а).
В водогрейных котельных принципы регулирования температуры ТПР прямой воды зависят от вида сжигаемого топлива.
При сжигании газа минимальная температура воды на входе в котел должна быть не менее 60 °С, при сжигании малосернистого мазута — 70, высокосернистого — 110 °С и более. Поскольку большую часть отопительного периода температура Тобр обратной теплофикационной воды не превышает 60 °С, то нужное значение температуры воды на входе в котел достигается подмешиванием к ней с помощью рециркуляционных насосов 1 (рисунок 5, б) части воды, нагретой в котлах.

Рисунок 5 - Температурный график тепловой сети (а)
и функциональная схема автоматизации водогрейной котельной (б):
1 - рециркуляционный насос; 2 - линия рециркуляции; 3 - линия перепуска;
4 - сетевой насос; 5 - потребитель теплоты; 6 - линия подпитки тепловой сети
Особенность водогрейных котлов состоит в недопустимости парообразования в трубах, образующих поверхности нагрева. Для исключения этого явления в трубах котла нужно поддерживать давление 0,63…0,71 МПа и скорость воды не ниже 1 м/с. В соответствии с этими условиями используется два общекотельных контура (рисунок 5, б) регулирования постоянного суммарного расхода воды через котлы за счет изменения расхода воды через линию рециркуляции (регулятор РFС) и регулирования температуры воды, поступающей в тепловую сеть за счет изменения расхода воды через линию перепуска (регулятор ТС2). Задание регулятору ТС2 корректируется в соответствии с температурным графиком автоматически или оператором, ориентирующимся на среднюю температуру наружного воздуха за истекшие полсуток.
Одинаковый расход воды через каждый из параллельно работающих котлов обеспечивается при наладке с помощью дроссельных шайб, выравнивающих гидравлические сопротивления трубопроводов. Постоянство суммарного расхода воды обеспечивается регулятором, стабилизирующим перепад давления между коллекторами прямой и обратной сетевой воды. Тепловая нагрузка каждого из котлов в отдельности стабилизируется регулятором TC1.
Температурный график тепловой воды сети тепличного комбината полезно корректировать по сигналу от датчика медленно изменяющихся метеофакторов (ДМФ), определяющих температурный режим теплиц (наружная температура, средняя скорость ветра и т. п.). Централизованная обработка этих возмущений существенно облегчает задачу регуляторов температуры воздуха в теплице и регуляторов, управляющих режимами работы тепловых пунктов блоков теплиц.
Автоматическое регулирование подпитки водой тепловой сети обеспечивает регу-лятор подпитки PCК, поддерживающий постоянное давление перед сетевым насосом 4.
3. АВТОМАТИКА БЕЗОПАСНОСТИ КОТЕЛЬНЫХ УСТАНОВОК
Автоматика безопасности, объединяющая технологические устройства защиты и блокировки механизмов котла, обеспечивает заданную последовательность операций при растопке котла и его автоматическое отключение при отклонении технологических параметров от допустимых значений, т. е. в аварийной ситуации.
Устройства защиты действуют тогда, когда возможности автоматического или дистанционного управления по предотвращению аварийных отклонений параметра исчерпаны и технологический процесс должен быть изменен или приостановлен.
Объем аварийных защит определяется требованиями СНиП и зависит от типа котла и вида сжигаемого топлива.
Паровые котлы на твердом топливе (слоевое сжигание) отключаются с остановкой тягодутьевых установок и механизмов, подающих топливо в топку:
- при снижении давления воздуха под колосниковой решеткой;
- повышении давления в топке;
- повышении или понижении уровня воды в барабане котла.
Паровые котлы на жидком или газообразном топливе отключаются с прекращением подачи газа:
- при повышении или понижении давления газа перед горелками;
- повышении давления газов в топке;
- повышении или понижении уровня воды в барабане;
- понижении давления воздуха перед горелками;
- повышении давления пара;
- погасании факела горелок.
Водогрейные котлы на твердом топливе отключаются с остановкой тягодутьевых установок и механизмов, подающих топливо в топку:
- при повышении температуры воды за котлом;
- повышении и понижении давления воды за котлом;
- уменьшении расхода воды через котел;
- увеличении давления газов в топке.
Водогрейные котлы на газообразном топливе отключаются с прекращением подачи газа:
- при повышении температуры воды за котлом;
- повышении или понижении давления воды за котлом;
- понижении давления воздуха перед горелками;
- повышении или понижении давления газа перед горелками;
- повышении давления газов в топке;
- уменьшении расхода воды через котел;
- погасании факела в топке.
Все рассмотренные котлы также автоматически отключаются при исчезновении напряжения питания в цепях питания защит. При срабатывании любого из устройств защиты или при исчезновении питающего напряжения соленоиды клапанов отключаются и подача топлива к котлу прекращается.
Отключение котла — серьезное нарушение технологического регламента, и поэтому причины его должны быть установлены, проанализированы и устранены. Схема автоматизации котла предусматривает определение причины отключения котла. Аварийное отклонение параметров, вызвавшее останов котла, приводит в действие систему автоматических устройств блокировки и сигнализации.
Автоматические устройства блокировки обеспечивают требуемую последовательность включения и отключения оборудования при пуске, останове котла и разного рода технологических переключениях.
Классификация устройств блокировки:
- запретно-разрешающие — препятствуют нарушению последовательности операций по обслуживанию установки;
- аварийные — отключают агрегат или его отдельные элементы при возникновении аварии в каком-либо звене;
- замещения — включают резервное оборудование вместо действующего.
Схема блокировки вращающихся механизмов котла предусматривает автоматическую остановку всех следующих по технологической цепочке механизмов и запрет на включение механизма, если предшествующий по технологической цепочке механизм не работает.
Схема автоматической сигнализации обеспечивает автоматическую подачу световых и звуковых сигналов в случае остановки котла устройством защиты, повышения или понижения давления жидкого топлива и воды в питательных магистралях, а также при других нарушениях в работе основного и вспомогательного оборудования котельной.
4. САУ КОТЕЛЬНЫМИ
На практике применяют несколько типов СЛУ котельными: пневматические, электрические, электрогидравлические и др. Для паровых и водогрейных котлов малой и средней мощности, работающих на газе и жидком топливе, применяют электронно-гидравлические системы «Кристалл», а для тепличных пароводогрейных котлов — «Курс».
Эти системы выполняют следующие основные операции:
- автоматическое регулирование тепловой нагрузки с целью обеспечения заданной температуры в помещении и требуемого количества горячей воды и пара;
- автоматическое управление уровнем воды в котле;
- дистанционное управление котлом (пуск, регулирование тепло- и паропроизводительности и останов котлов);
- технологическую защиту, предотвращающую аварии;
- технологическую блокировку, исключающую выполнение неправильных операций при эксплуатации;
- технологическую сигнализацию, извещающую персонал о ходе выполнения технологических процессов;
- автоматический контроль технологических параметров работы котлов.
Система автоматики «Кристалл» построена по агрегатному принципу, позволяющему просто и удобно собирать заданную систему управления различными параметрами из небольшого числа элементов аппаратуры. Функциональная схема системы «Кристалл» изображена на рисунке 6.

Рисунок 6 – Функциональная схема системы автоматики «Кристалл»:
1 - вентилятор; 2, 7, 9, 13 - регуляторы; 3 - зажигатель; 4 - регулирующий орган;
5 - горелка; 6 - топка; 8 - барабан котла; 10 - регулирующий клапан; 11 - насос;
12 - контрольно-измерительные приборы температуры; 14 - дымосос
Эта система обеспечивает автоматическое управление давлением пара и уровнем воды в барабане 8 котла, разрежением в топке 6, расходом воздуха и розжигом котла при помощи зажигателя 3, дистанционное управление электроприводами дымососа 14 и насоса 11 питательной воды, дистанционный контроль давления воздуха за вентиляторами, разрежения в топке и температуры выпускных газов. Световая сигнализация включается при повышении или понижении уровня воды в барабане котла, понижении давления воздуха и разрежения в топке, повышении давления пара и при аварийном отключении котла.
Система состоит из регулятора 7 давления пара в барабане 8 котла, регулятора 2 соотношения газа и воздуха, регулятора 13 разрежения в топке, регулятора 9 уровня воды с соответствующими датчиками и контрольно-измерительных приборов 12 температуры. Регуляторы 2, 7 и 13 оптимизируют процесс горения. Давление пара в котле характеризует соответствие между выработкой и потреблением пара. Например, при увеличении потребления пара давление падает и регулятор 7 выдает импульс регулирующему органу 4 на увеличение подачи топлива.
Для полного сгорания топлива в горелке 5 необходимо определенное количество воздуха, т.к. избыток воздуха повышает вынос теплоты с выпускными газами, а недостаток воздуха приводит к неполному сгоранию топлива. Следовательно, для обеспечения максимального КПД котельной установки необходим регулятор 2, поддерживающий заданное соотношение топливо—воздух. Регулятор 2 по сигналу от датчиков расхода топлива G1 и воздуха G2 управляет производительностью вентилятора.
Для полного удаления выпускных газов используется дымосос 14, который при помощи регулятора 13 обеспечивает заданное разрежение в верхней части топки. При избыточном разрежении увеличивается вынос теплоты через дымосос, при недостаточном — выпускные газы прорываются внутрь помещения котельной.
Уровень воды в барабане котла поддерживается постоянным при помощи регулятора 9, получающего сигнал об изменении уровня от манометра. При отклонении уровня от заданного значения регулятор 9 воздействует на регулирующий клапан 10.
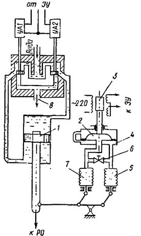
В аварийном режиме котел останавливают, прекращая подачу топлива при помощи клапана УА2, если произошло одно из следующих нарушений:
- снизилось или повысилось давление в системе подачи топлива или воздуха;
- резко уменьшилось разрежение в топке;
- повысилось давление пара;
- понизился или повысился уровень воды в барабане;
- погасло пламя в топке.
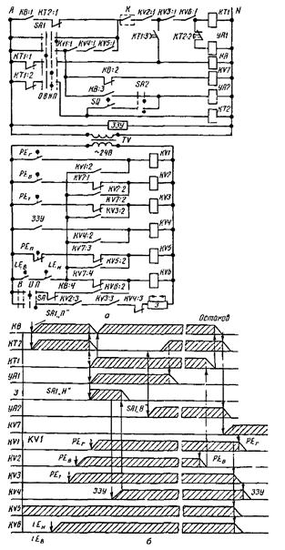
Для этого котел оборудуют соответствующими датчиками безопасности: давления газо- или жидкообразного топлива РЕТ, воздуха РЕВ разрежения газов в топке PEГ, давления пара PGП, верхнего LEB, нижнего LEH уровней воды в барабане котла, наличия пламени ЗЗУ (рисунок 7, а).
Схема управления системой «Кристалл» для котла ДКВР и устройств его защиты работает в соответствии с временной диаграммой (рисунок 7, б).

Рисунок 7 - Принципиальная электрическая схема системы «Кристалл» (а)
и временная диаграмма ее работы (б) при управлении котлом
При подаче на схему напряжения срабатывает только реле KV5 через замкнутый контакт датчика РЕП, остальные реле сигнализации отключены. Переводя переключатель SA1 в нормальное предпусковое положение Н, включают реле блокировки KB и реле выдержки времени КТ2, которое своими контактами (на рис. 7, а не показаны) исключает ложное срабатывание реле защиты KB1…KV6 из-за срабатывания датчиков вследствие колебаний контролируемых параметров в период подготовки котла к пуску. Затем оператор кнопочными постами включает питательный насос, заполняющий барабан водой, дымосос, дутьевой вентилятор, продувку топливопроводов (на рис.7 эти элементы не показаны).
По мере достижения указанными параметрами заданных значений срабатывают датчики LEB, LEH, PEГ, PEВ и включают соответственно реле KV6, KV3 и KV2. Для розжига топки от запальников переключатель SA1 переводят в положение П (Пуск), при котором срабатывают реле выдержки времени KT1 но цепи К (из схемы управления дымососом) — KV2:1 — КV3:1 — KV6:1, электромагнит УА1 клапана топлива на запальнике и электроискровой зажигатель 3. Одновременно отключаются реле KB и КТ2, но реле KB вновь включается замыкающими контактами КТ1:3.
Далее переключатель SA1 переводят в положение В (Включено) и вручную полностью открывают электромагнит УА2 отсечного клапана (см. рисунок 6) на топливопроводе. При этом замыкаются контакты SQ (см. рисунок 7). Одновременно срабатывает реле КТ2, которое с выдержкой времени снимает напряжение с пускового электромагнита УА1, и последний закрывается. На этом пуск заканчивается.
Для нормального останова переводят переключатель в положение О (Отключено). Аварийный останов происходит при срабатывании соответствующих устройств защиты. Например, при снижении давления воздуха за дутьевым вентилятором размыкаются контакты РЕВ датчика давления и реле KV2 отключается. Затем отключаются другие элементы схемы в последовательности, показанной на рисунке 7, б.
Регуляторы в системе «Кристалл» выполнены по функционально-структурной схеме, показанной на рисунке 8, а.
а)
б)
Рисунок 8 – Функционально-структурная схема регулятора системы «Кристалл» (а) и схема его гидравлических и пневматических узлов (б): 1 - поршень; 2, 4 - полости мембранной коробки; 3 - датчик; 5, 7 - сильфоны; 6 - дроссель; 8 - сливное отверстие
Регулятор состоит из датчика Д, задатчика Зд, электронного усилителя ЭУ, электрогидравлического реле ЭГР, пневматического устройства обратной связи УОС и гидравлического исполнительного механизма ГИМ. Регулятор позволяет управлять параметрами по П-, И-, ПИ-законам регулирования. Усилитель ЭУ воспринимает сигнал разбаланса датчиков и задатчика. Сигнал разбаланса после усиления поступает на электрогидравлическое реле ЭГР, управляющее электрогидравлическим исполнительным механизмов ГИМ.
При отсутствии рассогласования обмотки электромагнитов УА1 и УА2 гидравлического реле (рисунок 8, б) отключены от электронного усилителя. Связанные с их сердечниками клапаны опущены и перекрывают отверстия 8 для слива воды. Поршень 1 неподвижен, так как давление с обеих его сторон одинаковое.
При появлении сигнала рассогласования срабатывает один из электромагнитов ЭГР, например УА1, поднимая клапан. Нижняя полость исполнительного механизма соединяется со сливом 8, и поршень начинает перемещаться вниз под действием давления воды в верхней полости, воздействуя на регулирующие органы (РО). Одновременно перемещаются рычаги обратной связи, сжимая сильфон 5 и растягивая сильфон 7. Вследствие этого давление внутри полости 2 мембранной коробки понижается, а снаружи в полости 4 — повышается, в результате чего сердечник дифференциально-трансформаторного датчика 3 смешается вниз и к усилителю ЭУ поступает сигнал от гибкой обратной связи.
Полости сильфонов 5 и 7 соединены регулируемым дросселем 6. Благодаря этому давления в полостях 2 и 4 постепенно выравниваются, сердечник датчика 3 возвращается в исходное состояние и интегральная составляющая сигнала исчезает. При открытом дросселе 6 регулятор работает по ПИ-закону, а при закрытом — по П-закону, поскольку в последнем случае появляется жесткая связь.
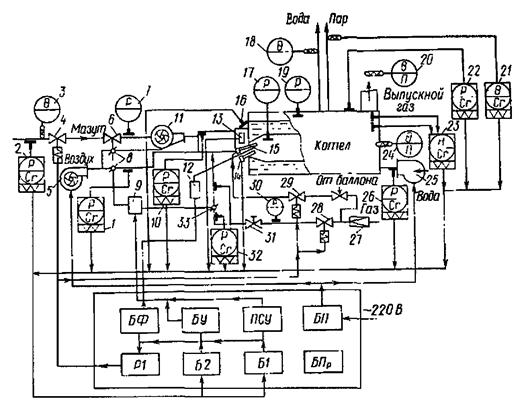
Систему автоматики «Курс» используют для автоматизации котлов тепличных комбинатов. Функциональная схема системы показана на рисунке 9.

Рисунок 9 - Функциональная схема автоматизации котла
типа АВ для тепличного комбината:
1, 10 - сигнализаторы давления воздуха; 2 - сигнализатор давления мазута; 3 – датчик температуры мазута; 4, 28, 29 - отсечные клапаны; 5, 11 - вентиляторы;
6 - регулирующий клапан жидкого топлива; 7, 17, 19, 30 - приборы контроля давления соответственно мазута, газов в топке, пара и газа для розжига котла; 8 - дроссельные заслонки; 9 - исполнительный механизм; 12 - трансформатор зажигания; 13 - фотодатчик; 14 - ионизационный датчик; 15 - запальник; 16 - конечный выключатель;
18, 20, 24 - датчики температуры соответственно воды, выпускных газов и газов в топке; 21 - сигнализатор температуры пара; 22, 26 - сигнализатор давления соответственно пара и воды; 23 - сигнализатор уровня воды; 25 - электронасос; 27 - регулятор давления газа; 31 - вентиль; 32 - сигнализатор давления газа до и после регулирующей заслонки;
33 - регулирующая заслонка
Она обеспечивает автоматический пуск и останов котла, предварительную вентиляцию топки, автоматический розжиг котла, позиционное автоматическое регулирование теплопроизводительности котла, автоматические блокировку и защиту при аварийных режимах, рабочую и аварийную сигнализации. Возникновение ненормальных и аварийных режимов сопровождается звуковой сигнализацией.
Применение системы «Курс» обеспечивает полную автоматизацию котла, его надежную и экономичную работу без постоянного дежурного персонала. Система «Курс» работает в комплекте с общепромышленной контрольно-измерительной и регулирующей аппаратурой:
- сигнализаторами давления воздуха 1 и 10, мазута 2, пара 22, воды 26, газа 32 до и после регулирующей заслонки 33, сигнализатором 23 уровня воды, датчиками температуры мазута 3, воды 18, выпускных газов 20, газов в топке 24, сигнализатором 21 температуры пара, приборами контроля давлений мазута 7, газов в топке 17, пара 19 и газа для розжига 30.
Уровень воды в котле поддерживается при помощи электронасоса 25.
Газ подается в котел через регулятор 27 давления газа, отсечной клапан 28 и вентиль 31. При розжиге топки газ поступает из газового баллона через отсечной клапан 29 и запальник 15. Воздух в топку подается вентиляторами 5 и 11. Резервное жидкое топливо (мазут) распыляется ротационной форсункой, имеющей общий электропривод с вентилятором 5. На трубопроводе жидкого топлива установлены отсечной 4 и регулирующий 6 клапаны. Газ воспламеняется в запальнике 15 от искры, получаемой на электродах от трансформатора зажигания 12. Наличие пламени в запальнике контролируется ионизационным датчиком 14, а в основной горелке — фотодатчиком 13. Плотность закрытия топки контролируется конечным выключателем 16.
Процессом горения в топке управляют при помощи исполнительного механизма 9, воздействующего на положение газовой заслонки 33, или клапана 6 жидкого топлива и дроссельных заслонок 8, изменяющих расход воздуха.
Управляющее устройство системы «Курс» состоит из отдельных блоков и панелей. Поступающая от датчиков информация обрабатывается в блоках Б1 и Б2 и направляется на панель сигнализации и управления ПСУ, блок управления БУ, блок реле Р1 и блок управления факелом БФ. Переключатели вида топлива, режима и резервного оборудования размещены в блоке переключателей БП. Электроснабжение всех цепей управления осуществляется от блока питания БП.
Котел пускают, нажимая кнопку «Пуск» на панели системы «Курс» после заполнения котла водой и включения вентилятора, подающего воздух в топку. При этом исполнительный механизм 9 перемещает органы, регулирующие поступление топлива и воздуха, в положение 100%-й нагрузки и начинается вентиляция топки и газоходов котла, которая продолжается 1…2 мин. По истечении этого времени от блока управления БУ поступает сигнал на исполнительный механизм 9, осуществляющий перевод воздушной заслонки и регулирующего органа топлива в положение 20%-й нагрузки. Блок реле Р1 выдает сигнал на открытие нормально закрытого отсечного клапана 29 и закрытия продувочного клапана (на рис. 9 не показан). Одновременно от блока БФ включается трансформатор зажигания 12. При появлении пламени в запальнике 15 от ионизационного датчика 14 поступает в блок Б1 и реле Р1 сигнал на открытие отсечного клапана 28, подводящего газ к горелке. При успешном розжиге горелки сигнал от фото датчика 13 поступает через блоки Б2 и БУ на исполнительный механизм 9, который через 20…25 с перемещает регулирующие органы в положение 40%-й нагрузки. Запальник 15 отключается через 50…70 с. После этого котел переводят переключателем, установленным на панели системы «Курс», в режим автоматического регулирования параметров котла. На этом пуск котла заканчивается.
Автоматическая система регулирования обеспечивает перемещение регулирующих органов в положения 40- и 100%-й нагрузки и автоматического отключения подачи воздуха и топлива. При максимальных значениях температуры воды или давления пара исполнительный механизм переходит из положения 100%-й нагрузки в положение 40%-й нагрузки, а при достижении максимальных предельно допустимых значений система при помощи отсечного клапана 28 или 4 прекращает подачу топлива. При этом исполнительный механизм занимает положение 20%-й нагрузки, пламя в топке гаснет и начинается послеостановочная вентиляция котла, которая автоматически отключается через 30...60 с. При снижении регулируемого параметра до предельного минимального значения котел автоматически включается в соответствии с изложенной выше последовательностью пуска.
Работу котла останавливают дистанционно с помощью кнопки «Стоп», расположенной на панели. Последовательность нормального останова аналогична описанному выше автоматическому отключению котла. Аварийное автоматическое отключение котла происходит в следующих ситуациях:
- при максимальном и минимальном предельных уровнях воды в котле;
- температуре воды выше 97 °С или давлении пара до 0,21 МПа (котел АПВ-2);
- давлении газа перед клапанами-отсекателями и перед горелкой ниже 1 кПа, а перед регулирующей заслонкой выше 35 кПа;
- давлении первичного воздуха ниже 1,1 кПа или вторичного ниже 0,15 кПа. При аварийном отключении повторный пуск котла возможен только после устранения причины останова.
Система «Курс» оснащена устройствами световой сигнализации положения регулирующих органов, контроля всех параметров в нормальном и аварийном режимах, памяти причин аварии и общей звуковой аварийно-предупредительной сигнализации.
5. АВТОМАТИЗАЦИЯ ЭЛЕКТРИЧЕСКИХ УСТАНОВОК ДЛЯ ПОДОГРЕВА ВОДЫ, ВОЗДУХА И ПОЛУЧЕНИЯ ПАРА
Электронагревательные установки широко применяют в СХП благодаря их преимуществам, основные из которых следующие:
- постоянная готовность к действию и исключение использования огневых котельных со специальными помещениями для котлов и хранилищ топлива, транспортировки топлива и золы;
- возможность полной автоматизации процессов нагрева;
- улучшение санитарно-гигиенических условий обслуживающего персонала;
- облегчение в распределении теплоты по большим территориям;
- уменьшение себестоимости тепловой энергии и пожарной опасности.
Для подогрева воды используют установки:
- электродные прямого нагрева путем пропускания тока через воду;
- элементные косвенного нагрева при помощи тепловых электронагревательных элементов (ТЭН);
- установки индукционного и диэлектрического нагрева (последние в сельском хозяйстве применяют редко).
Элементные водонагреватели используют теплоту, выделяющуюся при прохождении электрического тока через активный резистор (ТЭН). Некоторые конструкции (ВЭТ, УАП, САОС) рассчитаны на аккумуляцию нагретой воды, а иные — проточного типа (ВЭП, ЭПВ). На рисунке 10 представлена схема автоматизации аккумуляционного водонагревателя типа САЗС.


Рисунок 10 - Элементный водонагреватель СA3С (а)
и принципиальная электрическая схема управления им (б):
1 - циркуляционный насос; 2 - изоляционная вставка; 3 - трубопровод
горячей воды; 4 - термометр; 5 - шкаф управления; 6 - резервуар; 7 - блок электронагревателей; 8 - трубопровод холодной воды
Водонагреватель представляет собой металлический резервуар с хорошей тепловой изоляцией и расположенными в нижней его части элементами ТЭН 7 (см. рисунок 10, а). Объем резервуара 0,4 или 0,8 м3, а мощность нагревателей соответственно 12 или 18 кВт.
Холодная вода из водопровода поступает в резервуар 6 через нижний трубопровод 8, а разбирается через верхний 3. В комплект САЗС входит циркуляционный насос 1, что позволяет водонагревателю работать в замкнутых системах автопоения животных, отопления и др.
Типовое решение по автоматизации таких нагревателей — применение двухпозиционного устройства контроля температуры УКТ (см. рисунок 10, б) с контактным (иногда бесконтактным) выходом.
Нагреватель включают, нажимая кнопку SB2. При этом напряжение подается на УКТ, основой которого является контактный термометр и реле К1. Если температура воды в корпусе нагревателя ниже заданной, включается реле К1 и контактами К1:2 подаётся напряжение на терморегулятор ВК, который включает KM1 и нагревательные элементы EK1…EK3. Нагрев длится до выхода температуры воды на заданный уровень и размыкания контактов ВК.
В случае нарушения описанного алгоритма и аварийного подъема температуры до 95 °С устройство УКТ обесточивает реле К1 и нагреватель отключается.
Электродвигатель М циркуляционного насоса 1 включается переключателем SA. Более мощные элементные нагреватели имеют две группы ТЭНов, расположенных одна над другой и управляемых раздельно. Это позволяет осуществить два режима: форсированный (работают обе группы) и аккумуляционный (работает только нижняя группа).
Электродные водонагреватели прямого нагрева характеризуются простотой устройства, большой скоростью нагрева и высоким КПД.
Они используют теплоту, выделяющуюся при прохождении электрического тока через воду. Мощность нагревателя регулируется специальными экранами, изменяющими активную площадь электродов. Типовое решение по автоматизации электродного водонагревателя (КЭВЗ, ЭПЗ и т.д.) — применение двухпозиционного режима, т. е. аналогично элементному водонагревателю. Новое решение — использование автоматического регулятора непрерывного действия для перемещения экранов с помощью исполнительного механизма.
Электродная группа водонагревателя состоит из трех фазных и трех подвижных электродов, выполненных из стальных труб. Диапазон плавного регулирования мощности 25…100 %.
Электродные водонагреватели используют в одном из трех режимов:
- стабилизация температуры воздуха в отапливаемом помещении;
- стабилизация температуры воды за котлом tВЫХ;
- стабилизация соотношения tВЫХ с наружной температурой tНАР.
Нужный режим выбирают с помощью кнопочного переключателя на панели регулятора. В случае выбора режима стабилизации соотношения tВЫХ – tНАР специальным переключателем выбирают также наклон температурного графика tВЫХ = f (tНАР). Такое представление выходных сигналов позволяет совместно с исполнительным механизмом регулировать мощность электроводонагревателя по ПИ-закону.
Схема управления электроводонагревателем предусматривает защиту от КЗ, перегрузки (с помощью токового реле) и неполнофазного режима (с помощью блока защиты).
Защита от перегрева сначала уменьшает мощность нагревателей до 25 % номинальной, а затем отключает водонагреватель при температуре воды в выходном патрубке выше 100 °С.
Схема управления электроводонагревателем обеспечивает также дистанционное включение электроводонагревателя от внешнего устройства (в том числе с учетом загрузки электросети), блокировку от включения при неработающем циркуляционном насосе, световую сигнализацию режимов работы и аварийного отключения.
Электродные водонагреватели относятся к сложным и небезопасным установкам, поэтому к их конструкции и условиям эксплуатации предъявляют особые требования.
Электрические парогенераторы используют в разнообразных ТП, требующих применения пара.
Пар реализуется во многих современных ТП, где предусмотрено уплотнение (грануляция) различных кормов и кормовых смесей, подогрев жидких компонентов (мелассы, жира и т. п.), вюдимых в кормовую смесь. Кроме кормопроизводства пар широко используют на молочных фермах для пастеризации молока в процессе его переработки и получения горячей воды для санитарно-гигиенических нужд.
Электродные парогенераторы имеют своеобразную конструкцию и интересные схемы автоматизации.
Цилиндрический корпус котла имеет в днище люк, закрываемый крышкой, служащий для монтажа пакета фазных электродов 2 (рисунок 11).

Рисунок 11 – Электродный паровой котел:
1 - регулятор уровня; 2 - электроды; 3 – вытеснительная камера; 4 - паровая камера;
5 – предохранительный клапан; 6 – электромагнитный клапан
К корпусу котла присоединяется поплавковый регулятор уровня 1 с патрубками для питания котла водой в автоматическом и ручном режимах. Внутри корпус котла разделен на две камеры: паровую 4 и вытеснительную 3, сообщающиеся между собой через уравнительный трубопровод с электромагнитным клапаном 6.
По мере работы котла вода испаряется, солесодержание ее растёт и электропроводность возрастает в несколько раз. В результате увеличиваются мощность котла, давление пара и температура. В этом случае регулятор давления PC закрывает клапан 6, разобщает паровую и вытеснительную камеры. Повышенным давлением часть воды из паровой камеры 4 перемешается в вытеснительную 3, электродные пластины 2 оголяются и мощность котла снижается.
При большом снижении нагрузки давление пара растёт и электродные пластины оголяются полностью, а котел переходит в режим «горячего» резерва.
По мере понижения уровня в вытеснительной камере поплавковый регулятор обеспечивает подпитку котла водой.
Для предохранения корпуса котла от недопустимого повышения давления на паровой и вытеснительной камерах устанавливают предохранительные клапаны 5. В отдельных случаях электроводонагреватели и (или) электродные паровые котлы объединяют в общую тепловую схему и размещают в специальном помещении, образуя электрокотельную. Электрические котельные реализуют идею комплексной электрификации централизованного теплоснабжения: отопления, горячего водоснабжения, а иногда и вентиляции производственных помещений.
Схема автоматизации электрической котельной с аккумуляцией теплоты для теплоснабжения фермы с прилегающим жилым помещением представлена на рисунке 12.

Рисунок 12 – Функциональная схема автоматизации электрокотельной:
1 - электродные котлы; 2 - бак-аккумулятор горячей воды; 3 - сетевые насосы;
4 - водяной теплообменник системы горячего водоснабжения;
5, 6 - регулирующие клапаны; 7 - грязевик
Сетевая вода, нагреваясь в электродных котлах 1, поступает в бак-аккумулятор 2, откуда сетевыми насосами 3 перекачивается в подающую магистраль тепловой сети. Часть этой воды направляется в водяной теплообменник 4 для нагрева чистой водопроводной воды, поступающей затем в систему горячего водоснабжения. Температура нагрева поддерживается регулятором ТС, управляющим расходом греющей воды через теплообменник.
Подпитка тепловой сети водопроводной водой производится регулятором LC, поддерживающим уровень воды в баке-аккумуляторе.
Основу схемы автоматизации котельной составляют комплектные системы автоматизации отдельных водонагревателей, рассмотренных ранее.
Суть дополнительных связей сводится к следующему.
Программное реле времени обеспечивает работу электрокотельной по заданному графику, исключающему включение котлов в работу в часы максимума нагрузки. В то же время при снижении температуры воды в тепловой сети до аварийно низкого уровня, при котором возможно замораживание теплопроводов, котлы автоматически вводятся в работу.
В схему включения котлов вводят устройства блокировки, исключающие работу котлов в случае прекращения циркуляции воды (отключения сетевых насосов) и автоматически вводящие резервный насос взамен остановившегося.
С целью обеспечения безопасной эксплуатации электродные котлы устанавливают на изоляторах в защитных шкафах из металлической сетки. Корпуса котлов к нулевому проводу не присоединяют и не заземляют. Трубопроводы горячей и холодной воды соединяют с корпусом электродного котла посредством изолирующих вставок.
Для подогрева воздуха используют электрокалориферы, автоматизация которых рассмотрена в ЛЕКЦИЯ 13-3, ТЕМА 8, вопрос 4 – рисунок 10.
6. АВТОМАТИЗАЦИЯ СИСТЕМ СХ-ного ГАЗОСНАБЖЕНИЯ
Газоснабжение сельских потребителей осуществляется от газовых сетей среднего давления (до 0,3 МПа). Внутрихозяйственные системы газоснабжения состоят из газорегуляторного пункта (ГРП), системы распределительных газопроводов и аппаратуры, обеспечивающих приём, учёт, дросселирование, раздачу газа потребителям.
Газорегуляторный пункт (рисунок 13) служит для понижения давления газа до требуемого по условиям эксплуатации уровня и для автоматической стабилизации этого параметра. Основная причина отклонения параметра от нормы — изменение количества потребляемого газа.

Рисунок 13 - Схема газорегуляторного пункта:
1, 9 - клапаны; 2 - фильтр; 3 - предохранительно-запорный клапан; 4 - регулятор давления; 5, 7 - свечи; 6 - обводная линия; 8 - предохранительный сбросной клапан
Газ из питающей магистрали среднего давления поступает в корпус фильтра 2, где происходит его очистка от механических примесей (песка, окалины и т. д.), и через предохранительно-запорный клапан 3, обеспечивающий защиту оборудования от недопустимо больших колебаний давления газа за ГРП. Далее газ подается к регулятору давления 4 и затем к газосжигающим устройствам потребителя. Свеча 5 служит для продувки трубопроводов ГРП при включении оборудования. При резком повышении давления газа, например, при отключении части потребителей, срабатывает регулятор давления PC и избыток газа выпускается в атмосферу через предохранительный сбросной клапан 8 и свечу 7.
Если основное оборудование ГРП подлежит ремонту или профилактическому обслуживанию, газоснабжение потребителей обеспечивается через обводную линию 6 при закрытых клапанах 1 и 9.
Правила безопасности в газовом хозяйстве предусматривают контроль давления на входе и выходе ГРП и измерение расхода газа.
Понижение давления газа и стабилизация этого параметра осуществляются пропорциональным регулятором давления типа РДУК (рисунок 14, а), объединяющего командный прибор «пилот» 6 и мембранный исполнительный механизм с регулирующим клапаном 5.
Увеличение (уменьшение) потребления газа приводит соответственно к уменьшению (увеличению) давления газа в надмембранной полости прибора 6, соединенной с трубопроводом импульсной трубкой 9. При этом мембрана перемещается вверх (вниз) под действием пружины 8.

Рисунок 14 - Оборудование газорегуляторного пункта:
а — регулятор давления: 1, 4, 9 - импульсные трубки; 2 - исполнительный механизм;
3, 7 - мембраны; 5 - регулирующий клапан; 6 - командный прибор «пилот»; 8 – пружина задатчика; б — предохранительно-запорный клапан: 1 - импульсная трубка;
2 - пружина; 3 - коромысло; 4 - молоток; 5 - подмембранная полость; 6 - рычаг с грузом;
в — сбросной клапан: 1 - мембрана; 2 - пружина
Перемещение мембраны 7 и связанного с ней клапана прибора «пилот» приводит к увеличению (уменьшению) давления газа в импульсной трубке 1 и мембранной полости исполнительного механизма 2, перемещению мембраны 3 вверх (вниз) и соответственно открытию (закрытию) регулирующего клапана 5 на величину, пропорциональную отклонению давления газа.
Пропорциональный (П) закон регулирования обеспечивается жесткой обратной связью, охватывающей ИМ и выполненной в виде трубки 4, соединяющей выходной коллектор регулятора с надмембранной полостью ИМ. Действие обратной связи проявляется в том, что при перемещении клапана 5 изменяющееся давление в выходном коллекторе создает соответствующее усилие, направленное навстречу воздействию мембраны 3 исполнительного механизма.
Параметр настройки П-регулятора (коэффициент пропорциональности) устанавливается на заводе подбором соответствующих сечений дросселей и в процессе эксплуатации ГРП обычно не меняется.
Предохранительно-запорный клапан (рисунок 14, б) предназначен для автоматического прекращения подачи газа потребителю в случае аварийного отклонения давления от заданного уровня.
Подмембранная полость 5 клапана соединена трубкой 1 с выходным коллектором ГРП. При аварийных отклонениях давление р К вызывает перемещение мембраны и связанного с ней штока к повороту коромысла 3, правое плечо которого служит упором для молотка 4. Поворот коромысла освобождает молоток, который, падая, освобождает рычаг с грузом 6, закрывающий клапан и прекращающий подачу газа. С целью настройки клапана изменяют степень сжатия пружины 2.
Предохранительный сбросной клапан (рисунок 14, в) обеспечивает сброс в атмосферу избыточного давления газа в случае повышения его давления до недопустимых значений. Настраивают сбросной клапан, изменяя степень сжатия пружины 2, противодействующей давлению газа на мембрану 1. При этом сбросной клапан должен сработать раньше предохранительно-запорного и предотвратить, таким образом, отключение ГРП и прекращение подачи газа.
7. АВТОМАТИЗАЦИЯ СИСТЕМЫ ЭЛЕКТРОСНАБЖЕНИЯ СЕЛ.-ХОЗЯЙСТВА
Без автоматических устройств зашиты и блокировки, управления и регулирования, измерения и сигнализации человек не в состоянии быстро обнаружить и устранить повреждения, а также управлять быстропротекающими технологическими процессами в электроснабжающих установках.
Благодаря автоматизации повышаются обеспечение бесперебойного электроснабжения сельских потребителей и надежность работы электрооборудования, сокращаются количество обслуживающего персонала и эксплуатационные расходы, возрастают качество электрической энергии и скорость управления технологическими процессами, снижаются потери и себестоимость вырабатываемой электроэнергии, улучшаются условия работы обслуживающего персонала.
В установках сельского электроснабжения широко применяют различные устройства автоматики энергосистем.
Автоматическая защита предохраняет электрические установки от ненормальных (перегрузки, снижение или повышение напряжения и частоты) и аварийных (короткие замыкания, неполнофазные режимы, атмосферные перенапряжения и т. п.) режимов. Устройства защиты выполняют в виде плавких предохранителей, тепловых расцепителей магнитных пускателей, тепловых и электромагнитных расцепителей автоматов и различных реле.
Автоматическое секционирование сетей позволяет сохранить электроснабжение основной массы потребителей за счет автоматического отключения поврежденного участка сети и части потребителей, питающихся от этого участка.
Автоматическое повторное включение (АПВ) обеспечивает сохранность электроснабжения за счет автоматического отключения поврежденного участка на короткое время, за которое повреждения самоустраняются. Обычно такие преходящие (неустойчивые) короткие замыкания наблюдаются в линиях электропередачи. Благодаря АПВ число перерывов в снабжении потребителей электрической энергией значительно снизилось. До 80 % общего числа потребителей, отключенных при возникновении коротких замыканий, успешно автоматически повторно включаются в эксплуатацию. Это объясняется тем, что в период бестоковой паузы (от долей секунды до нескольких секунд) КЗ самоустраняются, поскольку электрическая прочность поврежденного элемента изоляции при кратковременном отключении в большинстве случаев восстанавливается.
Устройства АПВ бывают одно-, дву- и трехкратными. Последние дважды и трижды включают сети после аварийного отключения линии защитой. Многократные устройства АПВ значительно сложнее однократных, поэтому их применение в сельском электроснабжении может быть оправдано лишь на ответственных установках.
Автоматическое включение резерва (АВР) обеспечивает бесперебойность электроснабжения посредством быстрого автоматического отключения релейной защитой поврежденного оборудования и включения резервного оборудования или источника электроэнергии.
Если АПВ повторно включает линию электропередачи, то АВР включает резервный источник электроэнергии (силовой трансформатор, резервную электросеть или дизельную электростанцию) при выходе из работы основного.
Устройства АВР относительно простые, и стоимость их незначительна, поэтому экономический эффект от их внедрения существенно заметен. Устройства АВР эффективно используют при электроснабжении животноводческих комплексов, которые имеют часть потребителей первой и второй категорий.
Продолжительность действия устройств АПВ и АВР в общем случае ограничивается следующими условиями:
- время бестоковой паузы tП должно быть больше времени деионизации среды tД в месте короткого замыкания и меньше времени tС, обеспечивающего самозапуск включенных двигателей после восстановления напряжения: tД < tП < tС. Время tП для АВР рекомендуется принимать равным 0,5…1,5 с, для однократного АПВ — 0,5…2 с, для двукратного АПВ во втором цикле — 10…15 с.
При оперативном отключении источников электроснабжения устройства АПВ и АВР выводятся из работы.
Автоматическая частотная разгрузка (АЧР) источника электроснабжения предотвращает чрезмерное снижение частоты, угрожающее развитием аварии, путем принудительного автоматического отключения малоответственных потребителей при снижении частоты из-за дефицита мощности. Устройства АЧР при снижении частоты до 40…47 Гц (в зависимости от конкретных энергосистем) поочередно отключают неответственные потребители такой суммарной мощностью, чтобы частота восстановилась до 48...49,5 Гц. Сельские электропотребители пока не оснащены устройствами АЧР, хотя для животноводческих комплексов они обязательны.
Автоматическое регулирование возбуждения генераторов и напряжения в сетях обеспечивает поддержание напряжения у электропотребителя на заданном уровне. Для сельских потребителей допускается такое же отклонение напряжения, как и для промышленных потребителей (± 5 %).
Заданное напряжение на шинах электростанций обеспечивается регуляторами возбуждения генераторов, на шинах подстанций — устройствами автоматического переключения под нагрузкой ответвлений силового трансформатора, в электросетях и непосредственно у электропотребителя — статическими конденсаторами, которые одновременно используют как компенсаторы реактивной индуктивной мощности.
Устройства автоматики для автоматического пуска и останова электрогенерирующих агрегатов, автоматического включения генераторов на параллельную работу, регулирования частоты и распределения активной мощности между параллельно работающими агрегатами применяют на дизельных, гидравлических и ветровых электростанциях сельскохозяйственного назначения, в том числе используемых в качестве резервных источников.
Кроме того, в установках сельского электроснабжения широко используются различного назначения автоматические устройства измерения, контроля и сигнализации, позволяющие обслуживающему персоналу следить за режимами работы установок и быстро определять причину и нарушения нормального режима и место аварий.
8. АВТОМАТИЗАЦИЯ БЫТОВЫХ УСТАНОВОК И ОБОРУДОВАНИЯ ФЕРМЕРСКИХ ХОЗЯЙСТВ С ПРИМЕНЕНИЕМ МИКРОПРОЦЕССОРНОЙ ТЕХНИКИ
Бытовые установки и фермерское оборудование предназначены для удовлетворения потребностей человека, улучшения условий труда, повышения культуры и комфортности его жизненной деятельности. В современных условиях уже трудно представить использование бытовой и фермерской техники без применения автоматических и микропроцессорных средств контроля, сигнализации, управления.
Классическим системам автоматизации, построенным на основе релейно-контактных схем, присущи «жесткие» логика функционирования и алгоритмы управления. Любые изменения последних (например, вследствие совершенствования оборудования, технологических операций) требуют выполнения значительного объема работ по изменению электрических схем, их монтажу, вводу новых элементов. Кроме того, используемая для этих целей элементная база, построенная на жесткой логике, характеризуется ограниченными функциональными во