Крупноблочные дома обычно проектируют бескаркасными на основе конструктивных схем:
- с продольными несущими стенами для зданий до 5 этажей;
- с поперечными несущими стенами - для многоэтажных;
- комбинированными наиболее распространена, так как позволяет применять для устройства перекрытий однотипные железобетонные настилы, элементы которых укладываются поперек здания, опирая их на наружные и внутренние продольные стены.
Стены из блочной конструкции по месторасположению подразделяют на простеночные, подоконные, перемычечные, парапетные, поясные, подкарнизные, цокольные, рядовые (рас. 5.25, 5.26).
По схеме разрезок фасада настенные блоки различают двухрядную, трехрядную и четырехрядную разрезки. Для зданий с высотой
этажа 2,8 м рекомендуется применять блоки с двухрядной разрезкой, а с высотой этажа 3,3 м, наряду с двухрядной, применяют трех- и четырехрядные разрезки (рис. 5.25).
По числу основных слоев наружные блоки бывают одно- и двухслойными (табл.5.3).
Наружные однослойные стеновые блоки рекомендуется проектировать сплошного сечения из легкого бетона на пористых заполнителях с
плотностью до 1600 кг/м3 и автоклавного ячеистого бетона плотностью до 800 кг/м3 (табл.5.4).
Для наружных двухслойных стен внутренний изолирующий слой рекомендуется выполнять из тяжелого бетона, а наружный утепляюший слой из легкого бетона. Толщина изолирующего слоя стеновых блоков должна быть не менее 50 мм.
Внутренние стены выполняются, как правило, однослойными из тяжелого или легкого бетона (рис. 5.26,6,).
Толщина наружных блоков устанавливаются согласно статическим, теплотехническим и экономическим расчетам. Их можно принимать равным 200, 250, 300, 350, 400, 500, 550 и 600 мм.
Толщину внутренних стен устанавливают в соответствии с требованиями статической надежности, огнестойкости и звукоизоляции и принимают от 160 до 300 мм кратно модулю М, М/2 и М/5.
Элементы крупноблочных зданий проектируются согласно номенклатуре конструкций и изделий, предусмотренных СТБ и бывшим Общесоюзным каталогом индустриальных изделий (табл. 5.3-5.4).
В крупноблочных зданиях особое внимание уделяется узлам сопряжения блоков между собой.

Рис. 5.25. Схема разрезок наружных стен на блоки:
а, г – двухрядная; б – трехрядная; в – четырехрядная; 1 – подоконный блок; 2- перемычечный блок; 3- простеночный блок;4 блоки лестничной клетки; 5- панель перекрытия; 6 – блоки внутренней стены.
В зданиях высотой до 5 этажей крупные легкобетонные блоки связывают между собой специальными стальными анкерами, привариваемыми к закладным деталям, или арматурными сетками. Вертикальные пазы блоков замоноличивают цементным раствором.
В зданиях высотой более 5 этажей крупные легкобетонные блоки связывают между собой при помощи анкеров из круглой арматурной стали, закрепляемых за подъемные петли блоков, и панелей перекрытий (рис. 5.27-5.28).
Вертикальные стыки крупных блоков наружных стен необходимо заполнять бетоном класса В7, В5 или раствором марки не менее 100.

Рис. 5.26. Детали стен из крупных легкобетонных блоков:
а,б – наружные и внутренние стены; в,г – парапет в здании с чердаком и без
чердака; 1 – простеночные рядовые и угловые блоки; 2 – перемычечный блок; 3
– подоконный блок; 4 – блок внутренней стены; 5 – блок внутренней стены с
дверью; 6 – парапетный блок; 7 – панель покрытия; 8 – панель перекрытия; 9 – перемычечный блок.
Горизонтальные швы выполняются толщиной не более 20 мм.
Перекрытия укладывают на стены по слою раствора.
Блоки внутрениих стен соединяют между собой сваркой анкеров и накладок, предусмотренных по верху блоков.
Ввиду малой прочности соединительных стальных элементов между блоками, а также небольшого количества закладных деталей в пределах
высоты блоков крупноблочные здания рекомендуется в основном для строительства в несейсмических районах.
Таблица 5.3.
Кординационные размеры крупных блоков наружных стен
| Типы блока по виду стены | Типы блока по назначению | Координационные размеры, мм | ||
| Длина | Высота | Толщина | ||
| Наружный | Простеночный цокольный, рядовой | 400, 600, 900, 1000, 1200, 1300, 1500, 1500, 1800, 2100, 3000 | 300, 1000, 1200, 1600, 1800, 2200, 2500, 2700, 2800, 3000, 3300, 3900 | 350-600 |
| Подоконный | 900, 1200, 1500, 1800, 2100, 2400 | 600, 800, 900, 1500 | 320-600 | |
| Перемычечный, поясной | 2100, 2400, 2700, 3000, 3300, 3600 | 600, 800 | 400-600 | |
| Подкарнизный | 400, 900, 1200, 1500, 1800, 3000, 3300 | 900, 1200, 2400, 2700 | 400-800 | |
| Наружные | Карнизные плиты рядовые | 1100, 1500, 1800, 2100, | 750, 900, 1000 | 70-90 |
| То же, угловые | 2300, 2400, 2500 | 750, 900, 1000 | 70-90 | |
| Прапетные | 2400, 2700, 3000, 3300, 3600 | 400, 500, 600 |
Таблица 5.4.
Кординационные размеры крупных блоков внутренних стен
| Типы блока по виду стены | Типы блока по назначению | Координационные размеры, мм | ||
| Длина | Высота | Толщина | ||
| Внутренний | Простеночный, рядовой, блоки лестничной клетки | 400, 600- 2700 | 1100, 2100, 2500, 2800, 3000, 3300 | 160, 200, 250, 300 |
| Перемычечный, поясной | 900-3300 | 300-600 | 160, 200, 250, 300 | |
| Блоки чердака | 4200, 6000 | 1000, 1500, 1900, 2000 | ||
| Вентиляционные блоки |

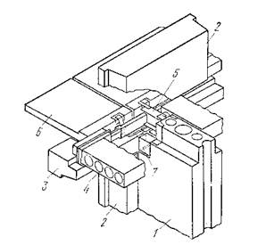
Рис. 5.27.Узлы сопряжения блоков
а - простеночных угловых блоков наружных стен с рядовыми блоками; 6 - рядовых блоков наружных стен друг с другом; в - рядовых блоков наружных стен с внутренними стеновыми блоками; г, д —рядовых блоков с подоконными блоками наружных стен; I — простеночный угловой блок; 2 — то лее рядовой; 3 —рядовой блок внутреннего угла; 4 — подоконный блок; 5 — блок внутренней стены; 6 — легкий бетон; 7 — стальной анкер; 8 ~ закладная деталь; 9 - защитное покрытие; 10-герметик; 11 -утеплитель; 12-два слоя рубероида; 13 — конопатка; 14 —цементный раствор; 15 —поясной или цокольный блок
Блоки из ячеистого бетона применяют при двухрядной разрезке для самонесущих стен.
Кирпичные блоки применяют редко для стен 2-х – 4-х рядной разрезки.
Крупные блоки из природного камня применяют при 2-х – 4-х рядной разрезке, где сырье для них явялется местным материалом.
При двухрядной разрезке первый ряд состоит из простеночных и подоконных блоков, второй – из из перемычечных и поясных. Кроме тгог, применяют цокольные, угловые, карнизные и другие виды блоков.
Простеночные блоки по вертикальным граням имеют четверти: подоконные блоки имеют такие же четверти, обращенные в другую

Рис. 5.28. Узлы сопряжений:
а,6,в-поясных блока, наружных стен между собой, с перекрытиями и с внутренними стенами; 1-угловой блок; 2-рядовой блок; 3-угловой блох внутреннего угла; 4-простеночный блок 5-перекрытие; 6~блок внутренней несущей стены; 7-утеплитель; 8-цементный раствор; 9-герметизация стыка: 10-бетон; 11-стальной анкер; 12-стальная накладка: 13-закладная деталь
сторону. У поясных и перемычечных блоков сверху также образована четверть по длине изделий для опирания плит перекрытий. Перемычечные блоки имеют четверти снизу для оконной коробки. У этих блоков на торцах верхней поверхности имеются закладные детали для соединениях их с другими элементами здания.
Кирпичные блоки объемом до 1 куб м, то есть весом до 3 тонн,
изготавливают заранее на стройплощадке. Для изготовления применяли легкий кирпич (дырчатый, щелевой) либо устраивают облегченную кладку. Для стен толщиной до 380 мм можно применять полнотелый кирпич.(рис.5.29 а,б).

Рис.5.29. Стена из крупных блоков:
а – блок из семищелевых камней; б- блок колодцевой кладки; в – трехрядная разрезка стен; г – перемычечный блок с железобетонной плитой; 1 и 2 – лицевой и семищелевой кирпичи; 3 – сухая штукатурка; 4 сплошной кирпич с расшивкой швов4; 5 – шлакобетон; 6 – блок-перемычка; 7 – простеночный блок; 8 – подоконный блок; 9 – железобетонная плита.
Блоки внутренних стен можно изготавливать из сплошного
кирпича. В качестве основной разрезки принята трехрядная (рис.5.29, в), при которой основными типами блоков являются: простеночный, перемычечный и подоконный. Толщина блоков: 380, 510 и 640 мм. Высота простеночных блоков 1090 мм, подоконных – 815 мм, перемычечных 580 мм. Ширина простеночных блоков от 670 до 1780 мм, подоконных – от 980 до 1980 мм, перемычечных – от 1980 до 3188 мм.
Перемычечный блок (рис.5.29, г) рекомендуется применять комплексной конструкции с железобетонной плитой снизу. Это дает возможность включать пермычки в состав периметрового железобетонного пояса жесткости (или антисесйсмического).
Основные детали крупноблочных стен представлены на рис.5.30-5.33
При примыкании блоков друг к другу образуются различные стыки.
Вертикальные стыки бывают закрытые и открытые (с внутренней стороны). Закрытые стыки образуются при стыковании внутренних стен и горизонтального перемычечного ряда наружных стен (рис.5.34, а), а также простеночных и подоконных блоков (рис.5.34, б). Вертикальные стыки с обеих сторон предварительно проконопачивают пеньковой паклей или

Рис. 5.30. Внутренние стены крупноблочных зданий:
а – схема двухрядной разрезки внутренних стен; б – схема однорядной разрезки; в –конфигурация поясных надпроемных блоков при несовпадении высот проема и простеночных блоков; блоки внутренних стен: 1 – поясные; 2 – простеночные; 3 – однорядной разрезки; 4 – настил перекрытия; 5 – цементный раствор; 6- стальной анкер.
просмоленным жгутом и затем зачеканивают на глубину 20-30 мм густым раствором.
Открытые стыки получаются в результате сопряжения простеночных блоков, устанавливаемых рядом (рис.5.34,в). Шов стыка также проконопачивают пеньковой паклей и зачеканивают цементным раствором, а затем окрытый с внутренней стороны стык заделывают специальными бетонными вкладышами (или кирпичом) и образовавшийся колодец тщательно заполняют легким бетоном. Вместо конопатки стыка паклей или жгутом сейчас применяют для уплотнения стыка жгуты из пароизола, приклеиваемого на мастике «изол» и др.
При 3-х –рядной разрезке простенки стены членят по высоте на два равновысоких блока, а при 4-х – рядной – на три блока одинаковой высоты.
Крупноблочные конструкции уступают по своему техническому индустриальному уровню, например, панельным, поэтому их применяют редко.
Фундаменты для крупноблочных зданий: ленточные из сборных железобетонных подушек и бетонных блоков либо свайные из забивных свай.
Перекрытия: многопустотные железобетонные панели.
Конструкции крыш: в зависимости от этажности и объемно-планировочного решения проектируют малоуклонными сборными железобетонными или скатными по деревянным стропилам.


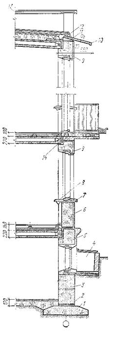
Рис. 5.31. Узел сопряжения несущих конструкций 14-этажного крупноблочного здания: 1- поперечные несущие стены; 2 – керамзитобетонный блок наружной стены; 3 – перемычечный блок; 4 – настил; 5 – стальная шпонка; 6- балконняа плита; 7 – стальная накладка.
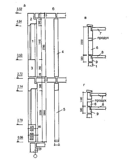
Рис. 5.32. Поперечный разрез наружной стены жилого дома, выполненный из легкобетонных крупных блоков:
1 – фундаментный блок-подушка; 2 – гидроизоляция; 3 – фундаментный стеновой блок; 4 – приямок; 5 – цокольный блок; 6 – подоконный блок; 7 – отлив; 8 – подоконник; 9 – перемычечный блок; 10 – карнизная плита; 11 – продух; 12 – фартук из оцинкованной стали; 13- парапетная плита; 13 – утеплитель минераловатный.

Рис. 5.33. Основные типы крупных блоков стен жилых зданий:
а – блок наружной стены перемычечный; б – то же, простеночный; в – то же, подоконный; г – то же, угловой; д – то же, простеночный с круглыми пустотами; е – блоки внутренней стены: 1 – вертикальный, 2 – горизонтальный (поясной).

Рис.5.34. Детали крупноблочных стен:
а – закрытый стык блоков внутренних стен; б – то же, простеночных и подоконных блоков; в – открытый стык блоков наружных стен; г – связь блоков наружных стен; д – связь перекрытий со стенами; е – связь наружных и внутренних стен; ж – то же, с применением железобетонной шпонки; з - связь по верху перемычечных блоков в наружном углу; и – деталь венчающего карниза стены из легкобетонных крупных блоков; к – то же, из кирпичных блоков; 1 – цементный раствор; 2 – легкий раствор; 3 – бетонный вкладыш; 4 – конопатка и зачеканка; 5 – железобетонная шпонка; 6 – стальная закладная деталь; 7 – сварной шов; 8 – анкер; 9 – блок-пермычка; 10 – панель перекрытия; 11-пеергородка; 12 – анкер пергородки; 13- стальная накладка; 14- стальная связь наружного угла; 15 – карнизные блоки.
. Блоки подразделяют на следующие основные типы:
наружные
1БН - простеночные, рядовые,
2БН - подоконные,
3БН - перемычечные,
4БН - поясные,
5БН - парапетные,
6БН - подкарнизные,
7БН - цокольные;
внутренние
БВ - простеночные, рядовые, блоки лестничной клетки,
БВП - перемычечные и поясные.
Указанные обозначения типов наружных блоков, являющихся угловыми в стенах, следует дополнить прописной буквой У, а расположенных у деформационного шва - буквой Т, в лоджии - буквой Л. Например, 1БНУ - блок, наружный простеночный угловой.
Обозначение типов наружных двухслойных блоков следует дополнить прописной буквой Д. Например, 1БНД - блок наружный простеночный, двухслойный, 1БНУД - блок наружный простеночный угловой двухслойный.
2.2. Координационную длину и высоту блоков при отсутствии разделяющих элементов в местах их сопряжений со смежными конструкциями здания (например, стен перпендикулярного направления) следует принимать по табл. 1 кратными модулям 12М, 6М и 3М; в обоснованных случаях допускается принимать эти размеры кратными модулю М, равному 100 мм.
Координационную толщину блоков следует принимать по табл. 1 кратными модулю М и М/2; обоснованных случаях допускается принимать толщину блока кратной модулю М/5.
Если в местах сопряжений блоков имеются разделяющие элементы, координационную длину и высоту блоков следует определять путем уменьшения соответствующего размера, приведенного в табл.1, на величину, зависящую от координационных размеров разделяющего элемента и определяемую согласно СТ СЭВ 1001.