Крупнопанельное домостроение — наиболее перспективный вид современного индустриального строительства жилых домов. В нашей стране создана мощная база для его развития.
Следует различать два вида крупнопанельных зданий
- каркасный
- бескаркасный, с несущими стенами (рис. 1). Сравнительный анализ этих систем показал, что для зданий высотой до 30 этажей более экономична бескаркасная система. Но эта система, как и любая схема с несущими стенами, имеет один недостаток — негибкость планировочных решений, так как продольные и поперечные несущие стены, располагаясь поэтажно друг над другом, создают неизменяемую структуру из сравнительно мелких помещений. Если для жилых домов этот недостаток несущественен, поскольку все этажи состоят из одинаковых квартир, то для общественного здания он имеет решающее значение, так как поэтажный набор помещений в общественных зданиях бывает очень разным и в них часто требуется трансформация помещений в процессе эксплуатации здания. Поэтому при строительстве общественных зданий стали применять лишь каркасные здания, а при строительстве жилых домов — бескаркасные крупнопанельные здания.

Рис. 1. Схемы разрезки фасада крупнопанельного здания:
а, б — бескаркасного; в, г — каркасного
Стеновая панель, ввиду ее значительной длины и высоты при небольшой толщине, не обладает самостоятельной устойчивостью, как мелкоблочные и крупноблочные изделия, поэтому устойчивость панельной стены обеспечивается жестким креплением стеновых панелей к перекрытию, к панелям поперечных стен и к смежным панелям. В результате получается жесткая и устойчивая объемная ячейка, внутреннее пространство которой представляет отдельное помещение. Сочетание таких ячеек и составляет структуру всего здания, являясь его несущим остовом. Можно выделить три основные конструктивные схемы таких зданий (рис. 2).

Рис. 2. Конструктивные схемы бескаркасных крупнопанельных зданий:
а — с несущими продольными и поперечными стенами с узким шагом; б — с несущими продольной внутренней и поперечными стенами с широким шагом; в — с несущими продольными стенами и поперечными стенами жесткости
1. Основные несущие элементы — поперечные и продольные внутренние стены и наружные стены. Расстояния между поперечными внутренними стенами — 2,7...3,6 м (узкий шаг). Перекрытия из железобетонных плит размером на комнату, с опиранием на 3 или 4 стороны, толщиной 120 мм.
2. Основные несущие элементы— поперечные и продольные внутренние стены. Наружные стены — навесные или самонесущие. Расстояния между внутренними поперечными стенами — 4,2...9,0 м (широкий шаг). Перекрытия из железобетонных плит размером на комнату, с опиранием на 3 стороны, толщиной 160 мм или из многопустотных плит длиной до 9,0 м, толщиной 220 мм, с опиранием по торцам.
3. Основные несущие элементы — продольные стены, наружные и внутренняя, и редко расположенные (через 15...20 м) диафрагмы жесткости. Перекрытия из железобетонных плит.
Наибольшее распространение получили две первые схемы. Устойчивость бескаркасного здания обеспечивается жестким сопряжением продольных и поперечных стен друг с другом и с перекрытием, что превращает здание в единую пространственную систему, где в работу на восприятие вертикальных и горизонтальных нагрузок включаются все несущие стены и перекрытия.
Наружные стеновые панели (рис. 3) делают, как правило, однослойными из армированного легкого или ячеистого бетона толщиной 180...340 мм. С наружной стороны предусматривают слой тяжелого бетона толщиной 30...40 мм для защиты от атмосферных влияний, а с внутренней — отделочный слой цементного раствора толщиной 10...15 мм. Панели выпускают с декоративно офактуренными наружными поверхностями, с использованием красителей, мраморной крошки, облицовки керамическими или стеклянными плитками. В двухслойных панелях армируются слой тяжелого бетона, с наружной стороны которого располагают слой легкого или ячеистого бетона. Наиболее прогрессивны трехслойные панели, которые состоят из двух сборных железобетонных скорлуп (наружной и внутренней), между которыми прокладывают слой эффективного утеплителя.

Рис. 3. Наружные стеновые панели:
а — однослойная; 6 — трехслойная; в — двухслойная; / — легкий бетон; 2 — железобетон; 3 — эффективный утеплитель
Стеновые панели внутренних стен изготовляют из тяжелого бетона толщиной 90...140 мм с гладкими поверхностями, подготовленными под окраску или оклейку обоями. Существуют специальные парапетные и цокольные панели. Парапетные панели по своему конструктивному и декоративному решению, как правило, не отличаются от основного типа наружных панелей. Цокольные панели, учитывая более сложные условия их работы, выполняют из тяжелого железобетона в виде ребристых плит, утепленных эффективным утеплителем с внутренней стороны (между ребер). С наружной стороны их облицовывают керамической плиткой типа «кабанчик», камнем естественных пород и другими влагостойкими и прочными материалами
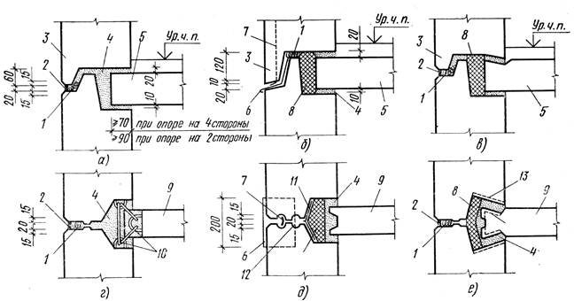
Наиболее ответственными и сложными по исполнению в конструкциях крупнопанельного здания являются стыки между панелями. Существует много различных решений, но ни одно из них не отвечает всем требованиям, предъявляемым к стыкам: по прочности (жесткая связь стеновых панелей между собой и с перекрытием), долговечности и герметичности, тепло- и звукоизоляции, простоте устройства и художественной выразительности. Конструктивные решения стыков могут быть классифицированы по следующим признакам (рис. 4): по устройству наружной зоны (открытые, с водоотбойной лентой и закрытые, защищенные цементным раствором и герметизирующими ластиками); по способу заделки (утепленные, с прокладкой эффективного утеплителя и замоноличенные бетоном); по способу сопряжения (сварные, петлевые, болтовые, самозаклинивающие или шпоночные).


Рис. 4. Конструкция стыков:
Все сопряжения с применением металла недостаточно надежны, так как металл в стыках, несмотря на, его антикоррозийную защиту, подвергается коррозии, а контроль за его состоянием невозможен. Поиск оптимального решения направлен на безметалльное исполнение, одним из примеров которого является шпоночный стык.

Рис. 5. План секции крупнопанельного дома:
Полы по перекрытию применяют слоистой конструкции с обязательным включением слоя из упругого материала (например, древесноволокнистых плит).






