Общая оценка. Токовые защиты от междуфазных КЗ выполняются, правило, по двухфазной двухрелейной схеме и в сетях с изолированной, и в сетях с заземленной нейтралью. При этом для отключения однофазных КЗ в сетях с заземленной нейтралью используют токовую защиту нулевой последовательности, как более чувствительную и имеющую меньшую выдержку времени, чем токовая защита с включением на полные фазные токи. Обе защиты могут содержать три ступени.
Токовые отсечки без выдержки и с выдержкой времени и максимальная токовая защита образуют первую, вторую и третью ступени трехступенчатой токовой защиты. Вместе с тем каждая из них может использоваться и как отдельная защита. Основными достоинствами токовых отсечек без выдержки времени являются: селективное действие и в сетях сложной конфигурации с любым числом источников питания; быстрое отключение наиболее тяжелых коротких замыканий, возникающих вблизи шин станций и подстанций; простота схемы. Основные недостатки: защита только части длины линии; зависимость защищаемой зоны от режима работы системы и переходного сопротивления в месте короткого замыкания. В связи с указанным токовые отсечки без выдержки времени как отдельные защиты применяются в виде дополнительных защит, предназначенных для сокращения времени отключения наиболее тяжелых повреждений. При этом защищаемая зона должна быть не менее (0,15...0,2) длины линии.
Токовая отсечка с выдержкой времени имеет сравнительно небольшое время срабатывания, способна осуществлять дальнее и ближнее резервирование, селективна в сетях с двусторонним питанием. Однако в ряде случаев чувствительность ее оказывается недостаточной. Максимальная токовая защита обеспечивает отключение повреждения только в радиальных сетях с односторонним питанием. При этом в связи с выбором выдержек времени по ступенчатому принципу могут быть недопустимо большие времена отключения повреждений вблизи источников питания. Требуемая чувствительность защиты обеспечивается не всегда, особенно при дальнем резервировании. Вместе с тем максимальная токовая защита сравнительно проста и достаточно надежна. Несмотря на отмеченные недостатки, она широко применяется в радиальных сетях всех напряжений с одним источником питания; в системах электроснабжения напряжением 10 кВ и ниже она является основной защитой. Максимальная токовая защита обычно объединяется с токовыми отсечками, образуя вместе с ними защиту со ступенчатой характеристикой выдержки времени. Такая защита дает возможность, особенно при наличии УАПВ, сравнительно быстро отключать повреждения в любой точке сети и во многих случаях отказаться от более сложных защит. Однако следует иметь в виду, что в целом токовые защиты со ступенчатой характеристикой выдержки времени обеспечивают селективное действие только в сетях с односторонним питанием. При этом чувствительность в ряде случаев оказывается недостаточной. Это характерно прежде всего для сетей сельскохозяйственного электроснабжения. Уменьшить ток срабатывания и тем самым повысить ее чувствительность можно либо применением комбинированного измерительного органа (реле тока и реле напряжения), либо введением в схему различных блокировок, предотвращающих излишние срабатывания защиты, например, блокировку токами третьей гармонической.
Схемы защиты на основе аппаратных функциональных элементов. Для осуществления измерительной части токовой защиты можно использовать одну из рассмотренных схем (см. п. 5.2) соединения измерительных преобразователей тока и цепей тока вторичных измерительных органов, или фильтр тока нулевой последовательности. Выбор схемы определяется назначением защиты и предъявляемыми к ней требованиями. Измерительная часть у всех ступеней одинакова, поэтому если защита содержит несколько ступеней, их измерительные органы соединяются между собой последовательно. При наличии отдельного органа выдержки времени логическая часть второй ступени и логическая часть третьей ступени защиты тоже одинаковы. В этом случае одна и та же схема защиты может быть использована как для выполнения токовой отсечки с выдержкой времени, так и для выполнения максимальной токовой защиты. Нет различия и между схемами максимальной токовой защиты и токовой отсечки без выдержки времени, выполненными на основе вторичных реле прямого действия типа РТВ и РТМ. В системах электроснабжения часто используют комбинированное реле РТ-80 или аналогичные реле на основе аналоговых интегральных микросхем. Они позволяют выполнить токовую защиту двухступенчатой, содержащей первую и третью ступени. Для изображения устройств защиты и автоматики используются принципиальные (полные), структурные, функциональные и монтажные схемы.
Принципиальные (полные) схемы изображают в совмещенном и разнесенном видах.
На рис. 5.31, а показана принципиальная совмещенная схема, одинаковая и для второй и для третьей ступеней защиты на постоянном оперативном токе от междуфазных повреждений. На схеме контакты и выводы обмоток реле даны в совмещенном виде так, что видна их взаимная принадлежность. Обычно наряду схемой релейной защиты изображают схему первичных соединений защищаемого присоединения. По мере усложнения схем релейной защиты появляется большое количество реле, контактов и пересекающихся цепей, поэтому принципиальные совмещенные схемы теряют наглядность и становятся сложными. Схему можно упростить путем раздельного построения цепей переменного тока, напряжения, цепей управления и др. Такой способ изображения схем называется разнесенным.
На рис. 5.31, б, в изображена та же токовая защита разнесенным способом. В этой схеме реле как единого условного обозначения не существует. В частности, контакты и обмотки реле тока размещаются в разных местах (контакты - в цепях управления, обмотки - в цепях тока). Их взаимная принадлежность определяется соответствующими буквенными и цифровыми обозначениями.

В структурных схемах устройства защиты и автоматики разбиваются на отдельные части, которые изображают в виде прямоугольников с соответствующими обозначениями. Схема, не выявляя существа работы этих частей, показывает лишь структуру устройства и взаимосвязь между отдельными частями.
Функциональные схемы являются развитием структурных схем. Они более детализированы. Это позволяет отразить взаимосвязь и существо процессов, протекающих в отдельных частях устройства. Функциональная схема рассматриваемой защиты показана на рис. 5.31, г.
7.2. Установившийся режим и переходный процесс при однофазных замыканиях
на землю в сетях с изолированными и компенсированными нейтралями
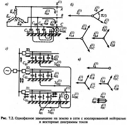
На рис. 7.2, г показана в однофазном исполнении схема сети, состоящей из трех линий Л1-Л3, подключенных к шинам генераторного напряжения. При замыкании на землю, например в точке К(1) через место повреждения проходит ток Iз(1), обусловленный не только емкостью поврежденной линии С01, но и емкостями неповрежденных линий С02 и С03, т. е.
Iз(1) = 3I01(1) + 3I02(1) + 3I03(1)
где
I01(1) = jωC01Uф; I02(1) = jωC02Uф; I03(1) = jωC03Uф;
При этом распределение токов нулевой последовательности в системе таково, что при условном направлении тока Iз(1) к месту повреждения токи нулевой последовательности неповрежденных линий 3I02 и 3I03, проходя через емкости С02 и С03, направляются к шинам подстанции далее по поврежденной линии от шин к месту замыкания К(1). Ток 3I01, как и ток в случае одиночной линии, проходит по участку между местом повреждения и точкой присоединения конденсатора С01. Таким образом, от шин по поврежденной линии направляется ток нулевой последовательности 3I0эк(1), определяемый емкостью всех неповрежденных линий:

I0эк(1) = I02(1) +I03(1) = jωUф(С02+С03) = jωС0экUф.
В случае замыкания на землю на линии Л2 или Л3 по линии Л1 (неповрежденной) к шинам проходит ток 3I01(1). Если I0эк(1) > I01(1), то на линии Л1 в качестве защиты от замыкания на землю можно использовать токовую защиту нулевой последовательности.