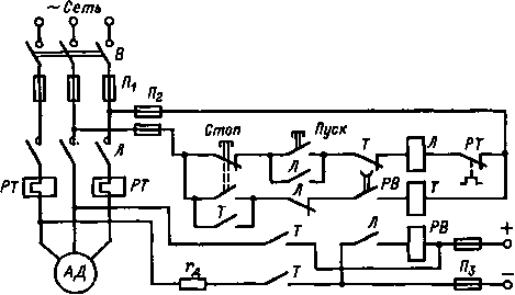
Наиболее распространенная схема дистанционного управления асинхронным двигателем с короткозамкнутым ротором изображена на рис. 12.6.
Защита силовых цепей и двигателя от коротких замыканий осуществляется плавкими предохранителями П, защита двигателя от перегрева, вызванного перегрузками или другими причинами, — тепловым реле РТ. Включение и отключение двигателя производятся электромагнитным аппаратом — контактором К. Для пуска и останова использованы две кнопки Пуск и Стоп Выключатель В служит для снятия напряжения с установки после окончания рабочего дня или при ремонте.
Рассмотрим устройство и принцип действия аппаратов управления, использованных в данной схеме.
Контактор — силовой электротехнический аппарат, посредством которого осуществляются включение и отключение силовых цепей двигателей, электрических печей и других устройств.
В некоторых случаях вместо контактора используются автоматы или бесконтактные системы включения на тиристорах.
Контакторы бывают переменного и постоянного тока.
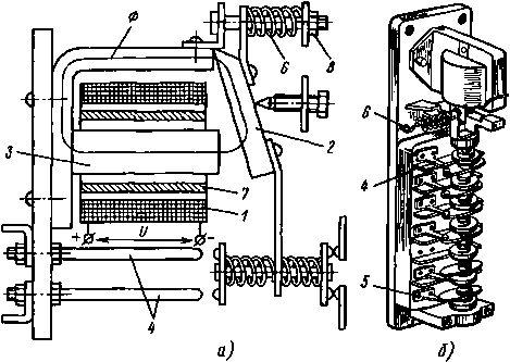
На рис. 12.7 изображен трехполюсный контактор переменного тока. Электромагнитная система контактора состоит из катушки 1, неподвижного сердечника 2 и якоря 3, укрепленного на валике 4. После включения катушки в сеть магнитный поток, созданный переменным током катушки, притягивает якорь и поворачивает валик 4, на котором укреплены силовые подвижные контакты 5. В результате происходит замыкание силовых подвижных 5 и неподвижных 6 контактов. Кроме силовых контактов контактор имеет вспомогательные замыкающие 8 и размыкающие 7 контакты. Эти контакты замыкаются и размыкаются пластинами 14, укрепленными на траверсах 9, которые в свою очередь укреплены на валике 4. При повороте валика контакты 8 замыкаются, а контакты 7 размыкаются. Для уменьшения потерь в сердечнике на вихревые токи сердечник и якорь собраны из отдельных листов электротехнической стали.
Сила, с которой якорь контактора притягивается к сердечнику, пропорциональна квадрату магнитного потока: F ~ Ф2, а магнитный поток изменяется по синусоидальному закону. Из этого следует, что сила притяжения за один период переменного тока достигает дважды амплитудного и нулевого значений, вследствие чего возникает вибрация якоря и подвижных контактов. Для уменьшения вибраций, а также возникающего при этом неприятного гудения якорь 3 снабжается короткозамкнутым витком 10, охватывающим часть его сечения. Часть основного магнитного потока пронизывает короткозамкнутый виток и наводит в нем ЭДС. ЭДС вызывает ток, а ток — магнитный поток, сдвинутый по фазе относительно основного потока. Этот магнитный поток вызывает силу, удерживающую якорь в притянутом состоянии, когда сила притяжения от основного потока равна нулю.

Рис. 12.6. Схема дистанционного управления асинхронным двигателем с короткозамкнутой обмоткой ротора
После отключения катушки контактора якорь под действием силы тяжести подвижной системы возвращается в исходное положение и контакты размыкаются. Для ускорения гашения дуги, возникающей при размыкании контактов, и предотвращения их быстрого разрушения дугой контактор снабжается дугогасительной камерой 12, внутри которой расположены металлические пластины 13. При размыкании контактов возникшая между ними электрическая дуга перебрасывается на металлические пластины; в момент, когда ток дуги равен нулю, происходит деионизация промежутка между контактами (восстановление изоляционных свойств воздушного промежутка) и дуга гаснет.
Подвод тока к подвижным контактам 5 осуществляется с помощью гибких проводников 11. Силовые контакты контактора рассчитаны на большие токи — от нескольких десятков до нескольких сотен ампер, вспомогательные контакты — на ток 2 - 10 - 20 А.

Рис. 12.7. Устройство контактора переменного тока
Принцип действия простейшего теплового реле легко уяснить из рис. 12.8, а. Реле состоит из нагревательного элемента 1, который включается последовательно с обмоткой статора. Внутри нагревательного элемента расположена биметаллическая пластина 2, состоящая из двух пластин металла с различными температурными коэффициентами линейного расширения. При токе, превышающем номинальный ток двигателя, нагревательный элемент настолько нагревает биметаллическую пластину, что она изгибается и ее незакрепленный конец поднимается вверх. Под действием пружины 3 рычаг 4, лишившись опоры, поворачивается, в результате чего контакты 5, включенные в цепь катушки контактора, размыкаются. Для возврата реле в исходное положение используется штифт 6. На рис. 12.8, б изображено устройство кнопки с двумя контакторами. В корпус 1, сделанный из изоляционного материала, вмонтированы неподвижные контакты 2 и 3. При нажатии на штифт 4 кнопки неподвижные контакты 2 замыкаются, а контакты 3 размыкаются подвижным металлическим мостиком 5. Пружина 6 возвращает кнопку в исходное положение. В схеме управления (см. рис. 12.6) применены две кнопки: Пуск и Стоп.

Рис 12.8. Устройство теплового реле ( а ), кнопка с двумя контактными элементами ( б )
После ознакомления с устройством и принципом действия аппаратов можно рассмотреть работу схемы управления (см. рис. 12.6) при включении и отключении двигателя.
Однако прежде чем рассматривать работу схемы, необходимо обратить внимание на следующее.
Все элементы аппаратов имеют установленные ГОСТ графические изображения и названия, наиболее распространенные из которых приведены в табл. 12.2.
Всем элементам одного и того же аппарата присваивают одинаковое буквенное обозначение.
Замыкающим контактом электромагнитного аппарата называется такой контакт, который разомкнут при отсутствии тока в его катушке, а в аппаратах, не имеющих катушек (кнопочные станции, путевые выключатели и т. п.), — при отсутствии внешнего воздействия. Размыкающий контакт при этих условиях замкнут.
При нажатии на кнопку Пуск катушка контактора К получает питание, якорь контактора притягивается и в результате силовые контакты контактора замыкаются и подключают двигатель к сети. Одновременно с этим замыкается блокировочный контакт контактора и шунтирует кнопку Пуск, что позволяет отпустить кнопку, не прерывая питания катушки контактора. Для останова двигателя нужно нажать на кнопку Стоп. При этом цепь катушки контактора размыкается, якорь контактора отпадает и его силовые контакты размыкаются и отключают двигатель от сети. В случае перегрузки двигателя срабатывает тепловое реле и своими контактами РТ размыкает цепь катушки контактора, что приводит к отключению двигателя.
Таблица 12.2
| Обозначение | Наименование |
| Резистор постоянный |
| Резистор регулируемый (реостат) |
| Предохранитель плавкий |
| Контакты кнопки с самовозвратом. а) с замыкающим контактом б) с размыкающим контактом |
| Контакты путевого выключателя: а) замыкающий б) размыкающий |
| Контакты и вспомогательные контакты контактора, пускателя, реле: а) замыкающий б) размыкающий |
| Обмотка контактора или реле. |
| Замыкающие контакты реле времени с выдержкой: а) при замыкании б) при размыкании |
| Размыкающие контакты реле времени с выдержкой: а) при размыкании б) при замыкании |
| Логический элемент И |
| Логический элемент ИЛИ |
| Логический элемент НЕ (НЕТ) |
На рис. 12.9 изображена схема управления асинхронным двигателем, предусматривающая динамическое торможение. Кроме описанных выше аппаратов схема содержит электромагнитное реле времени и контактор Т, с помощью которого обмотка статора двигателя включается в сеть постоянного тока для осуществления динамического торможения.
Принцип действия и устройство электромагнитного реле времени можно пояснить, используя его эскизное изображение на рис. 12.10, а. Катушка реле 1, включенная в сеть постоянного тока, создает магнитный поток Ф, под действием которого якорь 2 быстро притягивается к сердечнику 3. При этом контакты 4 замыкаются, а контакты 5 размыкаются. Если катушку реле 1 отсоединить от сети, то якорь 2 возвратится в исходное положение под действием пружины 6 не сразу, а с некоторой выдержкой времени. Это происходит потому, что после отключения катушки магнитный поток Ф начинает убывать и в результате в короткозамкнутом витке 7 (медная гильза) возникают ЭДС и ток. Последний создает поток, ранее создаваемый током катушки 1. Однако вследствие потерь энергии в медной гильзе (I 2 r) магнитный поток будет убывать, и когда создаваемая им сила F окажется меньше силы пружины 6, якорь реле возвратится в исходное положение. При этом контакты 4 размыкаются, а контакты 5 замыкаются.
Таким образом, с момента отключения катушки реле переключение контактов происходит не сразу, а спустя определенное время, называемое выдержкой времени. Регулирование выдержки времени осуществляется изменением натяжения пружины 6 с помощью гайки 8. Кроме описанного в системах автоматического управления применяются и другие реле времени: механические, пневматические, электронные и моторные.
Рассмотрим работу схемы, изображенной на рис. 12.9. При нажатии на кнопку Пуск срабатывает контактор Л и своими главными контактами включает двигатель в сеть. Один из вспомогательных контактов контактора Л шунтирует кнопку Пуск, а другой подключает обмотку реле времени РВ к сети постоянного тока. Якорь реле притягивается и связанные с ним контакты в цепи катушки контактора Т замыкаются. Однако контактор не срабатывает, так как цепь его катушки разомкнута контактами кнопки Стоп и контактора Л.

Рис. 12.9. Схема управления асинхронным двигателем с коротко-замкнутым ротором и динамическим торможением

Рис. 12.10. Электромагнитное реле времени ( а ), промежуточное реле переменного тока ( б )
Для останова двигателя нажимают на кнопку Стоп. Контакты кнопки в цепи катушки контактора Л размыкаются, контактор срабатывает, его силовые контакты размыкаются и отключают двигатель от сети переменного тока. Другие контакты кнопки Стоп замыкают цепь катушки контактора Т, контактор срабатывает и своими силовыми контактами подключает обмотку статора двигателя к сети постоянного тока. Своими вспомогательными контактами контактор шунтирует кнопку Стоп. Возникает динамическое торможение, и двигатель быстро останавливается. Одновременно с размыканием силовых контактов контактора Л размыкается и его вспомогательный контакт в цепи катушки реле времени РВ. Реле начинает отсчет времени. По прошествии определенного времени, на которое оно рассчитано, якорь реле отпадает и размыкает свои контакты в цепи катушки контактора Т. Контактор Т срабатывает — размыкает свои силовые контакты и отключает двигатель от сети постоянного тока. Схема возвращается в исходное положение — она снова готова к очередному пуску двигателя. Время выдержки реле времени РВ должно быть несколько больше времени торможения, в противном случае динамическое торможение прекратится раньше, чем двигатель остановится.
Замкнутые вспомогательные контакты контактора Т в цепи катушки Л и вспомогательные контакты контактора Л в цепи катушки Т предотвращают возможность одновременного включения контакторов Т и Л. Сопротивление r д ограничивает значение тока при динамическом торможении.
В системах автоматического управления находят широкое применение электромагнитные реле мгновенного действия. Они используются как промежуточные реле и как токовые реле, реле напряжения соответственно для токовой и нулевой защит. Реле имеют большое разнообразие конструктивных форм исполнения, однако устройство и принцип действия этих реле такие же, как у электромагнитного реле времени, только у них нет дополнительной короткозамкнутой обмотки, поэтому якорь отпадает сразу же, как только обмотка отключается от сети. Реле бывают переменного и постоянного тока, с катушками, рассчитанными для параллельного и последовательного включения в цепь. На рис. 12.10, б изображено электромагнитное реле переменного тока.

Рис. 12.11. Индукционный путевой выключатель
Описанные выше аппараты используются не только для управления пуском, торможением и регулированием частоты вращения двигателя, но также для автоматизации производственных механизмов и поточных линий в соответствии с технологическими требованиями. При этом кроме различных контакторов и реле применяются и другие аппараты — путевые выключатели, электромагниты, командоаппараты, различные датчики и т. п. Наиболее часто управление производственными механизмами осуществляется в функции пути (положения отдельных узлов механизма) или времени действия узлов. В этом случае используются путевые выключатели, реле времени, промежуточные реле.
Существуют механические путевые выключатели, фотовыключатели и индукционные выключатели. Принцип действия механических путевых выключателей аналогичен действию кнопок Пуск и Стоп. На кнопку воздействует человек, на рычаг путевого выключателя — выступ, укрепленный на элементе механизма. Принцип действия индукционного выключателя (рис. 12.11) заключается в следующем.
Катушка L неподвижного сердечника 1 соединена параллельно с конденсатором С и через катушку промежуточного реле РП включена в сеть переменного тока. Параметры L и С подобраны так, что цепь находится в состоянии резонанса токов, когда магнитная цепь сердечника 1 замкнута (якорь 2, связанный с механизмом, занимает положение, указанное на рис. 12.11); вследствие этого ток в катушке реле относительно мал и якорь реле не притянут. Когда же подвижный якорь 2, связанный с элементом механизма, займет положение, указанное пунктиром, магнитная цепь сердечника 1 окажется разомкнутой и индуктивность катушки L резко уменьшится. Резонанс в цепи нарушится, ток в катушке реле РП резко возрастет, его якорь притянется.
Таким образом, импульс возникает в том случае, когда один элемент механизма занимает определенное положение относительно другого. Это и есть управление в функции пути (положение механизма). Автоматизация в функции пути и времени может быть пояснена на примере простейшего механизма, изображенного на рис. 12.12, а. Элемент механизма ЭМ по технологическим условиям после нажатия на кнопку Пуск должен совершать возвратно-поступательное движение из левого в правое положение и наоборот до тех пор, пока не нажмут на кнопку Стоп. При этом в каждом из крайних положений механизм ЭМ должен оставаться в состоянии покоя несколько секунд, например в левом — 20 с, в правом — 40 с. Элемент механизма через систему передач приводится в действие асинхронным короткозамкнутым двигателем, силовая схема которого изображена на рис. 12.12, б. Схема управления, обеспечивающая заданный режим работы ЭМ, изображена на рис. 12.12, в.

Рис. 12 12 Механизм ( а ), силовая схема ( б ) и схема управления в функции пути и времени ( в )
Допустим, что перед пуском ЭМ должен находиться в исходном левом положении. При нажатии на кнопку Пуск срабатывает реле РП и одним своим контактом шунтирует кнопку Пуск, а через другой подает напряжение на остальную часть схемы управления. В результате катушка реле времени РВ 1 получает питание, так как контакт путевого выключателя КВ 1 в цепи катушки реле РВ 1 замкнут вследствие того, что выступ ЭМ действует на рычаг путевого выключателя KB 1. Реле PB 1 начинает отсчитывать время. Обмотки остальных аппаратов питания не получают, так как контакты соответствующих аппаратов в цепях их катушек разомкнуты. После отсчета заданного времени реле PB 1 замыкает свой контакт в цепи катушки контактора В, контактор срабатывает и своими силовыми контактами включает двигатель в сеть; ЭМ начинает перемещаться вперед. Вспомогательный контакт контактора шунтирует контакты реле РВ 1. Это сделано для того, чтобы не было прервано питание катушки контактора В после того, как выступ 1 ЭМ сойдет с рычага КВ 1 и его контакты в цепи катушки PB 1 разомкнутся.
После того, как ЭМ, перемещаясь вперед, займет правое положение, выступ ЭМ нажмет на рычаг путевого выключателя КВ 2. При этом один из контактов КВ 2 в цепи катушки контактора В размыкается, контактор срабатывает и отключает двигатель. Другой контакт КВ 2 в цепи катушки реле времени РВ 2 замыкается и реле начинает отсчет времени. После отсчета времени, в течение которого ЭМ должен находиться в неподвижном состоянии, контакты реле РВ 2 замыкаются и включают катушку контактора Н (контакт КВ 1 в ее цепи замкнут, так как выступ 1 ЭМ не действует на рычаг KB 1). Силовые контакты контактора Н включают двигатель, и ЭМ начинает перемещаться влево. Одновременно блокировочный контакт Н шунтирует контакты реле РВ 2 и В для того, чтобы катушка Н не лишилась питания из-за размыкания контактов реле РВ 2, когда выступ 1 ЭМ сойдет с рычага КВ 2. При достижении ЭМ крайнего левого положения выступ 1 ЭМ нажимает на рычаг КВ 1, один его контакт отключает катушку контактора Н и двигатель останавливается, а другой контакт включает катушку PB 1. После отсчета времени, соответствующего времени необходимой стоянки в левом крайнем положении, реле РВ 1срабатывает и включает контактор В. Происходит включение двигателя, и ЭМ начинает перемещаться вправо. Таким образом, механизм будет работать до тех пор, пока не нажмут на кнопку Стоп. После нажатия на кнопку Стоп катушка реле РП лишается питания и контакты РП отключают катушки всех аппаратов. В результате двигатель отключается от сети и останавливается.