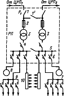
Питание цеховых сетей низкого напряжения осуществляется от РП. В цеховом РП (рис. 12.17) установлены один или несколько понижающих трансформаторов 3, работающих параллельно. В цепи обмотки высокого напряжения трансформаторов устанавливают разъединитель 1 и плавкий предохранитель 2 (для трансформаторов мощностью до 320 кВ • А).

Рис 12.17. Схема цехового распределительного трансформаторного пункта
Для трансформаторов большей мощности вместо плавких предохранителей устанавливают высоковольтный включатель с соответствующей максимальной защитой или разъединитель мощности. Вторичная обмотка трансформатора подсоединена к низковольтным шинам 5 распределительного устройства В качестве отключающей аппаратуры в цепи этой обмотки обычно устанавливают воздушные автоматы 4. От шин РП электроэнергия поступает непосредственно к крупным потребителям 8, распределительным шкафам 9 или шинным сборкам 10. Для отключения и защиты от коротких замыканий каждая из отходящих линий снабжена выключателем 6, 7. В отдельных случаях устанавливают измерительные приборы — амперметры, счетчики. Питание распределительных щитков и шинных сборок осуществляется посредством изолированных медных или алюминиевых проводов, уложенных в стальных трубах, или кабелей, проложенных в стенах и конструкциях здания или в кабельных каналах.
|
|
|
Существует большое разнообразие конструктивных форм исполнения силовых и осветительных распределительных шкафов.

Рис. 12.18. Конструкция шинной сборки

Рис. 12.19. Подводка к станкам от шинных сборок
Распределительные шкафы устанавливают у стен и колонн цеха вблизи оборудования, которое данный щит снабжает электроэнергией. Проводка от шкафа к потребителям выполняется изолированным проводом в стальных трубах или кабелем, которые прокладываются в полу.
В настоящее время для питания станочного и другого оборудования машиностроительных заводов находят широкое применение шинные сборки. Шинные сборки (рис. 12.18) состоят из стального кожуха 1, внутри которого в изоляционных стойках 2 укреплены стальные или алюминиевые шины 3. К шинам на расстоянии 0,8—1 м приварены штыри 4, к которым присоединяют провода потребителей. Шинные сборки укрепляют на стенах и колоннах цеха на высоте 2,5 м. На рис. 12.19 изображены шинные сборки 1 и подводка 2 от них к металлорежущим станкам 3.






