Существует множество требований к конструкциям корпуса различных судов, которые изложены в правилах классификационных обществ. Эти требования отражают опыт эксплуатации судов, и их выполнение обязательно. Количество этих требований велико, формулировка многих из них со временем изменяется, особенно это относится к практически неисчерпаемому множеству узлов корпуса судов различных конструктивных типов.
Вместе с тем, есть и некоторые относительно общие принципы и правила, а также типовые узлы, на основе которых можно создать технически грамотные конструкции. Конечно, в любом правиле могут быть исключения, но это уже отдельная тема.
Рассмотрим здесь некоторые общие требования и типовые примеры узлов. Следует особо отметить, что количественные показатели, которые далее будут встречаться, следует рассматривать как оценочные – точные требования следует искать в правилах классификационных обществ.
Требования к листовым конструкциям:
1) Ширина пластины не должна превышать 60 толщин. Если это правило не выполняется, лист нужно подкрепить (рёбрами жёсткости, кницами) или уменьшить шпацию набора (рис. 9.1).
2) Толщина листа должна быть не меньше толщин подкрепляющих его элементов. В противном случае возможны большие остаточные деформации (гофрировка) либо появление трещин в процессе эксплуатации.

Рис. 9.1. Подкрепление стенки рамных балок
Требования к стенкам рамных балок и листовому набору двойных перекрытий:
1) Рёбра жёсткости должны быть ориентированы по направлению наибольших сжимающих усилий (рис. 9.1). Это правило обеспечивает
устойчивость листов на сжатие.
2)
Высота стенки рамной балки должна быть не менее двух высот пересекающих её балок основного набора (рис. 9.2).
3)
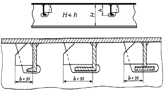
От краёв облегчающих вырезов до поясков рамной связи должно быть расстояние не менее четверти высоты стенки (высота выреза – не более половины высоты стенки).
4) Расстояние от облегчающего выреза до выреза для прохода балки основного набора должно быть не менее высоты последнего (рис. 9.3).
5) Облегчающие вырезы должны быть подкреплены, если они расположены в районе опор рамной связи (ближе четверти пролёта). Также подкрепления вырезов необходимы в районах действия сосредоточенных усилий или повышенной вибрации. Это правило связано с тем, что в стенках балок у опор возникают наибольшие касательные напряжения (рис. 9.4).
Рис. 9.4. Подкрепления стенки рамной связи
Требования к кницам и бракетам:
1)
Катет книц, соединяющих рамные балки, должен быть не менее высоты стенки рамных балок (рис. 9.5). Такие кницы в основном служат для снижения концентраций напряжений в районе поясков балок у опор, поэтому кницы рекомендуется делать скруглёнными.
2)
Катет книц, соединяющих балки основного набора, должен быть не менее двух высот стенки балок (рис. 9.6). Такие кницы должны обеспечивать условия жёсткой заделки балок на опорах. За счёт книц максимальный изгибающий момент посередине пролёта балки уменьшается почти в три раза, но зато появляется значительный момент на опорах. Кницы как бы «притягивают» к себе изгибающий момент и соответствующие напряжения. Одновременно своим сечением кницы усиливают опорные узлы.
3) Если длина свободной кромки кницы (бракеты) более 45 толщин, то она должна иметь поясок, иначе кница может потерять устойчивость при прогибе балок.
![]() |
4) Кницы (бракеты) могут соединять балки внахлёст (внакрой)
(рис. 9.7). Однако для соединения рамных балок накройные кницы не допускаются. Также накройные кницы нельзя применять в районах повышенных местных нагрузок и вибрации. Накройные кницы более технологичны, чем приставные (особенно в палубных конструкциях, когда их применение позволяет избежать ручной сварки в потолочном положении). Однако надёжность узлов с такими кницами невысока (дополнительные напряжения, повышенная коррозия в щелях между кницей и стенками балок, вибрационные трещины).
Требования к профилю балок основного набора и рёбер жёст-кости:
1) Уголковый профиль не допускается для конструкций стальных морских судов (в основном из-за малой жёсткости и наличия значительных дополнительных напряжений в балках от стеснённого кручения).
2) При наличии перекрёстных рамных связей симметричные профили нетехнологичны – они применяются обычно для конструкций крупнотоннажных судов или при специфичных требованиях к надёжности.
3) Концы рёбер жёсткости, не примыкающих к другим балкам набора, должны срезаться «на ус» (рис. 9.8).
Требования к узлам пересечения балок набора:
1) Места прохода балок основного набора через вырезы в стенке рамной связи являются одними из наименее технологичных узлов. Кроме того, в них наиболее часто возникают дефекты, трещины и другие повреждения. Следует избегать большого количества таких узлов.
2) Навесная система набора не допускается для водоизмещающих морских судов. Несмотря на свои очевидные технологические преимущества, такая конструкция имеет недостатки:
а) пластины обшивки имеют опоры не с четырёх, а только с двух сторон, поэтому для дополнительного подкрепления обшивки в местах больших нагрузок требуется вваривать дополнительные бракеты - проставыши;
б) рамные балки должны иметь второй поясок, которым они крепятся к холостым балкам, при этом её присоединённый поясок всё равно оказывается существенно меньше, чем в обычной конструкции, что приводит к уменьшению момента сопротивления профиля;
в) узлы крепления перекрёстных балок не всегда достаточно надёжны из-за малой протяжённости сварных швов, для усиления этих
узлов приходится применять дополнительные кницы (рис. 9.9).
![]() |
Рис. 9.9. Навесная конструкция набора с проставышами
3) Полка балки основного набора, проходящей через вырез в стенке рамной связи, должна быть свободной (не приваренной). Иначе в этом районе концентрируются напряжения, что приводит к быстрому появлению трещин (рис. 9.10).
4) Лист в районе прохода сквозь него балки следует подкреплять ребром жёсткости, иначе могут появиться трещины в месте приварки
балок.
5) В местах действия сосредоточенных, ударных или вибрационных нагрузок, в районах опор рамной балки, а также при недостаточной высоте рамной балки (меньшей двух с половиной высот балок основного набора) узел пересечения балок должен подкрепляться планками - заделками
(рис. 9.11, 9.12).
Требования к шпигатам (голубницам):
Высота шпигатов (голубниц) должна быть не более 20 % от высоты стенки, а ширина неподкреплённого участка обшивки (под шпигатом) – не более 15 толщин обшивки.
Некоторые общие принципы:
1) Любая конструкция, прежде всего, должна в полной мере отвечать требованиям эксплуатации. Это условие наиболее комплексное, так как эксплуатация судна должна быть одновременно экономически эффективной и безопасной (как для людей на судне, так и для окружающей среды).
![]() |
![]() |
Рис. 9.12. Подкрепление вырезов планками
2) Качество конструкции тем выше, чем она технологичнее. Учёт технологии постройки и ремонтов конструкций позволяет снизить сроки и себестоимость постройки и ремонтов судна. Так, например, в труднодоступных местах обычно наблюдается большинство случаев брака, начальных дефектов конструкций, которые приводят к быстрому износу и повреждениям этих узлов. Особенно опасно то, что повреждения в таких
узлах часто трудно обнаружить, разрушения переходят на соседние элементы, а это грозит нарушением не только местной прочности, но и крушениями судов при тяжёлых условиях эксплуатации (например, во время шторма).
3) Нельзя допускать в узлах конструкций «жёстких точек». Даже если напряжённость конструкций в целом невысока, в жёстких точках напряжения могут возрастать в несколько раз, и очень часто превышают предел текучести материала. Вообще, качество конструкции тем выше, чем меньше в ней перепады напряжений.
4) В месте действия сосредоточенной нагрузки должно находиться пересечение балок набора.
5) В месте действия нагрузки, распределённой по линии, должна находиться рамная балка или подкрепляющая листовая конструкция.



