Смотровым колодцем или камерой называют шахту, расположенную над водоотводящим трубопроводом, внутри которой труба или коллектор заменены открытым лотком. Назначение этих колодцев состоит обеспечении возможности прочистки, контроля и вентиляции сети.
Места расположения смотровых колодцев следующие (см. рис. 1.9) [1]:
1. В местах изменения диаметра или уклона трубопровода.
2. При изменении направления трубопровода в плане (повороты).
3. В местах присоединения боковых веток.
4. На прямолинейных участках через 35 – 300 м в зависимости от диаметра трубопровода.
|
|

Рис. 1.9. Места расположения смотровых колодцев
а – место изменения диаметра трубопровода; б – место изменения уклона трубопровода; в – место изменения направления трубопровода в плане (поворот);
г – место присоединения боковых веток
Колодцы и камеры выполняются из сборного или монолитного железобетона, кирпича. В плане колодцы бывают круглыми, прямоугольными или полигональными.
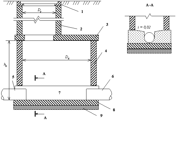
Смотровые колодцы состоят из следующих основных элементов: рабочей камеры, горловины и переходной части между ними, основания и люка с крышкой над горловиной (см. рис. 1.10).

|
р
Лоток в колодце делается из бетона, в нижней части он полукруглый, в верхней – имеет вертикальные стенки. С двух сторон лотка создаются полки с уклоном к центру. Рабочая камера должна иметь следующие минимальные размеры: высота hк – 1,8 м, диаметр Dк – 1,0 м. Минимальный диаметр горловины Dг – 0,7 м. Рабочие камеры и горловины оборудуются скобами или лестницами для спуска или подъема. Стенки рабочих камер и горловин могут выполняться из типовых железобетонных элементов – колец и плит.
Поворотные колодцы предусматриваются в случае изменения направления трассы трубопровода, причем для устранения большого гидравлического сопротивления необходимо, чтобы угол между присоединяемой и отводящей трубами был не менее 90°, а радиус поворота – от 1 до 5 диаметров труб. Лоток такого колодца плавно искривлен.

Рис. 1.11. Поворотный колодец
Узловые колодцы устраивают в местах соединения двух-трех трубопроводов. Они имеют узел лотков, соединяющих не более трех подводящих труб и одной отводящей. Узловые колодцы на крупных коллекторах называют соединительными камерами (рис. 1.12).

Рис. 1.12. Узловой колодец
Контрольные колодцы выполняются в местах присоединения дворовой или внутриквартальной сети к уличной и располагаются за пределами красной линии ( красная линия – термин, применяемый в градостроительстве для обозначения условных границ, отделяющих территорию площадей, улиц, проездов и магистралей от территории, отведенной под застройку. Установленный в градостроительстве порядок разрешает строительство зданий только по красной линии или с отступлением от нее в глубину квартала).
Промывные колодцы служат для периодической промывки начальных участков сети, которые имеют малые диаметры. В этом качестве могут использоваться обычные смотровые колодцы и специальные конструкции с запорными устройствами и подводом воды.






