(9.1)
| де | N л | – | кількість локомотивів, що надходять в екіпірування і на технічне обслуговування за добу; |
| t зан | – | тривалість заняття екіпірувального місця локомотивом з урахуванням часу на його постановку і виведення; | |
| k нер | – | коефіцієнт нерівномірності надходження локомотивів в екіпірування в залежності від нерівномірності прибуття поїздів у даний пункт (в орієнтованих розрахунках приймають рівним 1,3-1,5). |
На кожній екіпірувальній колії можуть у необхідних випадках розміщатися по два місця для ТО-2 і екіпірування локомотивів.
На дільничній станції в залежності від її схеми, а також ролі у тяговому обслуговуванні екіпірувальні пристрої можуть споруджуватися і на території станції (рис. 9.3).

Рис. 9.3. Схеми можливого розташування екіпірувальних пристроїв (ЕП) на дільничній станції
Для розміщення локомотивного господарства вибирається площадка в ув'язці зі схемою розвитку всієї станції таким чином, щоб забезпечити забирання локомотивів від поїздів і подачу їх до составів із мінімальною витратою часу і при найменшому числі перетинань із маршрутами проходження поїздів. У районах із великими сніжними заметами влаштовують два незалежних виходи для локомотивів з екіпірувальних колій на приймально-відправні.
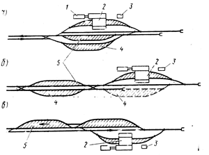
Рис. 9.4. Принципові схеми розміщення основних пристроїв локомотивного господарства: 1- адміністративно-побутовий корпус; 2- депо; 3- котельна; 4- екіпірувальні пристрої; 5- колії стоянки локомотивів. |
Загальне планування пристроїв локомотивного господарства повинне забезпечувати: компактність розміщення пристроїв, щоб знизити витрати на освоєння площадки, укладку колій, мережі водопостачання, каналізації, теплофікації, освітлення й ін.; потоковість операцій при проході локомотивів на колії екіпірування, потім на колії стоянки готових до роботи локомотивів і до виходу на станцію, а також зручне заходження локомотивів у депо; можливість подальшого розвитку ремонтних засобів і екіпірувальних пристроїв.
Схеми локомотивного господарства при електричній і тепловозній тязі можуть різнитися взаємним розташуванням трьох елементів: депо, екіпірувальних пристроїв і колій короткочасної стоянки локомотивів в очікуванні виходу на станцію.
Існують три принципові схеми розміщення основних пристроїв для правопутного руху локомотивів із станції по ходових коліях. У першій схемі (рис. 9.4, а) депо, екіпірувальні пристрої і колії стоянки локомотивів розташовуються паралельно на короткій, але достатній по ширині площадці; у другій схемі (рис. 7.9, б) -депо розташовується послідовно, тому необхідна більш довга площадка; у третій схемі (рис. 9.4, в)-колії екіпірування і стоянки розміщені послідовно, а депо - паралельно з ними.
Число колій стоянки локомотивів в очікуванні роботи визначається розрахунком за графіком їхнього обороту, а в орієнтованих розрахунках приймається з умови перебування на цих коліях 10-12% локомотивів від числа прибуваючих за добу. Довжина кожної колії розраховується на установку 4-5 локомотивів (130-170м).
Місткість колій стоянки локомотивів резерву в періоди зниження розмірів руху розраховують для депо по встановленому відсотку від робочого парку локомотивів (в орієнтованих розрахунках приймають 15- 20%). Довжина кожноі колії приймається 250-300 м. Корисна довжина колій стоянки відбудовного і пожежного поїздів проектується для поїздів І категорії - 300 м, ІІ -категорії - 250 м і III категорії - 200 м; ці колії повинні мати двосторонні виходи.
Тема 10. СОРТУВАЛЬНІ ПРИСТРОЇ ДІЛЬНИЧНИХ ТА ВАНТАЖНИХ СТАНЦІЙ
Сортувальні пристрої бувають двох типів:
1) гіркові – це сортувальні гірки різної потужності, де для сортування вагонів використовується сила тяжіння;
2) без гіркові – це витяжні колії зі стрілочними горловинами на ухилі, де використовується сила тяги локомотива та сила тяжіння вагонів, або витяжні колії зі стрілочними горловинами на площадці, де використовується лише сила тяги локомотива.
Сортувальні гірки є основними пристроями для сортування вагонiв на залізничних станціях.
У залежності від конструкції колійного розвитку та технічного оснащення сортувальні гірки бувають підвищеної, великої, середньої та малої потужності. Тип та потужність сортувальної гірки,необхідно визначати на основі розрахункових обсягів і структури вагонопотоку, що підлягає переробці, та кількості сортувальних колій. Розрахункові розміри вагонопотоку (вагонів за добу) визначаються: для сортувальних станцій - на 10-й рік експлуатації, для інших технічних станцій - на 5-й рік. Їх класифікація згідно «Правил и норм проектирования сортировочных устройств на железных дорогах Союза ССР» (ВСН 207-89), наведена у табл. 10.1.
Таблиця 10.1 – Класифікація сортувальних гірок
| Параметри гірки | Значення параметрів гірок відповідної потужності | |||
| підвищеної (ГПП) | великої (ГВП) | середньої (ГСП) | малої (ГМП) | |
| Обсяг переробки, вагонів за добу | більше 5500 | 3500…5500 | 1500…3500 | 250…1500 |
| Кількість сортувальних колій | 41 і більше | 30…40 | 17…29 | 4…16 |
Витяжні колії зі стрілочними горловинами на ухилі або на площадці проектуються для сортування до 250 вагонів за добу, а також для закінчення формування составів у вихідних горловинах сортувальних парків.
Сортувальна гірка, як єдина технологічна система включає: колійний розвиток, технічне оснащення, маневрові локомотиви, ремонтно-експлуатаційну базу, службово-побутові та виробничі будівлі з необхідними комунікаціями.
Колійний розвиток гірки має визначену конструкцію плану та поздовжнього профілю (рис. 10.1) і включає в себе насувну частину, спускну частину та сортувальні колії.

Рис. 10.1. Принципова конструкція сортувальної гірки
План розвитку колій проектується згідно з вимогами до технічного оснащення у залежності від потужності гірки.
Горловину гірки необхідно проектувати короткою, щоб забезпечити найменшу довжину спільного маршруту скочування для більшості відчепів та найменшу суму кутів повороту кривих на маршруті скочування. Для цього необхідно:
- використовувати симетричні стрілочні переводи із хрестовинами марки 1/6 для колій гірки з рейок типу Р65 (гірки підвищеної, великої та середньої потужності) чи Р50 (гірки малої потужності);
- групувати сортувальні колії зі сторони гірки у пучки, з кількістю колій у пучку від 3 до 8;
- передбачати відстань між коліями у пучку 5,3 м, між пучками – 6,5 м, а в стиснутих умовах - не менше 4,8 м;
- застосовувати на спускній частині гірки (до останніх розподільних стрілок) кругові криві радіусом не менше 200 м;
- застосовувати за хрестовинами останніх стрілочних переводів кругові криві радіусом не менше 180 м, а при кількості колій більше 32 - не менше 150 м і довжині кривої не більше 20 м з відповідним підсиленням верхньої будови колій в кривих;
- криві починати безпосередньо за хрестовиною чи початком рамних рейок з розширенням колії у межах кривої на протязі її перших 4 м.
При проектуванні гіркової горловини необхідно враховувати наступні вимоги:
- виділяти прямі ділянки колій для встановлення вагонних уповільнювачів;
- передбачати необхідну відстань між коліями для розміщення вагонних уповільнювачів на суміжних коліях;
- передбачати передстрілочні ізольовані ділянки (від ізолюючих стиків до початку вістряків) довжиною не менше 6 м;
- передбачати прямі ділянки колії для розташування технологічного обладнання систем комплексної механізації та автоматизації операцій на гірці і станції.
Розміщення на гірці додаткових пристроїв автоматизації управління процесом розформування (датчики, вимірювальні ділянки, швидкістеміри, вагоміри) не повинні вимагати подовження елементів плану, тому що це приводить до зниження переробної спроможності гірки.
Тема 11. ЗАВАНТАЖЕННЯ ТА ПРОПУСКНА ЗДАТНІСТЬ ГОРЛОВИН СТАНЦІЙ
Рис. 9.4. Принципові схеми розміщення основних пристроїв локомотивного господарства: 1- адміністративно-побутовий корпус; 2- депо; 3- котельна; 4- екіпірувальні пристрої; 5- колії стоянки локомотивів. 





