Очистка цилиндров двигателя от продуктов сгорания и наполнение их свежим зарядом называется процессом газообмена.
Количество свежего заряда, оставшегося в цилиндре после завершения процесса газообмена существенно влияет на мощность, развиваемую двигателем.
В четырехтактных двигателях процессы газообмена протекают на протяжении двух ходов поршня, который в это время работает подобно насосу, поэтому эти процессы иногда называют насосными, а ходы поршня, соответствующие этим процессам — насосными ходами.
В двигателе с наддувом воздух из окружающей среды нагнетается компрессором под давлением рк, которое больше р0. При этом температура воздуха повышается до температуры Тк.
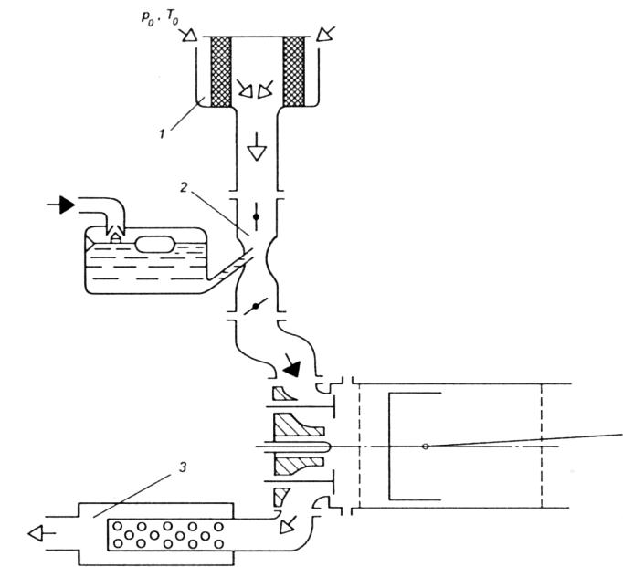
На рис. 3 представлена схема впускной и выпускной систем четырехтактного карбюраторного двигателя без наддува, а на рис. 4 — дизеля с наддувом. В безнаддувном двигателе воздух поступает из окружающей среды при давлении р0 и температуре Т0.

Рис. 3. Схема впускной и выпускной систем карбюраторного двигателя
без наддува: 1 — воздушный фильтр; 2 — диффузор карбюратора;
3 — глушитель шума отработавших газов
|
|
|
На рис. 4 показана система турбонаддува, где для привода компрессора используется кинетическая энергия отработавших газов, но возможен и механический привод, когда компрессор приводится в действие от коленчатого вала.

Рис. 4. Схема впускной и выпускной систем дизеля с наддувом:
1 — воздушный фильтр; 2 — насосное колесо компрессора;
3 — турбинное колесо компрессора
Процесс газообмена начинается с момента открытия выпускного клапана (рис. 5, точка b'), а заканчивается с закрытием впускного клапана (точка а0).

Рис. 5. Индикаторная диаграмма процессов газообмена
Процесс впуска осуществляется при движении поршня от ВМТ (точка r) к НМТ (точка а). Количество свежего заряда, поступающего в цилиндр в течение процесса впуска, зависит от общего гидравлического сопротивления впускной системы, т. е. от разности между давлением окружающей среды р0 и давлением в цилиндре ра, которая изменяется по мере перемещения поршня от ВМТ к НМТ.
В начале процесса впуска в цилиндре двигателя происходит снижение давления газов, оставшихся от предыдущего цикла (так называемых остаточных газов) как за счет увеличения объема цилиндра при движении поршня к НМТ, так и за счет продолжающегося выпуска через выпускной клапан до точки d. С момента уменьшения давления в цилиндре до давления на впуске или несколько ниже через впускной клапан начнет поступать свежий заряд и к моменту прихода поршня в НМТ (точка а) в цилиндре установится давление ра, величина которого меньше давления р ВП на впуске:
|
|
|
,
где △ ра — потери давления на впуске, зависящие от сопротивления впускной системы и режимов работы двигателя.
Чем меньше потеря давления во впускной системе к моменту прихода поршня в НМТ, тем большее количество свежего заряда заполнит цилиндр.
Процесс выпуска отработавших газов начинается в конце такта расширения за 40...70° поворота коленчатого вала до прихода поршня в ВМТ (точка b' на рис. 5). При этом происходит свободный выпуск под действием остаточного давления газа в цилиндре (0,4...0,6 МПа в двигателе без наддува). За время свободного выпуска удаляется до 50...70 % отработавших газов. При движении поршня от НМТ к ВМТ происходит принудительный выпуск оставшихся газов.






