Способ механизации горных работ, при котором все или основная часть операций технологического процесса осуществляется за счет энергии движущегося потока воды, называется гидромеханизацией.
Впервые подземный гидравлический способ добычи угля был разработан и осуществлен группой советских инженеров и ученых под руководством В. С. Мучника. Опытные работы по разрушению угля напорной струей воды и транспортированию угольной гидросмеси проводились в 1936–1937 гг. на Урале. В послевоенные годы развернулись также работы по гидроразмыву и гидротранспортированию в отвалы вскрышных пород на карьерах.
При гидравлической добыче применяются гидравлический, механогидравлический и взрывогидравлический способы разрушения полезного ископаемого.
При гидравлическом способе вода высоконапорным насосом по водоводу подается к гидромонитору, из насадки которого выбрасывается струя воды под большим давлением (до 16 МПа), которая разрушает некрепкий уголь и некрепкие породы.
Размытые уголь или порода образуют вместе с водой гидросмесь, которая транспортируется самотеком по металлическим желобам (или по почве) с уклоном не менее 0,05 к камере гидроподъема (думпфу). При этом соотношение твердой. (Т) и жидкой (Ж) фаз по объему, называемое консистенцией гидросмеси, составляет обычно 1/4–1/10.
Гидроподъем угля из неглубоких шахт производится углесосами, а из глубоких (более 400 м) –эрлифтами. Затем по трубопроводам гидросмесь поступает на обогатительную фабрику. Отработанная вода из обогатительной фабрики поступает в систему отстойников, а из них – в резервуар осветленной технической воды. Благодаря этому вода используется многократна в замкнутом цикле. Потери воды периодически компенсируются из шахтного водопровода или путем естественного притока шахтных вод.
На открытых горных работах гидросмесь из зумпфа перекачивается по трубам грунтонасосами (землесосами) к месту укладки – гидроотвалу.
При отстаивании в гидроотвале вода отделяется от породы, осветляется и подается к насосной станции для повторного использования.
Горная порода разрушается потоком воды, притекающим к всасывающей трубе, и при разработке забоя плавучим землесосным снарядом (землесосом).
Преимущества гидромеханизации, благодаря которым она получила распространение в горном деле при подземной и открытой разработках полезных ископаемых: высокая производительность труда; возможность попутного обогащения полезного ископаемого; относительная простота и малооперационность технологического процесса; отсутствие пылеобразования; низкаяс стоимость и малые размеры оборудования.
Механогидравлический способ предусматривает разрушение угля или некрепкой породы механическим способом (исполнительными органами механогидравлических комбайнов), а смыв разрушенной горной массы из забоя — водой, подводимой к комбайну при давлении около 5 МПа. Механогидравлический способ получил распространение при выемке крепких углей, когда использовать гидромониторы нецелесообразно. К этому способу можно отнести выемку пород на открытых работах землесосными снарядами, снабженными рыхлителями.
Взрывогидравлический способ предусматривает разрушение полезного ископаемого или породы с применением буровзрывных работ, а транспортирование разрушенной горной массы — смывом водой под давлением.
Этот способ в настоящее время не получил широкого распространения и применяется иногда на подземных рудниках.
ГИДРОМОНИТОРЫ
Гидромониторы, представляющие собой устройства для формирования напорной струи и управления ее полетом с целью разрушения и смыва горных пород, классифицируют по следующим признакам:
по области применения – для подземных и открытых горных работ;
по способу управления – с ручным, дистанционным и программным управлением;
по способу перемещения – несамоходные (передвигаемые на салазках вручную, посредством гидропередвижчиков, лебедками, тракторами и другими способами) и самоходные, имеющие гусеничные или шагающие органы перемещения.
Гидромониторные струи разделяют на низконапорные (до 1 МПа), средненапорные (от 1 до 5 МПа), высоконапорные (от 5 до 50 МПа) и сверхвысоконапорные (более 50 МПа).
На открытых горных работах промышленное применение получили средненапорные струи с давлением 1,5–3 МПа, а на гидрошахтах – высоконапорные струи с давлением 12–16 МПа.
Для формирования струи, выходящей из ствола гидромонитора, служат насадки, представляющие собой фасонные трубки из стального литья со шлифованной внутренней поверхностью в форме конуса, переходящего плавно в цилиндр.
К основным техническим характеристикам гидромониторов можно отнести: рабочее давление воды (МПа), расход воды (м3/с), диаметр канала проточной части гидромонитора (мм), диаметр насадок (мм), угол поворота ствола (градус), вид управления, размеры и масса.
Гидромониторы ГМДЦ-4 (рис. 4.1) предназначены для гидроотбойки угля в очистных и подготовительных забоях при разработке пластов мощностью более 0,8 м с углами падения более 6°.
Основанием гидромонитора являются салазки 12, на которых закреплена труба 22 напорного водовода диаметром 100 мм для подвода к стволу гидромонитора воды под давлением. На вертикальном участке 11 подводящей трубы установлена головка с крестовиной 13, которая дает возможность поворачиваться стволу 4 в горизонтальной плоскости. Поворотная головка имеет две полые цапфы 3, вокруг которых могут вращаться бобышки 14 и осуществлять поворот ствола 4 в вертикальной плоскости. К поворотным бобышкам 14 прикреплены два обводных канала 23 для подвода воды к стволу 4 гидромонитора. В стволе имеется гидравлический сотовый успокоитель 5, который разделяет с помощью продольных ребер поток воды на несколько параллельных потоков меньшего сечения. Это способствует формированию компактной водяной струи. Насадка 7 крепится к конусной части ствола 6 накидной гайкой 8.
Ствол гидромонитора с помощью гидродомкрата 15 и зубчатого сектора 10 может поворачиваться в горизонтальной плоскости на угол 90°, а при перестановке фиксирующего пальца — до 210°. Гидродомкратом 9 ствол может поворачиваться вверх на 80° и вниз на 20°.
Маслостанция для дистанционного управления состоит из насоса 2 с приводом от гидравлической турбины 17, масляного бака 19, фильтра 20 и контрольно-измерительной аппаратуры. Турбина приводится в действие водой, которая подается по напорному рукаву 21 от гидромонитора. Рукава 18 (напорный и сливной) соединяют маслостанцию с-пультом дистанционного управления 1, закрепленным на винтовой стойке в 8—10 м от забоя. Рукава 16 соединяют маслостанцию с гидродомкратами 9 и 15 поворота ствола гидромонитора.
Гидромонитор ГПД12-5 работает в тех же условиях, что и гидромонитор ГМДЦ-4, но рабочее давление воды у него ниже (до 12 МПа).
Гидромонитор 12ГД-2 имеет большие диаметры насадок, больший расход воды и соответственно большие габариты и массу комплекта.
Создан самоходный (на гусеничном ходу) гидромонитор 12ГП-2, рассчитанный на давление воды до 12 МПа. Управление гидромонитором полуавтоматическое с дистанционным изменением программы. Скорость передвижения гидромонитора До 2,5 м/мин. Масса —3200 кг.
Готовится к производству гидромонитор 16ГД с рабочим давлением воды до 16 МПа и с дистанционным управлением. Диаметры насадок составляют 22; 25 и 28 мм. Общая масса — 550 кг.
Производительность гидромониторов для гидрошахт составляет 30—60 т/ч для углей средней крепости и 50—100 т/ч — для некрепких углей.
В гидромониторах, применяющихся на открытых горных работах, используют насадки диаметром 52—200 мм.
При работе на гидромониторах необходимо соблюдать следующие правила безопасности:
проводить работы по гидроотбойке с разрешения горного мастера или другого лица технического надзора, имеющего на это право;
при давлении воды свыше 3 МПа применять гидромониторы только с дистанционным управлением;
на открытых горных работах не допускается установка гидромониторов вдоль откосов и неукрепленных вертикальных стенок в пределах призмы обрушения породы;

при подземных горных работах гидромониторщику следует находиться в надежно закрепленном безопасном месте и работать только при исправном оборудовании и хорошем освещении;
не допускать одновременного двустороннего размыва заходки встречными струями двух гидромониторов, установленных в соседних забоях;
для исключения несчастных случаев, вызванных разрывами гидромониторов, запорной арматуры и трубопроводов, не допускается превышение давления, установленного инструкцией по эксплуатации;
запрещается работать на гидромониторе с неисправным манометром или без него;
при отсутствии воды в напорном трубопроводе необходимо плотно закрыть задвижку, выяснить причину отсутствия воды и после устранения неполадок или отказов получить разрешение на дальнейшее производство работ;
ремонт и подготовку высоконапорного водовода к работе производить при закрытой задвижке;
по окончании работы выключать все оборудование.
МЕХАНОГИДРАВЛИЧЕСКИЕ МАШИНЫ
На гидрошахтах для проведения подготовительных выработок, осуществления нарезных и очистных работ короткими забоями на пластах средней мощности с углами падения до 15° применяется комбайн со стреловидным исполнительным органом К56МГ с гидросмывом разрушенной горной массы.
Производительность комбайна – 2,25 т/мин, расход воды – 100 –150 м3/ч, давление воды – 1–1,15 МПа. Комбайн проводит выработки высотой 1,9–2,5 м, шириной 2–3,4 м; мощность разрабатываемых пластов – 1,8–2,5 м; масса комбайна – 12,7 т.
Комбайн может работать по углям с сопротивляемостью резанию до 250 кН/м и присекать породы с коэффициентом крепости f ≤ 4 до 30% от площади забоя и абразивностью до 5 мг. Размеры выработки вчерне – 4–8,5 м2.
Для дистанционного управления гусеничным ходом комбайна, его исполнительным органом и вспомогательными механизмами применяется аппаратура дистанционного управления ПДУ, изготавливаемая заводом «Гидромаш» в г. Новокузнецке Применение переносного пульта для дистанционного управления комбайном позволяет находиться машинисту в безопасном закрепленном пространстве на расстоянии 8—12 м от комбайна (в пределах видимости).
Копейским машиностроительным заводом им. С. М. Кирова выпускается для гидрошахт комбайн «Урал 38», который предназначен для проведения нарезных выработок и очистных работ.
Вода для гидросмыва отбитого угля и гидротранспортирования его самотеком по почве пласта подводится к коронке стрелы под давлением до 3 МПа.
Производительность комбайна до 2 т/мин. Комбайн может проводить выработки с площадью сечения от 1,6 до 5,4 м2 по углю с сопротивляемостью резанию до 200 кН/м с углом наклона до 15°. Расход воды на гидротранспортирование – 150–300 м3/ч. Масса комбайна – 9,8 т. Комбайн снабжен пультом дистанционного управления.
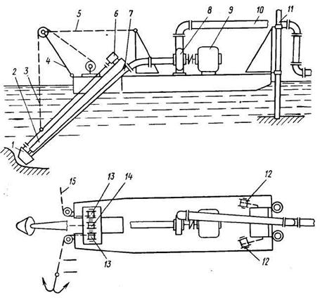
Для подводной разработки пород гидравлическим способом применяются землесосные снаряды — плавучие землесосно-транспортирующие машины непрерывного действия.
Плавучий землесосный снаряд представляет собой судно с надстройкой (рис. 4.3), имеющее: рыхлитель 1, раму 2 рыхлителя, канат 3 подвески рамы рыхлителя с подъемной лебедкой 14, стрелу 4 с подвеской 5, двигатель 6 рыхлителя, всасывающий патрубок 7, грунтовый насос 8, двигатель 9 грунтового насоса, напорный пульпопровод 10.
Силовое оборудование землесосных снарядов может быть электрическим и дизельным.
По производительности Q (м3/ч) земснаряды делятся на три группы: малой мощности Q ≤ 100 м3/ч, средней Q = 100÷500 м3/ч и большой Q≥500 м3/ч.
Земснаряды, применяемые на открытых горных работах, имеют обычно электропривод.
Технические данные плавучих землесосных снарядов, выпускаемых отечественной промышленностью, приведены ниже.
Грунтонасосами породы разрушаются за счет энергии потока воды, засасываемой насосом. Необходимая скорость транспортирования для песка составляет 0,35—0,7 м/с, для гравия – более 2,5 м/с.
Для разработки пород с каменистыми включениями используют фрезерные рыхлители.
Для удержания земснаряда на рабочем месте и осуществления его рабочих перемещений служат свайный аппарат 11 с лебедками 12 лебедки поворота 13 и канаты 15 с якорями, при помощи которых производятся веерообразные перемещения всасывающего устройства и поступательное движение земснаряда. Лебедки поворота одновременно служат для создания давления на фрезерном рыхлителе.

Рис. 4.3. Схема плавучего землесосного снаряда






