Призначення і структурні схеми. Радіомовні приймачі призначені для прийому і відтворення звукових монофонічних і стереофонічних програм радіомовлення. Згідно ГОСТ 5651—82 залежно від умов експлуатації РПП| підрозділяються на стаціонарні і переносні; по електричних і електроакустичних параметрах і комплексі споживчих зручностей — на чотири групи складності: 0 (вищу), 1, 2 і 3. Розробка радіомовних приймачів, що є|з'являються,являються| наймасовішим радіопристроєм|устроєм|, особливо складна і відповідальна|. Це пов'язано з тим, що такі приймачі повинні забезпечувати прийом сигналів в діапазонах ДХ|, СХ|, KХ, УКХ| і ДЦХ| з|із| різними видами модуляції: AM, ЧМ|, ЧМ-стерео, а останнім часом і АМ|-стерео. Крім того, вони повинні, маючи дуже високі показники якості, володіти мінімальною вартістю.

Рисунок 30.1.Структурна схема приймача АМ і ЧМ сигналів
До радіомовних приймачів пред'являються підвищені вимоги по надійності, оскільки ними користуються не фахівці|спеціалісти|, а люди різних професій. Приймачі вищої групи складності мають вищі показники якості. Наприклад, високоякісні стаціонарні приймачі мають наступні|слідуючі| показники якості: чутливість при відношенні|ставленні| сигнал /шум не менше 26 дБ| — не вище 2 мкВ|; відношення|ставлення| сигнал/шум при вхідному сигналі 1 мВ| — не менше 60 дБ|; селективність по дзеркальному каналу — не менше 66 дБ|; діапазон відтворюваних звукових частот при нерівномірності 14 дБ| — не вужче 31,5-15000 Гц.
|
|
|
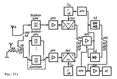
Для одночасного прийому AM- і ЧМ-сигналів приймач містить|утримує| два окремі тракти радіочастоти і звичайно загальний|спільний| тракт ППЧ| (рис. 30.1). Прийом УКХ| мовних станцій найчастіше ведеться на штирьову (телескопічну) антену, на яку, як правило, приймаються і програми КХ-диапазону|. Станції, що працюють в ДХ-і СХ-діапазонах, приймають на вбудовану феритову магнітну антену МА|. Сигнал від антени (рис. 30.1) поступає|надходить| на вхідні кола|цепи|, що представляють собою перестроювані або такі що переключаються в залежності від діапазону вузько смугові фільтри, і далі на ПерРЧ|. Після|потім| перетворення частоти сигнал посилюється|підсилюється| в двохканальному ППЧ|, включення|приєднання| якого обумовлене істотною|суттєвою| відмінністю в значеннях проміжної частоти і смуги пропускання при прийомі AM- і ЧМ-сигналів. При прийомі АМ|-сигналів проміжна частота рівна 0,465 МГц а при прийомі ЧМ-сигналів - 10,7 Мгц. Після|потім| ППЧ| ідуть|прямують| роздільні детектори AM- і ЧМ-сигналів. Продетектований сигнал, після|потім| підсилення в підсилювачі звукових частот ПЗЧ| подається на акустичну систему АС.
Структурна схема приймача, широко вживана на практиці, показана на рис. 17.2. При прийомі АМ|-сигналів перетворення частоти здійснюється в ПРЧАМ|, навантаженням якого є|з'являється,являється| фільтр ФАМ| на проміжній частоті 0,465 Мгц. При прийомі ЧМ-сигналів перетворювач частоти ПРЧАМ| використовується як додатковий ППЧ| на частоті 10,7 Мгц, навантаженням якого є|з'являється,являється| фільтр Фчм; перетворення частоти ЧМ-сигналу, що приймається, здійснюється в перетворювачі ПрЧчм блоку УКХ|. Цей блок включає вхідне коло|цеп|, ПРЧ| і перетворювач частоти ПрЧчм з|із| гетеродином Гчм.
|
|
|
|
Рисунок 30.2.Структурна схема поширеного приймача.
При використанні в тракті проміжної частоти фільтру зосередженої селекції ФЗС| для частот 0,465 і 10,7 Мгц структурна схема радіомовного приймача має вигляд|вид|, представлений|уявлений| на рис. 30.3. Перетворення частоти здійснюється в загальному|спільному| перетворювачі. У тракті АМ|-сигналів застосований ППЧ|; при прийомі ЧМ-сигналів в тракт проміжної частоти вводиться|запроваджується| додатковий каскад ППЧЧМ.
|
Рисунок 30.3.Структурна схема радіомовного приймача
Для поліпшення|покращання| селективних властивостей в приймачах вищої групи складності може застосовуватися багатократне|багаторазове| перетворення частоти. Приймач, що не містить|утримує| вихідного ПЗЧ| і АС, називають тюнером. Він призначений для роботи із|із| зовнішніми ПЗЧ| і АС.
Одним з радикальних методів поліпшення|покращання| звучання РПП| є|з'являється,являється| перехід до стереофонічного мовлення, що дає уявлення про просторове місцезнаходження джерела звуку і про його переміщення. Достатньо|досить| хороший|добрий| стереоефект одержують|отримують| вже при двохканальній передачі звуку. Для цього в стереофонічному мовленні передаються два звукові сигнали: один несе інформацію про звучання з лівого боку від джерела звуку, інший — з|із| правого. Обидва звукові сигнали передаються через один передавач на одній несучій частоті.
Система стереофонічного мовлення сумісна із звичайним|звичним| монофонічним приймачем. Це дозволяє слухачу приймати стерео-програму в звичайному|звичному| приймачі як монофонічну. У стереофонічній системі сумісність звичайно забезпечується тим, що передаються не сигнали лівого (Л) і правого (П) каналів, а їх сума і різниця: Л+П і Л-П|. У стереофонічному приймачі відбувається|походить| зворотне перетворення сигналів Л+П і Л-П в сигнали Л і П. В монофонічному приймачі виділяється тільки|лише| сигнал Л + П, який є|з'являється,являється| хорошим|добрим| аналогом монофонічного сигналу. У СРСР для передачі стереопрограмм прийнята система з|із| полярною модуляцією. У цій системі сигнали Л і П каналів перетворюються в сумарно-різницевому перетворювачі передавача в сигнали Л+П і Л-П. Сигнал Л-П модулює по амплітуді коливання з|із| піднесучою частотою f0 = 31,25 кГц|. Сума модульованої під несучої і сигналу Л+П утворює полярно-модульоване коливання (ПМК|); огинаюча додатніх напівхвиль ПМК| несе інформацію лівого, а огинаюча від’ємних|заперечних| напівхвиль правого каналу стереопрограми. Часова діаграма ПМК| зображена|змальована| на рис. 30.4.
|
Рисунок 30.4. Часова діаграма ПМК
Для поліпшення|покращання| сумісності стеремовлення з|із| мономовленням ПМК| перетворюється в комплексний стереосигнал (КСС|), який використовується для частотної модуляції несучої. Для переходу від ПМК| до КСС| здійснюється придушення в ПМК| на 14 дБ| піднесучої частоти. При цьому дещо пригнічуються|придушуються| і складові спектру, найближчі до піднесучої частоти. При прийомі стереосигналу непригніченою піднесучою в звичайному|звичному| монофонічному приймачі відбувається|походить| зменшення гучності сигналу приблизно в два рази. Пояснюється це тим, що за діючими стандартами максимальна девіація несучої при стерео-| і монофонічній передачі не повинна перевищувати 50 кГц|. При частотній модуляції несучої ПМК| основна частина|частка| девіації припадає на під несучу, рівень якої перевищує рівень решти складових спектру ПМК|. При цьому зменшується девіація від тональної (Л+П) частини|частки| спектру ПМК|, яку тільки|лише| і може прийняти монофонічний приймач. Для зменшення рівня шумів в систему стереомовлення, так само як і в звичайній|звичній| монофонічній системі, вводиться|запроваджується| коло|цеп| попередніх спотворень| з|із| постійною часу τ = 50 мкс|, що підвищує рівень високочастотних складових спектру звукових частот.
|
|
|
Спектр КСС| з урахуванням|з врахуванням| кола|цеп| попередніх спотворень| показаний на рис. 30.5.

Рисунок 30.5. Спектр КСС
Верхня передавана звукова частота FB= 15 кГц|. Згідно рис. 30.5 ширина спектру КСС| 30 Гц — 46,25 кГц|, тобто приблизно в три рази ширше за спектр звукових частот при монофонічній передачі.
|
Рисунок 30.6. Структурна схема стереофонічного приймача
Ширина спектру модульованого КСС| високочастотного сигналу на виході передавача складає близько 190 кГц|. Структурна схема стереофонічного приймача представлена|уявлена| на рис. 30.6.
Структура радіотракту стереофонічного і монофонічного приймачів ЧМ-сигналів практично однакова; проте|однак| смуга пропускання при стереофонічному прийомі приблизно на 60 кГц| ширше (при монофонічному прийомі 2Δf≈130 КГц|). Ширша смуга пропускання радіотракту стерео-приймача дозволяє відтворити КСС| з|із| малими нелінійними і амплітудно-частотними спотвореннями. Необхідність цього викликана|спричинена| тим, що на відміну від монофонічної при стереопередачі на виході ЧД| приймача повинні бути відтворені без спотворень не тільки|не лише| амплітудні співвідношення в спектрі КСС|, але і зсуви|зсуви| фаз між окремими складовими спектру. Для збереження амплітудних і фазових співвідношень між складовими спектру КСС| АЧХ| (виміряна|виміряна| на виході ЧД|) повинна бути горизонтальною, а ФЧХ| — лінійною у всьому діапазоні модулюючих частот (до 46,25 кГц|). Проте|однак| в реальних приймачах існує деякий спад АЧХ| на верхніх модулюючих частотах, для корекції якого на виході ЧД включають коректуючи RC-ланки.
|
|
|
Тенденції розвитку. Для сучасних моделей радіомовних приймачів найбільш характерні|вдача| наступні|слідуючі| особливості: поліпшення|покращання| основних показників якості, відмова від механічних і електромеханічних вузлів і деталей, застосування|вживання| цифрових систем управління, синтезаторів частот, мікропроцесорів, підвищення вимог до дизайну.
Поліпшення|покращання| основних показників якості. Воно здійснюється за рахунок застосування|вживання| сучасної елементної бази. Останніми роками з'явилося|появилося| велике число транзисторів, що стійко працюють на високих частотах і мають великі коефіцієнти підсилення, малі власні шуми, хорошу|добру| лінійність характеристик. Застосування|вживання| синтетичних матеріалів для виготовлення корпусів транзисторів дозволило різко скоротити їх вартість і збільшити об'єм|обсяг| їх випуску, що дало можливість|спроможність| застосовувати високоякісні прилади навіть в дешевій апаратурі. У радіоприймальній апаратурі широко використовуються польові транзистори (ПТ|), кращі зразки|взірці| яких здатні|здібні| працювати на частотах до десятків гігагерц|; ПТ| мають коефіцієнт шуму на 2 — 5 дБ| нижче, ніж біполярні транзистори. Застосування|вживання| двохзатворних ПТ| дозволяє простими методами регулювати підсилення каскадів і створювати високоякісні перетворювачі частоти. Розробка нових симетричних варікапних матриць з зустрічно-послідовним включенням варікапів дозволило збільшити лінійність перестроюваних контурів.
Для сучасних РПП| характерне застосування|вживання| п'єзоелектричних приладів: пьезокерамических|, монолітних кварцових фільтрів, а також фільтрів на поверхневих|поверхових,зверхніх| акустичних хвилях (ПАВ). В порівнянні з фільтрами на LC-контурах вони технологічніші, дешевші і мають в 20-50 разів менші габарити і масу. П'єзоелектричні прилади використовують для побудови|шикування| пристроїв|устроїв| частотної селекції з|із| практично будь-якою АЧХ| в діапазоні до 1 ГГц.
Особливості КХ-радіозвязку|. Короткохвильовий радіозв'язок грає важливу|поважну| роль в народному господарстві. Не дивлячись на|незважаючи на| створення|створіння| радіорелейних, супутникових і кабельних мереж|сітей| зв'язку з|із| їх великою пропускною спроможністю, короткохвильовий зв'язок зберігає своє значення як один з основних засобів для рухомих|жвавих,рухливих| служб, а також як важливий|поважний| допоміжний і резервний засіб зв'язку. На декаметрових| хвилях здійснюються магістральний, зоновий і місцевий радіозв'язки; авіаційний і морський зв'язки; радіозв'язок в системі залізничного транспорту і ін.
Для радіозв'язку на дальні|далекі| відстані використовують хвилі, що відбиваються|відбиваються| від іоносфери в процесі розповсюдження|поширення| і що дозволяють встановлювати зв'язок при відносно невеликих потужностях передавачів. Проте|однак| дисперсність, неоднорідність і нестабільність шарів іоносфери, що відбивають|відбивають|, роблять|чинять| зв'язок в декаметровому| діапазоні нестійким. Для забезпечення стійкого зв'язку необхідно знати максимальну частоту, при якій хвилі, відбиваючись|відбиваючись| від іоносфери, забезпечують роботу радіолінії з|із| найбільшою надійністю. Таку частоту називають максимально застосовною (МЗЧ|). Оскільки шар F2, від якого в основному відбувається|походить| віддзеркалення|відображення,відбиття| радіохвиль, найчастіше схильний до іоносферних обурень|збурень|, при сеансі радіозв'язку можливі зміни МЗЧ|. Для КХ-каналу| є|з'являється,являється| характерним|вдача| завмирання сигналу на вході приймача. Під завмираючим сигналом в КХ-радіолініях| мають на увазі сигнал з|із| флуктуючими| параметрами. Основний вид завад в декаметровому| діапазоні — зосереджені (див. § 14.1). Істотне|суттєве| значення мають також флуктуаційні завади.
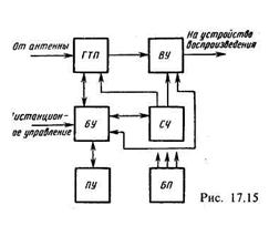
Функціональна схема. У професійному РПП| (рис. 30.7) можна виділити наступні|такі| основні функціональні блоки: головний тракт прийому ГТП|, синтезатор частот СЧ|, блок управління БУ|, вихідні пристрої|устрої| ВП|в,біля| і блок живлення|харчування| БЖ|. Завдання|задача| ГТП| - здійснювати попередню селекцію, підсилення| і перетворення сигналу|.

Рисунок 30.7. Структурна схема професійного приймача
Синтезатор СЧ| виробляє гетеродинні напруги|напруження| з|із| потрібними частотами. Вихідні пристрої|устрої| ВП| забезпечують оптимальну або близьку до неї обробку || сигналу, що приймається. Тип ВП| визначається видом сигналу, що приймається. Блок управління БУ| здійснює функції управління і контролю за роботою приймача як з місцевого пульта ПУ|, так і на відстані. На ПУ поступає|надходить| інформація про стан РПП|: про його робочу частоту настройки, ширину смуги пропускання, параметри кола АРП, тип демодулятора і т.д. Професійні KХ РПП приймають різні види телеграфних і телефонних сигналів.
Для магістрального радіозв'язку відведений діапазон частот 1,5 — 30 Мгц, проте|однак| в цілому ряді|лаві,низці| РПП| діапазон частот, що приймаються, дещо відрізняється від рекомендованого особливо із-за розширення в область частот нижче 1,5 Мгц. Для більшості професійних КХ-приймачів| коефіцієнт шуму складає 7—10 дБ|; типові норми на ослаблення|ослабіння| побічних каналів — 100-120 дБ|. Стабільність синтезаторів частот, використовуваних в РПП|, складає 1-10-7 —1-10-9. Синтезатори виконуються з|із| кроком установки частоти 1,10 або 100 Гц. Іноді|інколи| передбачається додаткова плавна перестройка в межах дискретного кроку. При роботі приймача в автоматизованих системах зв'язку велике значення має час настройки на необхідну робочу частоту, під яким розуміють інтервал між сигналом до настройки і моментом повної|цілковитої| готовності приймача до прийому в експлуатаційному режимі. Допустимий час настройки багато в чому визначає вибір системи настройки приймача, а отже, і основні конструктивні рішення|розв'язання,вирішення,розв'язування|. Найменший час настройки (10—100 мс|) реалізується при електронній настройці.
Лекція №31 Радіолокаційні приймачі.
План
1. РПП імпульсних РЛС.
2. РПП РЛС з неперервним випромінюванням.
3. Основні вузли радіолокаційних приймачів.
ЛІТЕРАТУРА
1. Головин О.В. Радиоприемные устройства. М. Высшая школа, 1987, §17.3
2. Уваров Р.В., Хиленко В.И. Радиоприемные устройства. М. Радио и связь, 1989,
Призначення і структурні схеми. Радіолокаційні приймачі (РЛП) є складовою частиною радіолокаційних станцій (РЛС), призначених для виявлення, визначення координат і параметрів руху віддалених об'єктів (цілей) шляхом прийому відбитої від них електромагнітної енергії. Залежно від структури радіолокаційного сигналу розрізняють два види РЛС: з імпульсними і безперервними сигналами. В імпульсних РЛС передавач періодично випромінює короткочасні зондуючі імпульси (ЗІ) з гармонійним або частотно-модульованим ВЧ-заповненням, які відбиваються від об'єкту і приймаються РЛП в проміжках між ЗІ. В РЛС з безперервним випромінюванням використовуються немодульовані і ЧМ-коливання. Застосовуються в РЛС і псевдовипадкові шумоподібні сигнали.
Приймачі імпульсних РЛС. В імпульсних РЛС (мал. 31.1) передавач випромінює у напрямі об'єкту короткі НВЧ-радіоімпульси, які після відбивання від об'єкту поступають на вхід приймача з тимчасовим зсувом Δt = 2R/c, де R — відстань до об'єкту. По значенню Δt можна судити про відстань R до об'єкту; вузькосмугова діаграма спрямованості антени РЛС дозволяє визначити кутовий напрям на об'єкт. Система синхронізації СС виробляє синхроімпульси (СІ), які викликають спрацьовування імпульсного модулятора ІМ. Імпульси із стабільним періодом повторення Ті від ІМ запускають потужний імпульсний передавач П, що генерує короткі радіоімпульси. Ці радіоімпульси через антенний перемикач АП, що здійснює автоматичне перемикання антени з передачі на прийом і назад і забезпечує захист входу приймача від великих рівнів імпульсного сигналу на виході передавача, що випромінюються в простір у напрямі об'єкту. Відбитий від об'єкту радіоімпульс приймається антеною і через АП подається на вхід РЛП. Оскільки передані і прийняті радіоімпульси рознесли в часі, в РЛС можна використовувати загальну антену для передавача і приймача. Сигнал з виходу АП підсилюється малошумлячим ПРЧ, перетворюється в ПрЧ в сигнал проміжної частоти, детектується в детекторі радіоімпульсів ДР, підсилюється відеопідсилювачем ВП і подається на пристрій індикації ПІ, робота якого синхронізується від СС. В ПІ реєструється час Δt між переданим і прийнятим імпульсами. Як ПІ звичайно використовують електронно-променеву трубку. Для автопідстроювання частоти гетеродина Г застосовують двохканальну АПЧ. В приймачі РЛС по схемі мал. 31.1 передбачена звична програмна і швидкодіюча АРП (див.§13.3.Л.1.).
|
Рисунок 31.1. Структурна схема приймача РЛС
|
Приймачі РЛС з безперервним випромінюванням. В подібних РЛС антена випромінює у напрямі об'єкту безперервне коливання, яке після відбивання від об'єкту приймається приймачем РЛС. При близькому розташуванні передавача і приймача частота прийнятих коливань, відбитих від рухомого об'єкту, відрізняється
Рисунок 31.2.Структурна схема РЛС з неперервним випромінюванням
від частоти випромінюваних передавачем коливань на різницеву частоту (доплерівську частоту) Fд = 2vrf0/c, де f0—частота випромінюваних коливань; vr — радіальна швидкість руху об'єкту щодо РЛС; c — швидкість світла. Значення F д знаходяться в діапазоні порівняно низьких частот; виділяючи і вимірюючи доплерівську частоту, можна визначити швидкість руху об'єкту.
Спрощена структурна схема приймача РЛС з немодульованим випромінюванням показана на мал. 31.2. Антена A1 передавача випромінює у напрямі рухомого об'єкту коливання з частотою f0, а антена А2 приймача приймає коливання з частотою f0 + Fд. На виході ПрЧ1 утворюється сигнал проміжної частоти, рівної f0 - fr + Fд; на виході ПрЧ2 — сигнал проміжної частоти, рівної fо —fг. Для виключення впливу нестабільності частоти гетеродина на точність вимірювання швидкості напругу з частотою fг для ПрЧ1 і ПрЧ2 одержують від одного генератора Г. Напругу з частотою f0 —
—fг з виходу Пр2 використовують як гетеродинну для ПрЧ3. З виходу ПрЧ3 сигнал з доплерівською частотою Fд поступає на підсилювач звукової частоти ПЗЧ, вимірник частоти ВЧ і далі на індикатор швидкості І. В приймачах, побудованих по схемі мал. 31.2, знак доплерівської частоти втрачається, що не дає можливості визначити напрям руху об'єкту. Цей недолік усувається, якщо замість ПрЧ3 застосувати квадратурний перетворювач з двома вихідними сигналами, відносний зсув фаз яких несе інформацію про знак f д.
Основні вузли радіолокаційних приймачів.Для з'єднання антени з приймачем в РЛП використовуються лінії передачі.
Лінії передачі. Розрізняють коаксіальні, хвилеводні і смугові лінії (див. § 8.6.Л.1). Коаксіальні лінії при довжині хвилі менше 10 см застосовують в основному для передачі сигналів з малою потужністю на невеликі відстані, оскільки при зменшенні довжини хвилі розміри поперечного перетину таких ліній стають настільки малими що при передачі сигналів великої потужності може виникнути їх пробій. Крім того, на частотах вище 3 ГГц істотно зростають втрати в коаксіальних лініях. В діапазоні сантиметрових і міліметрових хвиль основними лініями передачі сигналу від антени до приймача є хвилеводні лінії. Найбільш широко використовуються хвилеводні лінії прямокутного перетину. В з'єднаннях хвилеводних ліній, що обертаються, знаходять вживання хвилеводи з круглим перетином. В сучасних РЛС широко застосовують смугові лінії, діапазон робочих частот яких (0,1 — 30 ГГц) значно ширший, ніж хвилеводних ліній.
Фільтри СВЧ. При використанні хвилеводів високочастотні фільтри звичайно виконують у вигляді настроєних щілинних мостів з подовжувальними вставками, а при використанні коаксіальних ліній — у вигляді поєднання відрізків ліній. Найбільш широко фільтри СВЧ реалізуються на симетричних і несиметричних смугових лініях (див. § 8.6.Л.1); вузькосмугові смугові фільтри можуть бути виконані в микромініатюрному виконанні на ЖІГ-резонаторах.
Антенні перемикачі (АП). Вони призначені для комутації передавача до антени на час випромінювання зондуючого імпульсу і приймача до антени на час приходу відбитих сигналів. Вони повинні: забезпечити зменшення до мінімуму потужності випромінюваного зондуючого імпульсу, який просочується на вхід приймача; бути швидкодіючими, оскільки із збільшенням часу спрацьовування зростає вірогідність пробою вхідних кіл
приймача, а із збільшенням часу відновлення збільшується мінімальна дальність РЛС (мертва зона огляду на малих відстанях від РЛС); мати мінімальні втрати потужності при випромінюванні зондуючого імпульсу і особливо при прийомі відбитого від цілі сигналу; володіти великим терміном служби і високою надійністю в роботі.
Комутаційні АП складаються з настроєних відрізків ліній і газорозрядних приладів (розрядників), що змінюють опір під дією потужних НВЧ-сигналів. Розрядники включають в фідерний тракт РЛС паралельно або послідовно.
Антенні перемикачі на незворотних елементах застосовують в РЛС сантиметрового діапазону. Як незворотні елементи звичайно використовують феритові вентилі і циркулятори. При розташуванні фериту в хвилеводі передавана по хвилеводу електромагнітна енергія залежно від напряму її руху або поглинається, або проходить практично без втрат. Ферит поміщається в сильне поле постійного магніту. При цьому феромагнітний резонанс наступає тільки при русі електромагнітної хвилі в одному напрямі. При резонансі практично вся СВЧ енергія в хвилеводі поглинається вентилем.
Підсилювачі НВЧ. Такі підсилювачі служать для підвищення чутливості РЛП. Основне вживання в РЛП знаходять транзисторні ПРЧ, підсилювачі на тунельних діодах, напівпровідникові параметричні підсилювачі.
Змішувачі частот. В РЛП, як правило, змішувачі частот виконуються на діодах по балансній схемі. В короткохвильовій частині сантиметрового і в міліметровому діапазоні до частот порядку 400 ГГц, як правило, використовуються змішувачі на діодах з бар'єром Шоткі (ДБШ), що володіють великими напругою пробою і крутизною прямої гілки ВАХ і малим коефіцієнтом шуму. Для балансних змішувачів на ДБШ втрати сигналу в сантиметровому і міліметровому діапазонах складають відповідно 5-8 і 6-10 дБ, а коефіцієнт шуму - 6-9 і 7- 12 дБ. В довгохвильовій частині сантиметрового діапазону і в дециметровому діапазоні звичайно застосовують інтегральні НВЧ-змішувачі, виконані на основі смугової техніки, в міліметровому діапазоні - в основному хвилеводні конструкції.
Гетеродин. В РЛП застосовують кварцові генератори з подальшим множенням частоти (в дециметровому діапазоні), або генератори на клістроні або напівпровідникові генератори, стабілізовані зовнішнім об'ємним високодобротним резонатором (в сантиметровому діапазоні). Як напівпровідникові гетеродини в сантиметровому і міліметровому діапазонах використовують генератори потужністю 10—100 мВт на діодах Ганна з варикапною перестройкою частоти, а в міліметровому діапазоні — генератори на лавинопрольотних діодах, що мають в порівнянні з генераторами на діодах Ганна дещо більш високий рівень шумів.
Підсилювачі проміжної частоти. В ППЧ АЧХ звичайно узгоджується із спектром прийнятого імпульсу, в РЛП сантиметрового і міліметрового діапазонів звичайно частота fпр рівна 30 або 60 Мгц. При розподіленій вибірковості ППЧ виконують у виді одноконтурних резонансних каскадів, каскадів із смуговими двоконтурними фільтрами або одноконтурних взаємно розстроєних каскадів; широко використовується побудова ППЧ на ІС. Часто застосовують нелінійні ППЧ з логарифмічною амплітудною характеристикою (ЛАХ), а також ППЧ з обмеженням, що дозволяють запобігти перевантаженням приймача при великих сигналах і стисканню динамічного діапазону вихідних сигналів.
Зміст
Розділ 1. ОСНОВИ РАДІОПРИЙОМУ........................ 3
Лекція №1 Вступ. Загальні відомості про радіоприймачі.............. 3
Лекція №2 Структурні схеми радіоприймачів прямого підсилення...... 5
Лекція №3 Структурні схеми радіоприймачів супергетеродинного типу. 6
Лекція №4 Показники якості РПП................................. 8
Розділ 2. ТРАКТИ РАДІОЧАСТОТИ..................... 10
Лекція №5 Вхідні кола......................................... 10 Лекція №6 Вхідні кола метрового, дециметрового і
сантиметрового діапазону хвиль........................ 12
Лекція №7 Підсилювачі високої частоти (ПВЧ)..................... 14
Лекція №8 Зворотні зв’язки (ЗЗ) в підсилювачах.................... 16
Лекція №9 Підсилюючі пристрої і способи їх включення............. 18
Лекція №10 Схеми підсилювачів радіочастоти...................... 22
Лекція №11 Схеми підсилювачів радіочастоти з покращеними
параметрами...................................... 24
Розділ 3. ТРАКТИ ПРОМІЖНОЇ ЧАСТОТИ................ 29
Лекція №12 Загальні відомості про підсилювачі проміжної частоти.... 29
Лекція №13 Загальні відомості про перетворювачі частоти (ПЧ)....... 31
Лекція №14 Схеми ПЧ.......................................... 35
Лекція №15 Діодні ПЧ.......................................... 36
Лекція №16 Гетеродини......................................... 38
Лекція №17 Підсилювачі проміжної частоти (ППЧ)................. 41
Лекція №18 Особливості будови ППЧ............................. 42
Лекція №19 Амплітудні детектори (АД)........................... 44
Лекція №20 Спотворення сигналу при амплітудному детектуванні.
Амплітудні детектори на підсилювальних елементах....... 48
Лекція №21 Амплітудні обмежувачі(АО)........................... 52
Лекція №22 Фазові детектори (ФД)................................ 55 Лекція №23-24 Частотні детектори (ЧД)........................... 57
Розділ 5. РЕГУЛЮВАННЯ В РАДІОПРИЙМАЧАХ.
КЕРУВАННЯ І КОНТРОЛЬ...................... 61
Лекція №25 Регулювання в радіоприймачах........................ 61
Лекція №26 Автоматичне регулювання підсилювання (АРП)......... 65
Лекція №27 Автоматична підстройка частоти (АПЧ). Регулювання
смуги пропускання................................... 67
Лекція №28 Настроювання радіоприймачів. Управління і контроль
радіоприймачами.................................... 72






