Производительность масляного насоса и создаваемое им давление в значительной мере зависят от вязкости масла и числа оборотов двигателя, которые изменяются в широких пределах. Кроме того, в процессе эксплуатации сопряженные детали двигателя изнашиваются, что приводит к увеличению зазоров между ними и к повышению количества прокачиваемого масла. Чтобы обеспечить бесперебойную подачу масла ко всем трущимся деталям при неблагоприятном сочетании указанных факторов, расчетную производительность масляного насоса увеличивают, а для поддержания требуемого давления в магистрали вводят регулятор, называемый редукционным клапаном.
![]() |
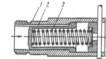
На автотракторных двигателях преимущественное распространение получили плунжерные редукционные клапаны (рис. 3) которые состоят из плунжера 2 и пружины 3, установленных в корпусе 1 с отверстиями. В случае повышения давления в магистрали плунжер 2, сжимая пружину 3, перемещается и обеспечивает перепуск части масла в поддон или во всасывающую полость насоса. Требуемая характеристика клапана достигается соответствующей тарировкой его пружины.
Рис. 3. Плунжерный редукционный клапан
1 - корпус. 2 - плунжер. 3 - пружина.
Редукционные клапаны могут устанавливаться в корпусе насоса на входе в главную масляную магистраль или в конце масляной магистрали. Установка редукционного клапана в корпусе насоса исключает возможность резкого давления на входе в магистрали, под которым смазываются подшипники, может значительно колебаться при изменении гидравлического сопротивления системы и расхода масла. Ограничиваемое редукционным клапаном в среднем находится в пределах 0,3 - 0,8 МПа.
Увеличенный расход масла в случае изношенных подшипников вызывает падение давления в магистрали, ухудшая условия смазки. К снижению давления масла в магистрали приводят также повышение гидравлического сопротивления фильтра и увеличение вязкости масла.
Поэтому в ряде конструкций (двигатели ГАЗ) редукционный клапан устанавливается в конце главной магистрали, что обеспечивает большую стабильность условий смазки подшипников. В этом случае ускоряется достижение рабочего давления в магистрали при запуске холодного двигателя и снижаются пусковые износы подшипников.
В некоторых системах смазки (двигатели ЯМЗ) устанавливаются два редукционных клапана: один — в насосе, другой, называемый сливным,— в масляной магистрали. Основной редукционный клапан предотвращает недопустимые колебания давления масла на выходе из насоса, а сливной обеспечивает более точное поддержание давления непосредственно у подшипников коленчатого вала. При такой схеме практически полностью исключается снижение давления в магистрали в случае увеличения расхода масла по мере износа подшипников.







