Люки служат для выхода десанта на воде, для наблюдения на марше при движении по-походному. Кроме того, при необходимости люки могут быть использованы для ведения стрельбы. Конструктивно люки выполнены одинаково.
Герметизация люка по периметру обеспечивается резиновым уплотнением, а плотное прилегание крышки к уплотнению – замком клинового действия.
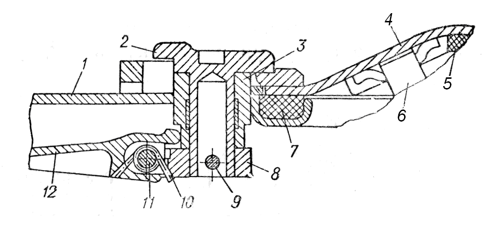
Втулка 3 (рис. 3.5) крепления замка вварена в отверстие крыши.

Рис. 3.5. Замок крышки люка десантного отделения:
1 – крыша корпуса; 2 – замок; 3 – втулка замка; 4 – крышка люка; 5 – подбой;
6 – ручка; 7 – уплотнение; 8 – кронштейн; 9 – палец; 10 – пружина; 11 – валик;
12 – рукоятка замка
Для открывания крышки 4 люка необходимо оттянуть рукоятку 12 замка вниз (до выхода зуба рукоятки из зацепления с втулкой 3) и повернуть рукоятку 12 против хода часовой стрелки. Рукой поднять крышку 4 до стопорения ее в открытом положении. Чтобы закрыть крышку люка, нужно оттянуть рукоятку стопора, крышка опустится до промежуточного положения. После этого потянуть крышку за ручку 6 (рис. 3.5) до полного прилегания крышки 4 и, оттянув рукоятку замка вниз, повернуть ее по ходу часовой стрелки.






