На рисунке представлена зависимость амплитуды колебаний груза на пружине с жесткостью k = 10 Н/м от частоты внешней силы.
Масса колеблющегося груза равна в граммах …(число). 
На рисунке представлена зависимость амплитуды колебаний математической маятника от частоты внешней силы. Длина нити маятника равна … (число) см. 10 
На рисунке представлена зависимость амплитуды колебаний груза на пружине с жесткостью k = 10 Н/м от частоты внешней силы.
Максимальная энергия в этой системе равна … (число) мДж. 
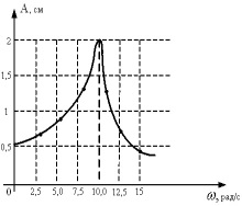
На рисунке представлена зависимость амплитуды колебаний груза массой 0,1 кг на пружине от частоты внешней силы. Коэффициент жесткости пружины равен … (число) Н/м.
10 Н/ м






