Напитки свежие. Из пахты, полученной при производстве сладкосливочного масла, вырабатывают свежие напитки, в том числе с использованием различных вкусовых наполнителей. Производство напитков из свежей пахты осуществляется по следующей технологической схеме: приемка и подготовка сырья, нормализация, внесение наполнителей (при их использовании), пастеризация, гомогенизация, охлаждение, розлив и укупоривание, хранение готового продукта.
Пахта свежая – маложирный напиток, обладающий всеми свойствами, которые присущи натуральной пахте. Имеет чистый молочный с привкусом пастеризации вкус, без крупных комочков жира, в меру вязкую консистенцию, слегка желтоватый цвет.
Физико-химические показатели продукта следующие: массовая доля жира 0,5 %, сухих обезжиренных веществ 8 %; кислотность 21 °Т.
Для выработки пахты свежей используют натуральную свежую пахту, полученную при производстве сладкосливочного масла из пастеризованных сливок. Кислотность пахты должна быть не выше 20 °Т.
Пахту пастеризуют при температуре 74-76 °С с выдержкой в течение 18-20 с или при температуре 85-90 °С с выдержкой 2-3 с, затем охлаждают до 3-5 °С и направляют на розлив в пакеты или стеклянные бутылки вместимостью 0,25; 0,5; 1 л. Допускается выпуск пахты в молочных флягах или цистернах. Бутылки с продуктом укупоривают алюминиевыми капсюлями. На капсюле, пакете или этикетке должны быть написаны тиснением или несмывающейся краской обозначения, предусмотренные действующим стандартом.
Стеклянные бутылки и пакеты с пахтой свежей укладывают в ящики или корзины и направляют в камеры для хранения. Оптимальная температура хранения продукта 8 °С. Срок реализации пахты не должен превышать 36 ч с момента выработки.
Пахта «Идеал» пастеризованная вырабатывается из пахты, полученной при производстве сладкосливочного масла методом сбивания, с добавлением высококачественных пастеризованных сливок.
Продукт представляет собой однородную жидкость, без крупинок жира, белого цвета со слегка желтоватым оттенком, обладает чистым молочным вкусом с выраженным привкусом пастеризации.
Физико-химические показатели пахты «Идеал» пастеризованной следующие: массовая доля жира 1 %, сухих веществ 8,5 %; кислотность 21 °Т.
Пахту и сливки для выработки пахты «Идеал» принимают по количеству и качеству, определяемому заводской лабораторией. Затем пахту нормализуют сливками с таким расчетом, чтобы в готовом продукте содержалось не менее 1 % жира. Нормализованную пахту пастеризуют при температуре 74-76 °С с выдержкой 18-20 с или при 85-87 °С без выдержки в зависимости от применяемого оборудования. Для улучшения вкуса и консистенции пахту рекомендуется гомогенизировать при (10,0¸15,0) МПа и 46-75 °С или при температуре пастеризации. После пастеризации продукт охлаждают и направляют для розлива в стеклянные бутылки или бумажные пакеты вместимостью 0,25; 0,5; 1 л. Хранение пахты должно производиться в камерах при температуре не более 8 °С и сроком не более 36 ч с момента выпуска.
Расход сырья на производство 1 т напитка «Идеал» составляет: пахта с содержанием жира 0,5 % - 980,5 кг, сливки 30 % жирности – 19,5 кг.
Пахта «Рассейняйская» вырабатывается из натуральной свежей пастеризованной пахты, полученной при производстве сладкосливочного масла методом непрерывного сбивания на маслоизготовителях непрерывного действия. При необходимости пахту нормализуют (по жиру) добавлением свежих высококачественных сливок.
Вкус готового продукта должен быть чистым, свойственным свежей пахте, с выраженным привкусом пастеризации, без посторонних привкусов и запахов, по консистенции напиток представляет собой однородную, в меру вязкую жидкость без крупинок жира, белого цвета со слегка желтоватым оттенком.
Физико-химические показатели пахты «Рассейняйской» следующие: массовая доля жира не менее 1 %, сухого обезжиренного остатка 8,5 %; кислотность 21 °Т.
Пахту «Рассейняйскую» фасуют в стеклянные бутылки, бумажные пакеты или пакеты из полиэтиленовой пленки вместимостью 0,25; 0,5; 1 л и хранят при температуре 8 °С не более 24 ч.

1 – емкость для хранения пахты; 2 – насосы; 3 – пастеризационно-охладительная установка; 4 – гомогенизатор; 5 – емкость для сквашивания; 6 – пластинчатый охладитель; 7 промежуточный резервуар; 8 – машина для розлива продукта в бутылки; 9 – камера хранения готовой продукции
Рисунок 9.6 – Схема технологической линии производства пахты диетической резервуарным способом

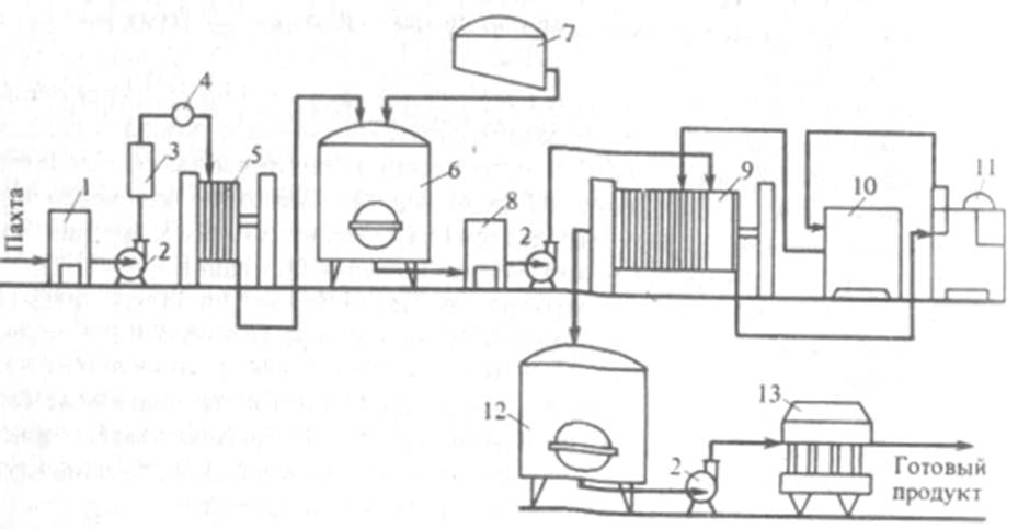
1 – фильтр; 2 – насосы; 3 – отделитель воздуха; 4 – счетчик; 5 – пластинчатый охладитель; 6 – емкость для нормализации пахты по жиру; 7 – емкость для хранения сливок; 8 – уравнительный бак; 9 – пластинчатый теплообменник; 10 – пульт управления; 11 – гомогенизатор; 12 – промежуточный резервуар; 13 – автомат для розлива
Рисунок 9.7 – Схема технологической линии производства напитка из пахты «Бодрость»
Пахта «Бодрость» повышенной жирности вырабатывается из пастеризованной пахты с добавлением свежих высококачественных пастеризованных сливок.
Пахта «Бодрость» - пастеризованная однородная жидкость без отстоя жира и осадка с чистым, свойственным свежей пахте запахом и выраженным привкусом пастеризации, белого цвета со слегка желтоватым оттенком, равномерным по всей массе.
Физико-химические показатели пахты «Бодрость» следующие: массовая доля жира не менее 3,2 %, сухих обезжиренных веществ 8,1 %; кислотность 21 °Т.
Исходную пахту, предназначенную для выработки продукта, нормализуют добавлением рассчитанного количества сливок до массовой доли жира 3,25 %. Смесь пастеризуют при 74-76 °С с выдержкой в течение 18-20 с, гомогенизируют при 55-65 °С и давлении 10-12,5 МПа, охлаждают до 4-6 °С и фасуют в бутылки или пакеты вместимостью 0,25; 0,5; 1 л. Хранят пахту «Бодрость» при температуре 6-8 °С не более 20 ч с момента выпуска.
Напиток «Любительский» вырабатывают из свежей пастеризованной пахты с добавлением сгущенной пахты и пастеризованных сливок. Напиток имеет чистый молочный вкус с выраженным привкусом пастеризации, без посторонних привкусов и запахов, консистенция однородная, без наличия крупинок жира, цвет белый со слегка кремовым оттенком.
Физико-химические показатели напитка «Любительского»: массовая доля жира 1 %, сухих обезжиренных веществ 11 %; кислотность 28 °Т.
Пахта, применяемая для производства напитка «Любительского», должна иметь кислотность не выше 20 °Т и содержать сухих обезжиренных веществ не менее 29 %, кислотность – не выше 60 °Т. Сливки 30 % жирности имеют кислотность не выше 24 °Т.
Пахту и другое сырье после сортировки нормализуют по содержанию жира и СОМО, добавляют сгущенную или сухую пахту, а при необходимости – сливки (при нормализации сухой пахтой ее предварительно растворяют в натуральной пахте). Нормализованную смесь фильтруют, пастеризуют при 76±2 °С с выдержкой 18-20 с или при 85-87 °С без выдержки. Смесь, охлаждают до 4-6 °С и разливают в бутылки и пакеты (бумажные, полиэтиленовые по 0,25; 0,5; 1 л) или во фляги.
Напиток «Кофейный» получают из натуральной свежей пахты с добавлением сахара и кофе. Продукт обладает приятным молочным, в меру сладким вкусом с выраженным запахом кофе. По консистенции напиток представляет собой однородную вязкую жидкость, допускается незначительный осадок кофе.
Физико-химические показатели напитка «Кофейный»: массовая доля жира не менее 0,4 %, сухих веществ 15 % (в том числе: сахара не менее 7 %, кофе 2 %); кислотность 21 °Т.
Пахту подогревают до 50-60 °С и добавляют в нее сахар и вытяжку кофе. При подготовке вытяжки сухой кофе растворяют в воде (соотношение 1:3) в соответствии с рецептурой, прилагаемой к технологической инструкции. Раствор кофе кипятят в течение 5 мин, выдерживают 30 мин и добавляют в смесь пахты с сахаром через марлевые фильтры. Полученную смесь пастеризуют при температуре 85-90 °С с выдержкой в течение 5-10 мин. Затем охлаждают до 3-8 °С и направляют для розлива в бутылки или пакеты 0,25; 0,5; 1 л. Готовый продукт хранят в камерах при температуре до 8 °С не более 24 ч с момента выпуска.
Коктейль изготовляют из пахты, полученной при выработке кислосливочного масла, с добавлением сгущенного нежирного молока, яблочного сока и сахара с последующим газированием пищевой углекислотой.
Готовый продукт должен иметь чистый кисломолочный вкус, выраженный аромат яблочного сока, однородную пенящуюся консистенцию, белый цвет с кремовым оттенком, равномерный по все массе.
Физико-химические показатели: массовая доля сухих веществ 15 % (в том числе сухих обезжиренных веществ молока не менее 9 %), сахара 5 %; кислотность 80 °Т.
Пахта «Идеал» сквашенная производится из пахты, полученной при выработке сладкосливочного масла, с добавлением пастеризованных сливок и сквашиванием смесью заквасок чистых культур ацидофильной палочки и диацетилобразующего молочнокислого стрептококка.
Готовый продукт имеет чистый кисломолочный вкус, однородную консистенцию, напоминающую жидкую сметану со свойственными данному продукту вязкостью и тягучестью, белый со слегка желтоватым оттенком равномерный по всей массе цвет.
Физико-химические показатели пахты «Идеал» сквашенной: массовая доля жира 1 %, сухих обезжиренных веществ 8,5 %; кислотность 85-110 °Т.
Пахта диетическая – кисломолочный напиток, полученный путем сквашивания натуральной свежей пахты смесью заквасок молочнокислых стрептококков и ацидофильных палочек слизистых рас.
Пахта имеет чистый выраженный кисломолочный вкус и запах, в меру вязкую без крупинок жира однородную по всей массе консистенцию.
Физико-химические показатели пахты диетической: массовая доля жира 0,5 %, сухих обезжиренных веществ 8 %; кислотность 120 °Т.
Пахту диетическую вырабатывают двумя способами: резервуарным и термостатным.
При использовании пахты, полученной при производстве кислосливочного масла, для заквашивания применяют активизированную закваску ацидофильных палочек и стрептококковую закваску. Активизацию закваски проводят за 2 ч до заквашивания пахты. При использовании пахты, получаемой при выработке сладкосливочного масла, для заквашивания применяют смесь заквасок, состоящую из 70 % закваски чистых культур молочнокислых стрептококков и 30 % ацидофильных палочек.
Пахта сквашенная вырабатывается из пахты, получаемой при производстве сладко- или кислосливочного масла и сквашенной закваской, которую готовят на чистых культурах молочнокислого стрептококка.
Пахта сквашенная имеет чистый кисломолочный вкус, иногда с незначительным кормовым привкусом. По консистенции продукт представляет собой однородную жидкость, напоминающую жидкую сметану, без крупинок жира. При образовании сгустка допускается незначительное отделение сыворотки (не более 2 % по объему). Пахта сквашенная имеет молочно-белый с голубоватым оттенком равномерный по всей массе цвет.
Физико-химические показатели пахты сквашенной: массовая доля сухих обезжиренных веществ не менее 8 %; кислотность 80-120 °Т.
Напиток «Свежесть» вырабатывают из пастеризованной пахты, сквашивая ее закваской, приготовленной на смеси чистых культур молочнокислых бактерий: термофильных молочнокислых стрептококков (80 %), болгарской палочки (10 %) и слизистых рас ацидофильной палочки (10 %). Закваску готовят на обезжиренном молоке.
Напиток «Свежесть» имеет чистый кисломолочный запах, без посторонних привкусов, однородную без крупинок жира в меру вязкую консистенцию, белый со слегка желтоватым оттенком цвет.
Физико-химические показатели напитка «Свежесть»: массовая доля жира не более 0,7 %, сухих обезжиренных веществ не менее 8 %; кислотность 80-100 °Т.
Для выработки напитка «Свежесть» используют натуральную пахту кислотностью не выше 20 °Т, полученную при выработке масла способом сбивания и преобразования высокожирных сливок.
Напиток вырабатывают резервуарным и термостатным способами. Пастеризацию пахты проводят при температуре 85-87 °С с выдержкой в течение 5-10 мин или при температуре 90-92 °С с выдержкой 2-3 мин. Затем пахту охлаждают до температуры заквашивания 43 °С. Заквашивают пахту закваской, взятой в количестве 5 % к массе пахты. После заквашивания пахты и тщательного перемешивания при резервуарном способе производства сквашивание проводят в емкости в течение 2,5-3 ч до образования плотного сгустка кислотностью 70-80 °Т. По окончании сквашивания сгусток перемешивают до получения продукта однородной достаточно вязкой консистенции, без комков. Полученный продукт охлаждают до 8-15 °С и направляют на розлив, после чего напиток поступает в холодильную камеру для хранения. При термостатном способе производства напитка «Свежесть» после заквашивания пахту сразу же разливают в бутылки или пакеты вместимостью 0,5 или 1 л, помещают в термостат и выдерживают при температуре 43 °С в течение 2,5-3 ч до образования сгустка и повышения кислотности до 80 °Т. Сквашенный напиток охлаждают и отправляют в камеру для хранения. Напиток хранят при температуре не выше 8 °С не более 36 ч с момента выработки.
Напиток «Школьный» вырабатывается из пастеризованной пахты с добавлением сахара и плодово-ягодных натуральных сиропов путем сквашивания закваской, приготовленной на чистых культурах болгарской палочки, ацидофильной палочки слизистой расы и термофильных молочнокислых стрептококков.
Напиток «Школьный» имеет чистый запах, кисломолочный в меру сладкий вкус с привкусом и ароматом добавленных сиропов. По консистенции напиток представляет собой однородную без крупинок жира вязкую жидкость. Цвет напитка однородный по всей массе и обусловлен цветом введенных сиропов.
Физико-химические показатели напитка «Школьный» следующие: массовая доля жира не более 0,5 %, сухих обезжиренных веществ молока не менее 18, сахарозы не менее 11 %; кислотность 80-120 °Т.
Напиток вырабатывают резервуарным и термостатным способами. При выработке напитка резервуарным способом пахту пастеризуют при 87±2 °С с выдержкой 5-10 мин или при температуре 95±2 °С с выдержкой 15-20 с и охлаждают до температуры заквашивания 41±2 °С. Сразу после охлаждения в емкостях пахту заквашивают приготовленной на чистых культурах болгарской палочки, ацидофильной палочки слизистой расы и термофильных кисломолочных стрептококков закваской. Количество закваски 1,5 %. Требуемое количество плодово-ягодных сиропов вносят при температуре 23±2 °С в емкость со сквашенной пахтой при включенной мешалке. Перемешивание заканчивают через 15 мин после внесения закваски. Напиток разливают в стеклянную тару или бумажные пакеты с полиэтиленовым покрытием. Фасованный напиток направляют в холодильную камеру, где его охлаждают до температуры 7±1 °С. При выработке напитка «Школьный» термостатным способом плодово-ягодные сиропы вносят при 23±2 °С в охлажденную до температуры сквашивания смесь. Допускается внесение сиропов при 40 °С. Заквашенную смесь немедленно разливают при периодическом ее перемешивании. В термостатной камере при температуре 41±2 °С смесь сквашивают в течение 4-10 ч. Конец сквашивания определяют по образованию достаточно плотного сгустка и повышению кислотности до 72±2 °Т. Затем продукт немедленно помещают в холодильную камеру, где его хранят до реализации. Готовый напиток фасуют в стеклянные бутылки и бумажные пакеты вместимостью от 0,2 до 1 л.
Продолжительность хранения напитка при температуре до 8 °С не более 24 ч с момента выпуска.
Напиток «Пахта сладкая» получают из натуральной свежей пахты, сквашенной смесью заквасок молочнокислых стрептококков и ацидофильных палочек, взятых в соотношении 7:3, с добавлением сахара.
Пахта имеет приятный кисломолочный умеренно сладкий вкус. По консистенции напиток представляет собой однородную в меру вязкую жидкость.
Физико-химические показатели готового продукта следующие: массовая доля жира 0,4 %, сухих обезжиренных веществ молока 13, сахара 5 %; кислотность 80-120 °Т.
Напиток вырабатывается двумя способами: резервуарным и термостатным по технологии пахты диетической с той лишь разницей, что перед пастеризацией в пахту, подогретую до температуры 50-60 °С, вносят предварительно просеянный сахар-песок.
Кефир из пахты имеет кислотность 65-70 °Т.
Пахту отбирают непосредственно в процессе выработки масла, направляют в емкость, где охлаждают до температуры заквашивания (24-25 °С) и заквашивают кефирной закваской в количестве 0,4-0,5 %. Продукт разливают в бутылки вместимостью 0,5 л, сквашивают при температуре 18-19 °С в течение 4-5 ч, охлаждают в камере при 3-4 °С.
Для выработки сквашенных продуктов из пахты используют серийное технологическое оборудование, применяемое для производства традиционных кисломолочных продуктов.






