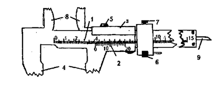
К числу простейших физических измерений относятся определения линейных и угловых размеров тел, их объема, а также массы. Для увеличения точности многих измерительных приборов служит устройство, называемое нониусом.
Линейный нониус штангенциркуля (Рис.4)представляет собой неболь
![]() |
Рис.4
шую линейку А, скользящую вдоль основного масштаба В, на этой линейке А нанесена шкала, состоящая из m делений (Рис.5). Каждое из делений нониуса имеет длину X.
Длина наименьшего деления основного масштаба Y. Длина нониуса подбирается равной длине целого числа наименьших делений основной шкалы. При этом каждое деление нониуса будет меньше соответствующего деления шкалы z на определенную часть наименьшего деления масштаба y: z = cy, где c –произвольное число. Величина
D x=z–x=cy–x (I.1)
называется точностью нониуса. Обычно в теории рассматривается случай, когда Z = Y, т.е. каждое деление нониуса на величину D x меньше наименьшего деления шкалы Y. Однако на практике для удобства измерений "растягивают" нониус так, что каждое его деление становится на величину x меньше определенного, но не наименьшего деления основной шкалы Z. Мы рассматриваем этот, более общий случай. По конструкции нониуса длина всех его m делений меньше длины такого же числа m делений z основной шкалы на длину наименьшего деления основной шкалы y:
|
|
|
mx=cmy–y=(cm–1)y.
Отсюда
mcy–mx=y,
и точность нониуса
D x=cy – x=y / m (I.2)

Рис.5
| Процесс измерения длины заключается в следующем: начало измеряемого отрезка l (Рис.6) совмещается с нулевым делением основного масштаба. Пусть при этом конец отрезка окажется между делениями номеров k и (k+1). Из рис.6 видно, что измеряемая длина l=ky +D l, где D l – неизвестная пока доля (k +1)-го деления масштаба. К концу отрезка l прикладывается нуль нониуса. | |
| Рис. 6 | ||
| Так как деления нониуса не равны делениям масштаба, то обязательно найдется на нем такое деление n, которое будет ближе всего подходить к соответствующему делению масштаба. В технических нониусах линейку нониуса делают обычно короткой, так что совпадать с делением масштаба может лишь одно из делений этой линейки. Как видно из рис.6, Dl=nz – nx=n(z – x)=nD x=n(y/m). | ||
| На рис.6а приведен реальный снимок штангенциркуля. Деления на основной шкале A до 0 нониуса дают значение: 19 мм. Далее видно, что точно совпадает с делением основной шкалы седьмое деление нониуса B. Это значит, нониус показывает 0,7 мм. Окончательное значение величины будет 19,7 мм. | |
| Рис. 6а | ||







