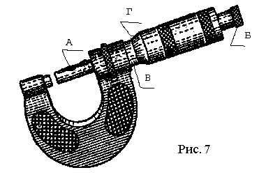
При точных измерениях расстояний нередко применяются микрометры (Рис.7). Основной деталью микрометра является микрометрический винт, которым приводится в движение подвижный стержень А (вращают винт, только за "трещетку" Б, что бы не нарушить нулевую точку микрометра). Если микрометр правильно отрегулировать, то величина зазора между стержнями (равна измеряемому размеру) определяется по шкале на колонке В (целое определяется по нижней части шкалы, а половина микрометров - по верхней) и на круговом нониусе Г, окружность которого разделена на 50 равных частей. Шаг винта микрометра равен 0.5 мм, т.е. за полный поворот винта подвижная скоба перемещается на 0.5 мм. Этому перемещению соответствует 50 делений барабана Г. Следовательно, поворот на одно деление барабана соответствует смещению подвижной скобы на 0.01 мм. С этой точностью и производится измерение с помощью микрометра.






