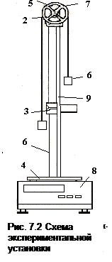
Схема экспериментальной установки представлена на рис.7.2. На вертикальной стойке 1 закреплены три кронштейна 2,3 и 4. На кронштейне 2 закреплен блок 5; трение в оси блока мало. Через блок перекинута нить малой массы с грузами 6 на концах. На кронштейне 2 закреплен также электромагнит 7, с помощью которого производится торможение системы. На кронштейне 3 смонтированы два фотодатчика, которые выдает на миллисекундомер 8 сигналы начала и окончания счета времени движения системы при прохождении правым грузом оптической оси фотодатчиков. Положение оптической оси фотодатчика отмечено меткой на кронштейне 3. С помощью этой метки производится отсчет положения фотодатчика по миллиметровой шкале 9. Кронштейн 3 может перемещаться и фиксироваться на любом уровне стойки 1. Кронштейн 4- площадка с амортизатором для гашения удара груза после прохождения им зоны фотодатчика. Начальное положение правого груза определяется координатой его нижнего торца по шкале 9. Путь, пройдет правым грузом, определяется по разности начального положения нижнего торца груза и положения оптической оси фотодатчика.






