2. Китайский город. Из трактата Као-Гун-цзи. Абсолютно регулярный план основан на модульной квадратной сетке
Архитектурные трактаты существовали и в Древнем Китае. Самый старый из них «Као-гун-цзи» является составной частью книги ритуалов династии Чжоу и своими корнями уходит в конец II тысячелетия до н. з. Город, описываемый в этом трактате, имеет квадратный план со сторонами длиной 9 ли5, что составляет примерно 5000 м.
К ПОЗ г. относится архитектурный трактат «Ин-цзао-фаши», написанный Ли Мин-чжуном, который обобщил принятые в его время принципы строительства зданий и городов. В Китае принципы устройства городов тоже зависели от космогонических и религиозных представлений, однако и здесь решающим является многолетний практический опыт и знания.
Все богатство градостроительных теорий древнейших внеевропейских культур далеко не исчерпывается Месопотамией, Индией и Китаем. В общей истории градостроительства существенное место должно быть отведено древним городам Средней Азии и Японии, Египта и африканских государств, а также выдающемуся художественному и техническому уровню градостроительства коренных жителей Центральной и Южной Америки.
|
|
|
==0- '
| О 100 |
| 1000 м |
* Наиболее известен зик-курат «Этеменанки» (Вавилонская башня), 7 в. до и. э., достигавший в высоту 90 м. На верхнем ярусе зиккуратов размещались святилища. (Прим. ред.)
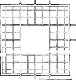
3. Джамбас-кала. Хорезм; основан в IV в. до н. э. Весь город состоит из двух общинных домов, между которыми проходит улица, ведущая к храму огня. В плане общинных домов можно усматривать один из источников формирования регулярного городского плана

О 50 100 м
планы. Наиболее характерный пример — араб халифом Мансуром6.
Археологические раскопки, проведенные во всех этих частях земли, свидетельствуют о развитом искусстве строительства городов. К сожалению, не сохранились или, будем лучше надеяться, что еще не найдены свидетельства первоначальных теоретических градостроительных представлений создавших его народов. В большинстве известных случаев здесь встречаются или города с неправильной планировкой, или же с разной степенью развития шахматного плана,:з котором тоже выделяются главные улицы, пересекающие центр. В некоторых районах мы находим круглые ский Багдад, основанный
Платоновский идеал греческого поселения






