Волокнистые фильтры бывают ячеистые и рулонные.
При невысокой концентрации тонкодисперсной пыли менее 5 мкм (до 10-15 мг/м³) для очистки проточного воздуха применяют ячеистые фильтры (рис.2.3.20). Они представляют собой металлическую коробку, заполненную фильтрующим материалом. Заполнителями могут быть стальные гофрированные сетки (фильтры ФЭР), винипластовые сетки (фильтры ФЯВ), модифицированный пенополиуретан (фильтры ФЯП) и стекловолокнистый фильтрующий материал (фильтры ФЯУ). Стальные и винипластовые сетки в фильтрах смачивают маслом с целью повышения их пылеулавливающей способности. По мере забивания фильтров пылью их регенерируют путем промывки в щелочном растворе (металлические сетки), либо промывкой в воде с последующей продувкой сжатым воздухом (пенополиуретан), либо просто заменяют загрязненный фильтрующий материал новым. Эффективность пылезадержания фильтров на атмосферной пыли составляет 60-80%, удельная воздушная нагрузка равна 7000 м³/(ч*м²). При увеличении сопротивления фильтра от начального значения 50 Па до конечного – 150 Па пылеемкость фильтров (способность поглощать пыль) составляет от 350 (для ФЯП) до 2600г/м² (для ФЯВ).
Для тех же целей применяются самоочищающиеся масляные фильтры (рис.2.3.21.), в которых в качестве фильтрующих элементов используют пружинно-стержневые сетки,

натянутые на приводной и натяжной барабаны. При прохождении через масляную ванну сетка очищается от пыли и вновь замасливается. Производительность фильтров составляет 10-250 тыс. м³/ч. Сопротивление фильтров невысокое (порядка 100-150 Па), эффективность пылезадержания 90-98% для частиц крупнее 3 мкм, для более мелких частиц эффективность снижается до 50-60%.
Масляные фильтры долговечны, надежны и дешевы.
В рулонных фильтрах (рис.2.3.22.) для очистки воздуха используют стекловолокнистые капроновые или бумажные фильтрующие материалы, изготовленные в виде полотнищ длиной 15 … 20 м.
Рулонные волокнистые фильтры бывают плоские и складчатые (ФРУ). В верхней и нижней части фильтров установлены катушки, которые позволяют перематывать фильтрующий материал по мере загрязнения.
К бумаге и различным тканям, которые используются в качестве фильтров предъявляются определенные требования. Эти материалы должны быть стойкими, иметь низкую гигроскопичность, высокую воздухопроницаемость, достаточную пылеемкость, высокое сопротивление износу, легкое удаление пыли при регенерации и работать в различных температурных режимах.

Губчатые воздушные фильтры снаряжаются фильтрующим слоем губчатой структуры из полимерных материалов (полиуретан и др.). Эффективность их при очистке загрязненного мелкодисперсной пылью воздуха достигает 95–98%.
Очистка таких фильтров проводится за счет автоматической промывки водой.
Фильтры из сыпучих материалов (рис.2.3.23.) состоят из одного, двух, трех слоев гравия, песка и других материалов. Однако подобные виды фильтров применяются очень редко.
Электрофильтры.
Физический принцип действия электрофильтров основан на различии диэлектрических постоянных частиц пыли и газа, что позволяет придать частицам заряд определенной величины и затем осадить их на осадительный электрод. В электрофильтрах на пыль действует кулоновская сила (Fк), которая для частиц со средней диэлектрической проницаемостью e=5 равна:
Fк = 2∙e·p∙Е²∙d² (2.3.36)
Приравнивая эту величину к стоксовой силе сопротивления газовой среды получим скорость осаждения:
(2.3.37)
где e о - абсолютная диэлектрическая проницаемость вакуума, Ф/м;
Е - напряженность электрического поля, В/м.
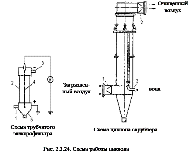
Работа электрофильтров основана на создании сильного электрического поля при помощи тока высокого напряжения (50-100 кВ), подводимого к коронирующим электродам (рис.2.3.24).
При прохождении запыленного воздуха через фильтр происходит ионизация воздуха, т.е. образование положительных и отрицательных ионов.
|
Степень очистки электрофильтров доходит до 99-99,5%.
Все в большем масштабе применяют пластинчатые фильтры. Осаждение пыли в них происходит на параллельно размещенных пластинах, служащих осадительными электродами, между которыми натянуты коронирующие электроды. Эти установки требуют герметичных кожухов и устраиваются для горизонтального и вертикального прохода газа. Успешно применяются электрофильтры для очистки влажного пара, выделяющегося из сушилок, для обеспыливания технологических выбросов, очистки выбросов вращающихся печей цементных заводов, цементных мельниц, дробилок и устройств для транспортировки сырья и др.
Из формулы (2.3.37) видно, что скорость осаждения очень сильно зависит от напряженности электрического поля и диаметра частиц пыли. Электрофильтры бывают однозонные и двухзонные (рис.2.3.25). В однозонных фильтрах зарядка (коронирующие электроды) и осаждение пыли (осадительные электроды) осуществляется в одной зоне, а в двухзонных – этот процесс протекает в двух зонах. Если пыль способна взрываться, то применение электрофильтров категорически запрещено.
Для улавливания пыли в трубопроводах промышленных предприятий разработаны три способа. Сущность первого способа заключалась в улавливании пыли (пыль несет на себе

заряд) с помощью экранов фильтров, заряженных статическим электричеством. В воздуховоде перпендикулярно направлению движения воздушного потока устанавливается несколько перфорированных экранов, заряженных статическим электричеством. Материал экрана выбирали по величине поверхностной плотности заряда и разности потенциалов. Зарядку экранов осуществляли путем вращения суконной щетки на специально выполненной для этой цели установке, вмонтированной в воздуховоде. Устанавливались экраны двух видов: из оргстекла, заряжаемого положительно и из полистирола, заряжаемого отрицательно. Для сохранения эффективности улавливания пыли необходимо производить регенерацию экранов вращением щетки в течение одной минуты. Очищенный от пыли экран одновременно подзаряжается статическим электричеством. Максимальная эффективность улавливания тонкодисперсной кварцевой пыли составляет 60%. Предлагаемый метод может быть использован как дополнительный при улавливании мелкодисперсной пыли.
Второй способ улавливания пыли это фильтр из высокократной пены, биоразлагаемого вещества СВ-105 (ПАВ-СВ-105).
Пенный фильтр представляет собой камеру, вмонтированную в горизонтальный трубопровод, сечение которого перекрывается металлическими сетками с диаметром ячеек 16 мм². Одна сетка крепиться неподвижно, вторая – свободно перемещается в трубопроводе, изменяя тем самым длину камеры. В образованную таким образом камеру подают пену, полученную с помощью пеногенератора.
100% - ная эффективность улавливания пыли достигается при 100%-ном заполнении камеры высокократной пеной. Некоторое уменьшение параметра оптимизации (от 100 до 93%) происходит при увеличении скорости движения воздуха от 1 до 7м/с. В процессе работы фильтра пена теряет устойчивость, превращаясь в водный раствор ПАВ, который попадает в шламоприемник, унося с собой пыль.
Третий способ улавливания пыли представляет собой фильтр из «взвешенного» слоя пенопластмассовых шариков. Внутри трубопровода перпендикулярно направлению движения воздушного потока установлены две металлические сетки размерами 39,5 * 39,5 см², площадью ячеек 1 * 1 см. Одна из них крепиться неподвижно, вторую можно перемещать. К сетке шарнирно крепиться откидной экран для приведения шариков в поступательное и вращательное движение за счет движения самого воздушного потока. Экран имеет размеры 30,0 * 39,5 см², устанавливается под углом 30° к горизонту, верхняя часть экрана шириной 20 см перфорирована, диаметр отверстий 1 см, шаг перфорации 4,5 см. Фиксация экрана осуществляется с помощью откидных крючков. Пространство между сетками (камера для пылеулавливания) заполняется шариками из пенополистирола. Для постоянной регенерации поверхности шариков последние орошаются водой из форсунок. Наибольшая эффективность улавливания пыли (88%) достигается при заполнении площади камеры шариками на 88% по высоте, при максимальном расходе воды 0,5 л/мин. Предложенные способы эффективны, экономичны, просты по конструкции, удобны в эксплуатации и могут быть использованы при скоростях движения воздушного потока в пределах 1- 7 м/сек. для улавливания тонкодисперсной пыли.






