Содержание работы:
1. Мобильный раздатчик КТУ-10А.
2. Кормораздатчик РММ-Ф-6.
3. Раздатчик-смеситель РСП-10.
4. Измельчитель - смеситель-раздатчик кормов ИСРК-12 «Хозяин».
5. Стационарный кормораздатчик РВК-Ф-74И.
6. Стационарный шайбовый кормораздатчик КШ-0,5.
На фермах крупного рогатого скота наибольшее распространение получили кормораздатчики КТУ-10, РММ-Ф-6, РСП-10, ИСРК-12 «Хозяин», а на свиноводческих КМП-Ф-3,0 и КТС-Ф-1,0.
Мобильный кормораздатчик КТУ-10А (тракторный универсальный прицепной вместимостью 10 м3) предназначен для транспортировки и дозированной выдачи измельчённых стебельных кормов или кормовых смесей на выгульных площадках или в животноводческих помещениях с шириной кормового прохода не менее 2,2 м.
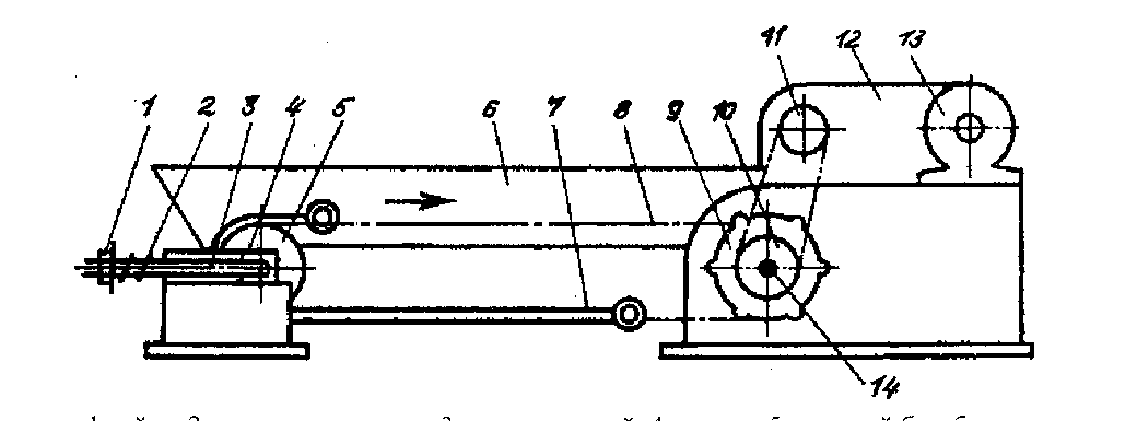
Устройство (рис. 65, а): КТУ-10А представляет собой двухосный прицеп на рессорах и пневматических колёсах, агрегатируемый с тракторами тягового класса 1,4 или 0,9 с приводом рабочих органов от вала отбора мощности трактора. Объем кузова 10 м3, а с надставленными бортами 15 м3.
|
|
|

а – КТУ-10А; б – РСП-10; в – ИСРК-12 «Хозяин»; г – КМП-Ф-3,0; д – КТС-Ф-1,0
1 – бункер; 2 – блок битеров; 3, 4, 7 – соответственно продольные, поперечные и выгрузные транспортеры; 5 – шнеки-смесители; 6 – заслонки; 8 – направляющий лоток; 9, 12 – раздающие и выгрузные устройства; 10 – компьютерная система; 11 – мешалки; 13 – гидромотор; 14 – тягово-прицепное устройство; 15 – карданный вал
Рисунок 65 – Схема мобильных бункерных раздатчиков кормов
Внутри кузова по его дну параллельно размещены два полотна продольного скребкового транспортёра 3, работающие совместно. В передней верхней части кузова установлен блок битеров 2. Также впереди, но несколько ниже продольного транспортера размещен поперечный выгрузной транспортер 4, состоящий из двух независимых ленточных полотен. При выгрузке корма вбок на одну сторону (рис. 66 б, в) полотна движутся в одном направлении, при выгрузке на две стороны (рис. 66, г) движения полотен противоположны.

а – возможные схемы раздачи кормов; б, в – на одну сторону; г – на две стороны; д – выгрузка назад 1 – кузов; 2 – битеры; 3 – дополнительный выгрузной транспортер; 4, 5 – соответственно продольный и поперечный транспортеры
Рисунок 66 – Технологическая схема работы КТУ-10А
Рабочий процесс (рис. 66): кузов раздатчика загружают измельченными корнеплодами или зелёной массой и транспортируют к месту раздачи корма. По приезду в коровник, подъехав к кормушкам, тракторист включает ВОМ и едет по кормовому проходу на пониженной скорости (1,7-2,5 км/ч).
При боковой раздаче корма продольный транспортер подает его к блоку битеров для разрыхления. Разрыхленный корм дозированно сбрасывается битерами на поперечный транспортер, а тот подает в кормушки. При разгрузке кузова назад (рис. 66, д) направление движения продольного транспортера изменяют с помощью храпового механизма (рис. 67).
|
|
|
Норму выдачи корма регулируют изменением скорости движения продольного транспортера и поступательной скорости трактора, а также настройкой храпового механизма.
Одним раздатчиком КТУ-10А можно обеспечить подвозку и раздачу кормов на ферме в 300-400 коров по разным технологическим схемам.

а - вперед; б- назад
1 – шатун; 2, 5 – соответственно собачка подвижная и неподвижная; 3 – диск-эксцентрик; 4 – храповое колесо; 6 – сетка; 7 – рычаг Рисунок 67 – Установка собачек храпового механизма привода продольного транспортера
Кормораздатчик РММ-Ф-6 одноосный малогабаритный предназначен для транспортировки и выдачи на ходу в кормушки измельченной кукурузы, зеленой массы, сенажа, силоса, а также корнеплодов в помещениях с узкими кормовыми проходами.
Устройство (рис. 68): по конструкции кормораздатчик РММ-Ф-6 представляет собой одноосный полуприцеп с устройством для изменения ширины колеи от 1150 до 1540 мм. В кузове объемом 6м3 размещены продольный напольный 6 и два поперечных транспортера 10; блок битеров 2 и механизм привода. Рабочие органы приводятся в действие от ВОМ тракторов Т-16, Т-25А.
Рабочий процесс кормораздатчика РММ-Ф-6аналогичен КТУ-10А, поскольку рабочие органы у них практически одинаковы.
Однако имеются незначительные конструктивные отличия, в том числе:
· крепления у скребков продольного транспортера выполнено быстросъемными, что ускоряет ремонт и обслуживание машины;
· полузакрытые восьмигранные битеры вместо открытых гребенчатых позволяют раздавать крупноизмельченные корма;
· повышенная надежность и технологичность работы поперечного транспортера за счет применения облегченной ленты ТК-100-600 и более надежная конструкция соединения концов ленты при помощи фасонных накладок и болтов;

1 – ограждение битеров; 2 – блок битеров; 3, 4 – борта; 5 – тяга; 6, 10 – соответственно продольный и поперечный транспортер; 7 – система пневмотормозов; 8 – редукторов; 9 – храповой механизм; 11 – домкрат; 12 – прицепная серьга-сница; 13 – карданный вал; 14 – ограждение
Рисунок 68 – Кормораздатчик малогабаритный мобильный РММ-Ф-6
· телескопическое дышло позволяет агрегатировать машину как за гидрокрюк, так и прицепную балку трактора;
· от случайных перегрузок задействована шаровая предохранительная муфта повышенной точности срабатывания с зубчатой муфтой;
· храповой механизм с приводом от двойного эксцентрика обеспечивают плавную подачу продольного транспортера;
· в конструкцию кузова машины введена складная лестница, которая облегчает доступ для обслуживания рабочих органов машины.
Прицепной раздатчик-смеситель кормов РСП-10А предназначен для приема и взвешивания заданной дозы компонентов рациона (концентрированных кормов, измельченных грубых кормов, сенажа, силоса, гранул и других компонентов), транспортирования, смешивания и равномерной выдачи полученной кормосмеси в кормушки высотой не более 750 мм в помещениях для крупного рогатого скота и на откормочных площадках, с шириной кормового прохода не менее 2 м.
Устройство (рис. 65, б): РСП-10 включает в себя кузов 1 вместимостью 10 м3 с тремя горизонтально расположенными смешивающими рабочими органами шнекового типа; выгрузной транспортер 7 с направляющим лотком 8, ходовую часть, механизм привода рабочих органов.
В конструкцию РСП-10А по сравнению с выпускавшимися ранее РСП-10 внесены изменения, в том числе:
· применена безрамная схема с целью снижения массы машины и её высоты;
|
|
|
· прицепное дышло 14 к трактору приварено к передней торцевой и нижней части кузова;
· выгрузной транспортер и выгрузное окно смещены в середину кузова. Выгрузное окно оснащено гидрофицированной заслонкой.
Рабочий процесс: подготовленный к работе кормораздатчик подают под загрузку кормовыми компонентами. Перед загрузкой кормов закрывают выгрузное окно, отключают выгрузной транспортер и включают в работу шнеки-смесители. После загрузки кормораздатчик с включенными шнеками 5 транспортируют к месту выдачи кормов и кормовые компоненты в это время перемешиваются. При приближении к кормушкам отключают шнеки-смесители, опускают кормонаправляющий лоток 8 в рабочее положение, открывают заслонку выгрузного окна и, передвигаясь вдоль кормушек со скоростью, необходимой для обеспечения заданной нормы выдачи, раздают кормосмесь.
Измельчитель-смеситель-раздатчик кормов ИСРК-12 «Хозяин» совместного производства Беларуси и Италии предназначен для измельчения стебельных кормов, корнеплодов и силоса, их перемешивания и дозированной выдачи на две стороны.
Устройство (рис. 65, в): ИСРК-12 «Хозяин» представляет собой одноосный тракторный прицеп, агрегатируемый с тракторами типа МТЗ, и может дооснащаться грейферным погрузчиком для забора сена, соломы и корнеплодов, а также фрезерным барабаном для забора силоса. Измельчитель-смеситель-раздатчик кормов ИСРК-12 «Хозяин» состоит из бункера 1 вместимостью 12 м3, в нижней части которого расположены два горизонтальных шнека 5, выполняющих функции измельчения и смешивания компонентов корма. С правой и левой стороны бункера посередине в его передней части расположены выгрузные люки, закрываемые заслонками. Под люками расположены транспортеры 7, ниже их направляющие лотки 8. Выгрузные транспортеры и заслонки снабжены гидроприводом, управляемым от компьютерной системы 10.
Рабочий процесс: ИСРК-12 «Хозяин» аналогичен кормораздатчику РСП-10, но имеется отличие. Оно состоит в том, что вращающиеся навстречу друг другу шнеки, снабжены ножевыми кромками. Таким образом, шнеки выполняют одновременно со смешиванием и выдачей корма процесс его измельчения.
|
|
|
Стационарные кормораздатчики
По месту расположения в животноводческом помещении стационарные кормораздатчики подразделяются на два типа:
· кормораздатчики внутри кормушек (ТВК-80А, ТВК-80Б, РВК-Ф-74I, РВК-Ф-II и др.);
· кормораздатчики над кормушками (РК-50, КШ-0,5 и др.).
При использовании кормораздатчиков с перемещающимися над кормушками распределительными устройствами облегчается работа обслуживающего персонала. В качестве рабочих органов в этих транспортерах могут быть использованы: цепочно-скребковые, ленточные, платформенные, тросово-шайбовые и другие транспортеры.
Информацию о технических характеристиках мобильных отечественных и зарубежных кормораздатчиков и кормораздатчиков-смесителей см. в Приложениях 24…27.
Транспортеры-раздатчики кормов внутри кормушек ТВК-80А и ТВК-80Б предназначены для распределения по кормушке всех видов кормов, кроме концентрированных и жидких, и их смесей с кормовыми и минеральными добавками.
Устройство (рис. 69): на раме смонтирован кормовой жёлоб 2, по дну которого перемещается рабочий орган в виде цепи, половина которого имеет скребки, а у второй она отсутствует.
Первый и последний скребок цепи имеет упор, увеличивающий их высоту. Привод кормораздатчика осуществляется от электродвигателя через редуктор и цепную передачу. Скорость цепи можно корректировать, изменяя положения звездочек: для механической погрузки 0,44 м/с, для ручной 0,11 м/с. Перед началом раздачи корма скребки размещаются под кормушкой. Загрузка корма в бункер может осуществляться любым мобильным раздатчиком.

1 – электропривод; 2 – кормовой желоб (групповая кормушка); 3 – пульт управления; 4 – натяжная станция; 5 – загрузочный бункер Рисунок 69 – Кормораздатчик ТВК-80Б
Рабочий процесс (рис. 70): с началом загрузки бункера кормом из мобильного раздатчика включают электропривод скребкового транспортера. Скребки захватывают поступающий корм и протаскивают его по всей длине кормушки. При контакте упора первого скребка с конечным выключателем цепь со скребками автоматически останавливается. По окончании кормления включается привод, и желоб очищается от остатков корма за счет движения скребков в обратном направлении, одновременно занимая исходное положение под кормушкой. Второй упор вновь своевременно выключает электропривод.

1 – гайка; 2 – натяжная станция; 3 – винт натяжной; 4 – ползун; 5 – ведомый барабан; 6 – кормушка; 7 – лента; 8 – цепь; 9, 10, 11 – звездочки; 12 – редуктор; 13 – электродвигатель; 14 – ведущий вал
Рисунок 70 – Технологическая схема кормораздатчика ТВК-80А
Натяжение цепи производится перемещением поворотной звездочки натяжной станции. ТВК-80Б имеет аналогичную конструкцию, однако у рабочего органа участок цепи со скребками заменен на резиновую ленту шириной 500 мм.
Кормораздатчики РВК-Ф-74-I и РВК-Ф-74-II созданы взамен кормораздатчиков ТВК-80А и ТВК-80Б. Предназначены кормораздатчики РВК-Ф-74 для полуавтоматизированной раздачи всех видов кормов, кроме жидких, на фермах КРС и овец в животноводческих помещениях типовых и оригинальных конструкций с фронтом кормления не более 75 м. В новых раздатчиках введены конструктивные изменения, которые улучшили их эксплуатационно-экономические показатели по сравнению с кормораздатчиком ТВК-80.
Раздатчик РК-50А предназначен для подачи внутрь помещения и раздачи всех видов измельченных кормов по кормушкам на молочных и откормочных фермах КРС.
Кормораздатчик РК-50А выпускают в двух исполнениях: на 100 или 200 голов (в коровнике с двумя кормовыми проездами и двумя транспортерами-раздатчиками).
Устройство (рис. 71): кормораздатчик РК-50А состоит из двух транспортеров-раздатчиков 9, поперечного 7 и наклонного 5 ленточных транспортеров. Транспортер-раздатчик устанавливается над сдвоенными кормушками при беспривязно-боксовом содержании крупного рогатого скота или над кормушками с кормовым проходом 0,7 м при привязном содержании на высоте соответственно 1,6 и 2,6 м и передвигается на ходовых катках 11 по направляющим 12. В нижней части транспортера-раздатчика находится поворотный направляющий лоток 13, который сбрасывает корм в кормушки 16. При раздаче корма в спаренные кормушки поворотные направляющие лотки снимаются.

1 – приводной барабан; 2 – загрузочный лоток; 3 – лента; 4 – натяжное устройство; 5 – кронштейн; 6 – направляющая; 7 – поперечный транспортер; 8 – привод поперечного транспортера; 9 – транспортер-раздатчик; 10 – коноид; 11 – ходовые катки; 12 – направляющие; 13 – поворотный направляющий лоток; 14 – стойла; 15 – навозный проход; 16 – кормушки
Рисунок 71 – Раздатчик кормов стационарный РК-50А
Поперечный транспортер 7 имеет привод 8 и располагается над транспортерами-раздатчиками. Длина его выбирается с учетом ширины кормового прохода или спаренной кормушки, двух длин стойла 14 и ширины навозного прохода 15.
Наклонный транспортер 5 устанавливается на кронштейне 6 таким образом, чтобы обеспечить загрузку поперечного транспортера 7 кормом. Он имеет приводной барабан 1, загрузочный лоток располагается в кормовом тамбуре.

1 – транспортер-раздатчик кормов; 2 – горизонтальный поперечный транспортер; 3 – наклонный транспортер; 4 – мобильный кормораздатчик Рисунок 72 – Технологическая схема кормораздатчика РК-50А
Рабочий процесс раздатчика кормов РК-50А (рис. 71): при раздаче корма участвуют оператор и тракторист, который включает в работу мобильный кормораздатчик КТУ-10А или РММ-Ф-6 по сигналу оператора. Корм из мобильного кормораздатчика 4 поступает в приемный лоток наклонного транспортера 3, а оттуда на поперечный транспортер 2, расположенный в центре коровника. Последний направляет поток корма на один из транспортеров-раздатчиков 1, движущийся из одной половины коровника в другую и сбрасывающий корм в кормушки первого обслуживаемого ряда. После его заполнения при обратном движении транспортера-раздатчика изменяют направление лотков для сброса корма во второй ряд кормушек и процесс раздачи повторяется. Изменение нормы выдачи регулируется скоростью продольного транспортера мобильного кормораздатчика.
Стационарный шайбовый кормораздатчик КШ-0,5 предназначен для дозированной раздачи комбикормов в свинарниках. В зависимости от способа содержания животных в станках (индивидуальный или групповой) предусмотрены два модифицированных кормораздатчика:
· КШ-0,5-I с индивидуальными дозаторами;
· КШ-0,5-II с групповыми дозаторами.

1 – приводная станция; 2 – загрузочный шнек; 3 – бункер-накопитель; 4 – бункер-питатель с воронкой; 5 – шайбовый трос; 6 – кормопровод; 7 – стояк; 8 – дозатор; 9 – привод дозатора; 10 – шкаф управления Рисунок 73 – Кормораздатчик шайбовый КШ-0,5-II
Устройство (рис. 73): в состав кормораздатчика входит наружный бункер 3 со шнековым транспортером 2, с помощью которого загружают корм в бункер-питатель 4. Он расположен сверху приводной станции 1. От противоположных сторон бункера-питателя отходит кормопровод 5, подвешенный к перекрытию помещения на высоте 1,2 м от пола. Внутри кормопровода, выполненного из металлических труб диаметром 33 мм, находится основной рабочий орган-трос, по длине которого равномерно на расстоянии 50 мм друг от друга установлены пластмассовые диски (шайбы). Групповые дозаторы 8 установлены на равном удалении друг от друга вдоль фронта кормления и представляют собой накопительные емкости.
В нижней части кормопровода в местах подвески дозаторов имеются выгрузные щели, через которые корм поступает в дозаторы, заполняя их последовательно один за другим при движении троса в направлении от приемного бункера.
Рабочий процесс: при включении раздатчика трос с шайбами захватывает корм из промежуточного бункера и транспортирует его по кормопроводу к дозаторам, поочередно заполняя их. После этого тросо-шайбовый транспортер останавливается, а привод дозаторов включается в работу, в результате чего в кормушки подаются одновременно и корм, и вода. При этом животные получают уже увлажненный комбикорм, что предохраняет его как от распыления, так и от потерь. Кормораздатчик работает по программе в автоматическом режиме. Норма выдачи корма регулируется путем частичного перекрытия снизу труб дозатора.
Аналогично устроены кормораздатчики КШ-2, ОКС-1000.