Содержание работы:
1. Источники водоснабжения и водоприемные сооружения.
3. Напорно-регулирующие сооружения.
Источниками водоснабжения животноводческих предприятий могут быть: реки, озера, искусственные водоемы и подземные воды.
Отличительные особенности подземных вод: постоянство температуры в течение года (4…8°С), отсутствие взвешенных веществ и цветности, высокая санитарная надежность. Подземные воды, заполняя поры различных пород, образуют так называемые водоносные пласты. В трещинах и пещерах они находятся в виде подземных водотоков (рис. 81).
Водоносный пласт снизу подстилается водоупорным пластом или водоупором. Пласты породы, которые перекрывают сверху водоносный пласт, называются его кровлей.
В зависимости от условий и глубины залегания относительно пахотного горизонта различают следующие виды подземных вод:
· грунтовые или безнапорные;
· межпластовые или напорные;
· родниковые.
Грунтовые воды образуются за счет фильтрации в грунт атмосферных осадков и конденсации водяных паров. Качество грунтовых вод в значительной степени зависит от глубины их залегания.
|
|
|
Межпластовые воды залегают между водонепроницаемыми слоями, находятся под давлением вследствие большой глубины от поверхности почвы. Для них характерно постоянство состава и температуры воды. Они наиболее защищены от загрязнения, поэтому кристально чисты, имеют высокие питьевые качества, хотя в отдельных случаях обладают повышенной минерализацией.

А – грунтовые воды; Б – безнапорные подземные воды; В – напорные подземные воды
1 – восходящий родник; 2 – нисходящий родник; 3 – область питания;
4 – водопроницаемые породы; 5 – водонепроницаемые породы;
6, 8 – шахтные колодцы; 7 – артезианская самоизливающаяся скважина
Рисунок 81 – Схема залегания подземных вод
Подземные воды, самостоятельно выходящие на поверхность земли, образуют родники. Родники могут питаться как грунтовыми, так и межпластовыми водами. В большинстве случаев родниковые воды обладают хорошими питьевыми качествами.
При выборе источника водоснабжения в сельской местности отдают предпочтение подземным водам, так как они распространены повсеместно и их можно использовать без очистки. Поверхностные воды применяют реже, поскольку они более загрязнены и перед подачей потребителю требуют специальной очистки, то есть больших материальных затрат. Поэтому себестоимость 1м3 воды из поверхностных источников с очисткой на местных фильтрах примерно в 3…5 раз выше себестоимости 1м3 воды из подземных источников без очистки. В случае невозможности или нецелесообразности использования межпластовой (артезианской) воды эксплуатируют другие водоисточники (безнапорные грунтовые воды, ключи, реки, озера).
|
|
|
Требования к качеству питьевой воды регламентированы СаНПиН 2.1.4.1074-01.
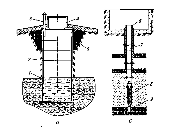
Водоприемные сооружения. Воду из подземных источников получают при помощи водоприемных сооружений – шахтных и трубчатых колодцев (рис. 82). Трубчатые колодцы имеют также название буровых скважин.
Шахтные колодцы п р е д н а з н а ч е н ы для приема грунтовых вод, залегающих на глубине 30…40 м при толщине водоносного слоя 5…8 м.

а – шахтный колодец; б – скважина
1 – водоприемная часть; 2 – ствол (шахта); 3 – вентиляционная труба;
4 – оголовок; 5 – глиняный замок; 6 – устье; 7 – эксплуатационная
колонна; 8 – водоприемная часть (фильтр); 9 – отстойник
Рисунок 82 – Водоприемные сооружения подземных вод
У с т р о й с т в о (рис. 82, а): шахтный колодец с о с т о и т из водоприемной части 1, ствола (шахты) 2, глиняного замка 5 и оголовка 4. Оголовок защищает колодец от попадания загрязненных поверхностных вод. Вокруг оголовка устраивают глиняный замок шириной 1 м и глубиной не менее 1,5 м, а также в радиусе 2…2,5 м делают булыжную отмостку по песчаному основанию с уклоном от оголовка 0,05…0,1. Делают их с целью защиты от загрязнения грунтовых вод поверхностными стоками и отвода атмосферных осадков. Для вывода подземных газов колодца служит вентиляционная труба 3.
Стенки шахты делают круглыми или квадратными в плане из бетона, кирпича или других строительных материалов соответствующей прочности. В водоприемной части ствола 1 предусмотрены отверстия для прохождения воды в колодец. Дно колодца оборудуют песчано-гравийным фильтром.
Трубчатые колодцы (буровые скважины) п р е д н а з н а ч е н ы для приема воды из обильных водоносных пластов, залегающих на глубине 50…150 м.
У с т р о й с т в о (рис. 82, б): колодец с о с т о и т из четырех частей – отстойника 9, фильтра 8, эксплуатационной колонны 7, устья 6.
Трубчатые колодцы образуются бурением вертикальной скважины, стенки которой укрепляют обсадными трубами небольшого диаметра (до 350 мм). Устьевую часть скважины закрепляют колонной большего диаметра – кондуктором, который обеспечивает вертикальность ствола скважины, изолирует верхний грунтовый пласт от нижних водоносных горизонтов и предохраняет устье скважины от размыва в процессе бурения.
Наиболее ответственным элементом конструкции скважины является фильтр 8, который необходим для приема воды из водоносного слоя без механических примесей. Он должен быть, кроме того, устойчивым против коррозии и обладать хорошей прочностью.
Насосное оборудование. Из водоприемных сооружений воду подают потребителю с помощью насосов и водоподъемников. Из большого спектра насосов, выпускаемых нашей промышленностью, в практике сельскохозяйственного водоснабжения больше всех востребованны центробежные и вихревые насосы. Объясняется это их достоинствами: простотой в обслуживании, надежностью в эксплуатации и долговечностью.
Центробежные насосы консольного типа п р е д н а з н а ч е н ы для всасывания и нагнетания воды из поверхностных водоисточников.
У с т р о й с т в о консольного центробежного насоса (рис. 83): в корпусе 6, выполненного в виде спирали Архимеда, находится рабочее колесо 2. Оно жестко закреплено на валу 9 и представляет собой два диска, между которыми находятся профилированные лопасти 3. Рабочее колесо приводится во вращение от электродвигателя. Благодаря специальной геометрии лопастей при вращении рабочего колеса возникают центробежные силы.
У корпуса имеются два патрубка: всасывающий 8 и напорный 7. К всасывающему патрубку подводится всасывающая труба 5, на конце которой закреплен обратный клапан с сеткой 1, а к напорному – нагнетательный трубопровод, по которому вода транспортируется потребителю.
|
|
|
П р и н ц и п р а б о т ы: перед пуском корпус насоса и всасывающую трубу полностью заполняют водой. Для этого в самой верхней точке корпуса предусмотрено отверстие, закрываемое пробкой 8. После этого включают электродвигатель, который приводит во вращение вал и рабочее колесо. Вода, находящаяся в каналах между лопастями рабочего колеса, под действием центробежных сил отбрасывается от центра колеса к его периферии. В результате этого в центральной части рабочего колеса создается разрежение, а на периферии давление, намного превышающее атмосферное. Под действием этого давления вода вытесняется по спиральному отводу 10 в нагнетательный трубопровод 1, присоединенный к напорному патрубку. Одновременно за счет разрежения в центре рабочего колеса вода из водоисточника поступает по всасывающей трубе в корпус насоса. Таким образом, создается беспрерывный поток воды в водоносной установке, в которую включен центробежный насос.

1– нагнетательный трубопровод; 2 – рабочее колесо; 3 – лопасть;
4 – приемный клапан с фильтром; 5 – всасывающая труба; 6 – корпус;
7 – задвижка; 8 – пробка; 9 – вал; 10 – спиральный отвод
Рисунок 83 – Технологическая схема центробежного насоса
Погружной центробежный насос п р е д н а з н а ч е н для подъема подземных вод из трубчатых колодцев. Они многоступенчатые, вертикального исполнения. Агрегат (рис. 84, а) с о с т о и т из насоса 2, электродвигателя 1, водоподъемной трубы 4, станции управления (на рис. не показана) и кабеля для питания 3 электродвигателя 1. Электродвигатель имеет специальную конструкцию, соединен с валом насоса и работает в воде, то есть непосредственно в межпластовом водоносном слое.
Насос (рис. 84, б) с о с т о и т из нескольких ступеней рабочих колес 7, установленных в направляющих аппаратах 6 и разделенных перегородками (дисками) 4. Благодаря последовательному соединению рабочих колес эти насосы могут обеспечивать большой напор до 300 м вод. ст.
П р и н ц и п р а б о т ы (рис. 84, б): при включении электродвигателя приводится во вращение вал насоса 3 с закрепленными на нем рабочими колесами 7. Под действием центробежной силы вода выбрасывается на перифирию, поступает в каналы направляющих аппаратов 6. При этом в центре рабочего колеса так же, как у консольного центробежного насоса, создается разрежение, за счет которого вода из трубчатого колодца через приемные окна с сеткой поступает к первому (нижнему) рабочему колесу. Это колесо передает воду по каналам направляющего аппарата к центру второго рабочего колеса, затем последовательно она проходит все секции насоса, постепенно наращивая напор, и направляется через водоподъемную трубу в водопроводную сеть.
|
|
|
Наибольшее распространение в животноводстве имеют консольные центробежные насосы типа К и КМ и погружные насосы типа ЭЦВ. В настоящее время в нашей стране принята маркировка насосов по основным техническим показателям: подаче и напору.
а б | а – схема установки погружного насоса: 1 – электродвигатель; 2 – насос; 3 – кабель; 4 - водоподъемные трубы; 5 – опорное колено; 6 – кран; 7 – манометр б – разрез погружного насоса 1 – соединительная муфта; 2 – ступица основания; 3 – вал; 4 – диск; 5 – обойма; 6 – направляющий аппарат; 7 – рабочее колесо; 8 – ступица верхнего подшипника; 9 – клапан; 10 – стяжка; 11 – головка Рисунок 84 – Погружной центробежный насос |
Большинство насосов маркируется следующим образом: после буквенного обозначения (марки) ставят через тире или косую черту две цифры – номинальную подачу, м3/ч и номинальный напор столба жидкости, м. Например, консольный насос с подачей 125 м3/ч и напором 30 м обозначается так: К125-30 или К125/30. Погружные насосы типа ЭЦВ, например ЭЦВ 4-1-45, имеют следующую расшифровку: Э – электрический, Ц – центробежный, В – для чистой воды, 4 – минимальный диаметр буровой скважины в дюймах (dскв = 4∙25=100 мм), 1 – подача, м3/ч; 45 – напор, м вод.ст.
Вихревой насос – это разновидность насосов трения из числа динамических насосов. Он п р е д н а з н а ч е н для перекачки чистой воды с относительно небольшой подачей, но с достаточно большим напором (в 2…3 раза больше, чем у центробежного при одинаковом диаметре рабочего колеса).
У с т р о й с т в о (рис. 85): в корпусе насоса 2 на валу 4 жестко закреплено рабочее колесо 3. Оно представляет собой диск толщиной 8…10 мм с радиальными лопатками. Внутри между корпусом и рабочим колесом имеется кольцевой зазор (канал) 7. Вихревой насос в отличие от центробежного является самовсасывающим, поэтому вход и выход у него взаимозаменяемы.

1 – флянец; 2 – корпус; 3 – рабочее колесо; 4 – вал; 5 – всасывающий патрубок;
6 – нагнетательный патрубок; 7 – кольцевой зазор; 8 – межлопаточная полость
Рисунок 85 – Вихревой насос
П р и н ц и п р а б о т ы: перед самым первым пуском насоса его корпус заполняют водой. Затем приводят во вращение рабочее колесо, лопатки которого оказывают силовое воздействие на воду, приводя ее в движение. Характер движения при этом сложный по двум причинам:
· частицы воды вращаются вместе с рабочим колесом;
· под действием центробежных и центростремительных сил создается вихревое циркуляционное движение частиц воды в пространстве между межлопаточными полостями и кольцевым каналом.
Таким образом, при прохождении межлопаточных полостей колеса на пути от входа в кольцевой канал до выхода из него, жидкость получает многократное приращение энергии. По этой причине при одном и том же диаметре рабочего колеса вихревые насосы развивают напоры большие, чем центробежные. Благодаря этому вихревые насосы имеют меньшие габариты и массу по сравнению с центробежными насосами таких же рабочих параметров.
Недостатком вихревых насосов является низкий КПД, не превышающий 45 %. Наиболее распространенные конструкции имеют КПД 35…38 %.
На рис. 85 показано, что всасывающий патрубок имеет вертикальный участок. Это исключает вытекание воды при неработающем насосе. При повторном пуске воздух из всасывающей трубы удаляется самим насосом, в результате чего в ней создается разрежение, и вода из источника под действием атмосферного давления поступает в корпус насоса.
Вихревые насосы получили в настоящее время широкое распространение в системах водоснабжения для перекачивания чистых жидкостей. Их применяют, когда требуется получить большой напор при малой подаче.
Вихревые насосы изготовляют на подачу до 12 дм3/с. Напор вихревых насосов достигает 100 м, мощность доходит до 20 кВт, коэффициент быстроходности 6…40.
Промышленность выпускает одноступенчатые вихревые насосы типа ВК, ВКС и ВКО. Насосы типа ВКС – самовсасывающие, типа ВКО – с обогревом. В обозначении насоса буквы указывают тип насоса, первые цифры подачу, вторые – напор. Например, обозначение насоса ВКС-2/26 означает: насос вихревой консольный самовсасывающий с номинальной подачей 2 дм3/с и номинальным напором 26 м вод.ст.
Промышленность выпускает центробежновихревые насосы в едином корпусе. Центробежное колесо, как правило, располагают перед вихревым, то есть вода сначала попадает в центробежное колесо, где создается небольшое давление, которое затем повышается вихревым колесом. При таком сочетании достигаются большие напоры при относительно малой подаче. Промышленность выпускает центробежновихревые насосы типа ЦВК с указанием подачи (первая цифра) и напора (вторая цифра). КПД у этих насосов несколько выше, чем у вихревых, и достигает 0,45…0,48.
Напорно-регулирующие сооружения. В системах водоснабжения используют специальные напорно-регулирующие сооружения, предназначенные для регулирования подачи воды, создания постоянного достаточного напора в водопроводной сети, а также формирование запаса воды на время отключения насосной установки.
Применяют два типа напорно-регулирующих сооружений: водонапорную башню и пневматический котел (безбашенное сооружение). В настоящее время в практике сельхозводоснабжения широкое применение имеют бесшатровые башни-колонны конструкции А.А. Рожновского.
Водонапорная башня А.А. Рожновского п р е д н а з н а ч е н а для создания наружного напора за счет подъема водонапорного резервуара на необходимую высоту. Отличительной ее особенностью является цилиндрическая опора, которая одновременно является емкостью для воды, что увеличивает запас воды в башне почти в два раза.
У с т р о й с т в о (рис. 86): башня с о с т о и т из фундамента, ствола (опоры) 1 и резервуара 2.
Башни этой конструкции можно использовать без утепления в местностях с зимней температурой до -40°С, но если выполняются при этом два условия:
· температура воды в водоисточнике не ниже 4°С;
· обеспечен регулярный водообмен.
Высота напорной башни выбирается с таким расчетом, чтобы обеспечивалась подача воды в нужном количестве к наиболее удаленному и высоко расположенному водопотребителю.
Вместимость резервуара определяется с учетом расхода воды и времени работы насосной установки в течение суток. За время работы насосной установки в резервуаре должен накопиться аварийный запас воды на случай временного прекращения работы насосной установки, а также противопожарный запас воды Wп. Обычно резервуар выбирают вместимостью, равной 15…20% от максимального суточного расхода воды.
В нижней части ствола башни, непосредственно над фундаментом, делают земляную отсыпку и смотровой колодец для периодического осмотра состояния запорно-регулирующих устройств и проведения ремонтных работ. Сверху резервуар с водой закрыт крышкой с люком.
| 1 – ствол (опора); 2 – резервуар с датчиком уровня; 3 – пост управления; 4 – станция управления; 5 – насосная установка; 6 – напорная труба Рисунок 86 – Водонапорная башня А.А. Рожновского |
Р а б о ч и й п р о ц е с: в водонапорную башню воду подают по напорному трубопроводу 6 с помощью насоса водонасосной установки 5. По мере заполнения водой башни уровень ее h повышается. Соответственно увеличивается гидростатическое давление р (рис. 86), определяемое из формулы:
р = ρ · g ·h, (15.1)
где ρ – плотность воды, ρ = 1000 кг/м3;
g – ускорение свободного падения, g = 9,81м/с2;
h – уровень воды, м вод.ст.

Рисунок 87 – Схема к пояснению работы электроконтактного манометра
В случае использования электроконтактного манометра (ЭКМ) в системе автоматического управления работой башни включение и выключение насоса происходит следующим образом. Как только стрелка ЭКМ достигнет отметки рmax, тут же размыкается цепь питания электродвигателя и насос отключается. По мере разбора воды из башни и уменьшения давления до отметки рmin все происходит в обратной последовательности – насос включается.
В процессе эксплуатации водонапорной башни необходимо периодически спускать осадки через грязевую трубу, промывать и дезинфицировать башню.
Водоподъемная установка типа ВУ-7-65 п р е д н а з н а ч е н а для подъема воды из поверхностных источников. Для подъема воды из подземных источников промышленность выпускает автоматическую водоподъемную установку ВУ-7-65 с центробежным насосом, подающим воду из буровой скважины.
У с т р о й с т в о (рис. 88): в с о с т а в агрегата входит воздушно-водяной бак 4, в который вода по напорной трубе 9 подается с помощью насосного агрегата 7. Автоматическое управление работы насосного агрегата осуществляется с помощью реле давления 2. Для разбора воды из котла предназначена напорно-разводящая труба 5. Периодическое пополнение воздушно-водяного бака воздухом производится с помощью струйного регулятора 10.
П р и н ц и п р а б о т ы: когда подача насосного агрегата превышает потребление, избыток воды поступает в котел, воздушная подушка сжимается и давление в котле повышается. В случае, когда водопотребление больше подачи или насос не работает, вода под давлением воздуха поступает из котла потребителю.
| 1 – станция управления; 2 – реле давления; 3, 11 – предохранительные клапаны; 4 - воздушно-водяной бак; 5 – трубопровод; 6 – сапло; 7 – насосный агрегат; 8 – всасывающая труба; 9 – нагнетательная труба; 10 – струйный регулятор Рисунок 88 – Схема водоподъемной установки ВУ-5-30 |
Как только давление в котле при его наполнении достигнет расчетного значения рmax, реле давления 2 разомкнет электрическую сеть магнитного пускателя, насосный агрегат 7 выключится. При уменьшении давления до рmin контакты реле замкнутся, и включится насос, который снова начнет подавать воду в котел.
Во время работы водокачки объем воздушной подушки в котле вследствие неплотностей соединений и растворения воздуха в воде уменьшается. Это приводит к увеличению частоты включения установки и ускоряет износ электродвигателя и насоса. Для автоматического заполнения котла воздухом служит струйный регулятор 10.
Контрольные вопросы
1. Назвать виды подземных вод в зависимости от глубины их залегания.
2. Перечислить типы водоприемных сооружений подземных вод. Как они устроены?
3. Какие типы насосов используют для подъема воды?
4. Как устроен и работает центробежный насос?
5. Как обозначаются и расшифровываются марки центробежных насосов?
6. Как устроен и работает вихревой насос?
7. Как обозначаются и расшифровываются марки вихревых насосов?
8. Как устроен и работает погружной центробежный насос?
9. Как обозначаются и расшифровываются марки погружных центробежных насосов?
10. Назначение напорно-регулирующих сооружений.
11. Как устроена и работает водонапорная башня А.А. Рожновского?
12. В чем суть автоматического управления работой водонапорной башни А.А. Рожновского?
13. Назначение пневматических водоподъемных установок.
14. Как устроена и работает пневматическая водоподъемная установка типа ВУ-7-65?
а б






