Содержание работы:
1. Скребковый навозоуборочный транспортер ТСН-160А.
2. Скреперная установка УС-Ф-170.
3. Мобильный агрегат для уборки навоза АУН-10.
4. Самопогрузчик СУ-Ф-0,4
5. Гидравлическая система удаления навоза.
Две системы средств механизации удаления навоза из животноводческих помещений используют в настоящее время на животноводческих фермах и комплексах, это:
· механическая при подстилочном содержании животных;
· гидравлическая при бесподстилочном содержании животных.
В свою очередь, механическая система включает стационарные и мобильные средства, применяемые для сбора, удаления и обработки навоза. Из механических средств удаления навоза наиболее распространены скребковые транспортеры и скреперные установки.
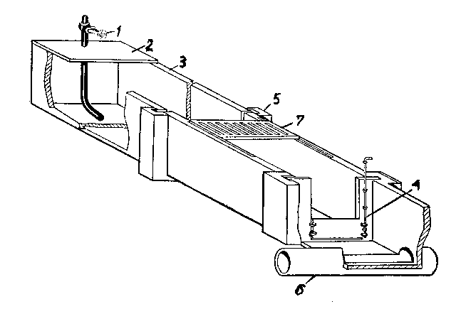
Скребковый транспортер для удаления навоза ТСН-160А кругового действия п р е д н а з н а ч е н для удаления навоза из животноводческих помещений с привязным содержанием коров с одновременной погрузкой навоза в транспортные средства, а также из свинарников.

1 – горизонтальный транспортер; 2 – наклонный транспортер; 3 – привод
|
|
|
наклонного транспортера; 4 – привод горизонтального транспортера;
5 – шкаф управления; 6 – натяжное устройство; 7 – цепь;
8 – поворотные устройства; 9 – скребок
Рисунок 74 – Транспортер скребковый навозоуборочный ТСН-160А
У с т р о й с т в о ТСН-160А (рис. 74): в его с о с т а в входят два самостоятельных транспортера – горизонтальный 1 и наклонный 2, приведение в действие которых осуществляется посредством индивидуальных электроприводов 4 и 3.
Горизонтальный транспортер устанавливают в навозных канавах, расположенных вдоль рядов стойл в помещениях КРС или внутри станков – в помещениях для свиней. Навоз в навозные канавы сбрасывается операторами вручную специальными скребками.
В с о с т а в горизонтального транспортера входят следующие основные сборочные единицы:
· приводная станция 4, состоящая из электродвигателя, двухступенчатого редуктора, клиноременной передачи и ведущей звездочки;
· замкнутая круглозвенная цепь 7 якорного типа, с закрепленными на ней с шагом 1,12 м скребками 9;
· самонатяжное устройство цепи 6;
· два поворотных устройства 8.
Наклонный транспортер 2 п р е д с т а в л я е т собой металлический желоб, который опирается одним концом на стойку, а другим заглублен в приямок. В центре желоба располагается цепь якорного типа со скребками, размещенными с шагом 0,46 м. По концам желоба предусмотрено поворотное и натяжное устройство цепи. Перемещение цепи наклонного транспортера обеспечивает индивидуальный электропривод 3, состоящий из электродвигателя и двухступенчатого редуктора. Устанавливают наклонный транспортер в отдельном помещении под углом не более 30° к горизонту, что позволяет обеспечить подачу навоза на высоту 2,7 м от нулевой отметки пола коровника.
|
|
|
Поворотная звездочка изменяет направление движения цепи наклонного транспортера. Ось звездочки жестко закреплена на желобе.
Натяжное устройство 6 горизонтального транспортера обеспечивает автоматическое натяжение цепи и своевременно компенсирует ее вытяжку и износы.
Р а б о т а т р а н с п о р т е р а: перед его включением в обязательном порядке проверяют отсутствие посторонних предметов и рабочего инструмента в навозных каналах. Первым включают наклонный транспортер и после 1…2 минут его работы на холостом ходу включают горизонтальный транспортер. Скребки горизонтального транспортера захватывают навоз и продвигают по дну навозного канала до места сброса навоза на наклонный транспортер.
Посредством цепи со скребком наклонного транспортера навоз перемещается вверх по его желобу и сбрасывается в транспортное средство. Один транспортер ТСН-160А убирает навоз из помещения, в котором содержится 100…110 коров. Транспортеры ТСН – 3.0Б, ТСН-3.0Д, ТСН-2.0Б, ТР-5 по общему устройству и рабочему процессу аналогичны ТСН -160А.
Скреперная установка УС-Ф-170А п р е д н а з н а ч е н а для удаления бесподстилочного навоза из открытых продольных проходов в коровниках длиной до 80 м при боксовом и комбибоксовом содержании животных. Установка может работать в двух режимах: ручном и автоматическом.
У с т р о й с т в о (рис. 75, а): на раме 13, закрепленной анкерными болтами, установлен электропривод 1, в состав которого входит электродвигатель мощностью 2,2 кВт, редуктор, на ведущей звездочке которого закреплена цепь 3 рабочего контура. На цепи закреплены четыре дельта-скрепера 2. По углам цепного контура имеются поворотные устройства 4.
Имеется механизм реверсирования, предназначенный для автоматического реверсирования электродвигателя привода с целью обеспечения возвратно-поступательного движения цепного контура. В его состав входит прибор Д-3М, который крепится на щите шкафа управления и бесконтактные концевые выключатели привода. Механизм реверсирования приводится в действие приваренным к цепи упором.

а – общий вид; б – скрепер
1 – электропривод; 2 – скрепер; 3 – рабочий контур; 4, 8 – соответственно
поворотное и натяжное устройства; 5 – промежуточная штанга; 6, 9 – скребки;
7 – шарнир, 10 – резиновый чистик; 11 – ползун; 12 – поперечный канал;
13 – рама
Рисунок 75 – Скреперная установка УС-Ф-170А
Скрепер п р е д н а з н а ч е н для перемещения навоза по каналу. Он с о с т о и т (рис. 75, б) из ползуна 11, шарнирного устройства 7, скребков 6, 9 и натяжного устройства 8. Для очистки стенок прохода на концах скребков установлены резиновые чистики 10. Чистики, кроме тоого, обеспечивают бесшумный ход скребков.
Р а б о ч и й п р о ц е с с: скрепер движется со скоростью 0,063 м/с, поэтому не беспокоит животных, то есть уборка навоза возможна в их присутствии.
Установка работает в автоматическом режиме при возвратно-поступательном движении дельта-скреперов. Если по одному проходу первая пара скреперов двигается в сторону поперечного канала 12, то скребки их за счет сил трения о пол раскладываются и перемещают навоз. По другому проходу вторая пара скреперов совершает холостой ход в сложенном состоянии и в противоположном от поперечного канала направлении. После сброса навоза в поперечный канал происходит реверсирование движения, и цикл работы повторяется при раскрытых скребках другой пары скреперов. Навоз из коровника подают в приемную воронку насоса УТН-10, который перемещает навоз по трубороводу в навозохранилище (на рис. не показан).
Установку включают шесть раз в сутки, продолжительность одной уборки 45 минут. Одна установка обслуживает 200 коров, размещенных в двух групповых станках.
|
|
|
Мобильный агрегат АУН-10 п р е д н а з н а ч е н для уборки слежавшегося, уплотненного навоза из животноводческих помещений и кормо-выгульных площадок.
У с т р о й с т в о (рис. 76): в с о с т а в агрегата, укомплектованного на базе трактора Т-25Л входят вибронож 1 с механическим приводом и два транспортера, в том числе приемный 3 и подающий. Оборудование закреплено на раме 7, которая навешивается на трактор 8 в передней и задней его частях.

1 – вибронож; 2 – опорное колесо; 3 – приемный транспортер;
4 – поворотная часть подающего транспортера; 5, 6 – соответственно
наклонная и горизонтальная часть подающего транспортера; 7 – рама;
8 – трактор Т-25Л; 9 – кузов транспортного средства
Рисунок 76 – Принципиальная схема агрегата АУН-10
Подающий транспортер выполнен цепочно-планчатым из участков: поворотного 4, наклонного 5 и горизонтального 6. Он предназначен для подачи измельченной массы навоза в транспортное средство 9, размещаемого за трактором.
Вибронож 1, установленный перед трактором, имеет гидропривод, за счет которого опускается и поднимается на глубину среза слоя от 40 до 200 мм с интервалом 40 мм. Нож совершает колебательные движения в вертикальной плоскости от эксцентрикового вала, приводимого во вращение от ВОМ трактора и ременной передачи.
Приемный транспортер 3, выполненный из круглозвенной цепи, расположен непосредственно над поворотной частью подающего транспортера.
Р а б о ч и й п р о ц е с с: тракторист, подъехав к месту слежавшегося навоза, опускает посредством гидроцилиндра вибронож на заданную глубину, а опорное колесо 2, находящееся впереди него, удерживает нож на этой глубине. Затем тракторист включает ВОМ и вибронож, совершая вертикальные колебания и поворотные действия, разрезает слежавшуюся навозную массу. Срезанная масса с помощью приемного транспортера 3 поступает на поворотную часть, а далее последовательно другие участки подающего транспортера и в кузов транспортного средства.
|
|
|
Самопогрузчик СУ-Ф-0,4 п р е д н а з н а ч е н для очистки проходов животноводческих помещений и открытых выгульно-кормовых площадок от навоза на фермах крупного рогатого скота.

1– навеска; 2 – ковш; 3 – портал; 4, 14 – гидроцилиндры; 5 – механизм открывания переднего борта; 6 – грузовая платформа; 7 –бак гидросистемы; 8 – трос;
9 – рукоятка; 10 – самоходное шасси; 11 – карданный вал; 12 – гидросистема;
13 – редуктор с гидронасосом
Рисунок 77 – Самопогрузчик СУ-Ф-0,4
У с т р о й с т в о (рис. 77): агрегат представляет собой самоходное шасси ВТЗ-30-СШ с самостоятельным кузовом. На агрегате установлены самосвальная грузовая платформа 6 и навесной самопогрузчик 3, устроенный в виде качающегося портала. На конце его шарнирно закреплен ковш 2 для сгребания и захвата навоза. Загрузочное устройство и самосвальная платформа приводятся в действие от гидросистемы шасси ВТЗ-30-СШ.
Р а б о ч и й п р о ц е с с: в начале прохода тракторист включает гидросистему самоходного шасси, опускает портал самопогрузчика с ковшом, продвигаясь вперед передвигает ковш вдоль навозного прохода до заполнения его навозом. Останавливает шасси и переключает рычаг гидросистемы в положение «Подъем». Затем переводит портал с наполненным ковшом в положение над грузовой платформой и выгружает навоз в кузов шасси. Опускает ковш и операции повторяются 3-4 раза до заполнения кузова шасси. После этого тракторист доставляет навоз к месту хранения и выгружает его самосвальным способом.
За каждый цикл работы агрегата с фермы удаляют до 1,2 т твердой фракции навоза.
Агрегат обладает высокой маневренностью и, имея радиус поворота менее 4 м, может убирать навоз с выгульно-кормовых площадок любой конфигурации и размеров.
Для удаления навоза в животноводческих помещениях навозные проходы выполняют шириной 1,6…2,2 м, при этом высота потолочных перекрытий помещений должны быть не менее 2,8 м.

а – смывная; б – самотечная непрерывного действия;
в – шиберная; г – секционная
1 – решетчатый пол; 2 – система смыва; 3 и 4 – продольный и
поперечный каналы; 5 – порожек; 6 – шибер
Рисунок 78 – Схемы гидравлических систем удаления
навоза из помещений
Гидравлические системы удаления навоза (рис. 78) п р е д с т а в - л я ю т собой комплекс инженерных сооружений и включают: навозоприемные каналы, перекрытые сверху решетками 1; магистральный коллектор 4; навозосборник с насосной станцией перекачки.
Самотечная система непрерывного действия п р е д н а з н а ч е - н а для удаления навоза из помещений свинарников и коровников при бесподстилочном содержании животных.
У с т р о й с т в о (рис. 79): самотечная система удаления навоза непрерывного действия с о с т о и т из продольных навозоприемных каналов 3, перекрытых решетчатым полом 7; внутрифермской насосной станции (на рисунке не показана); смывного водопровода оборотной воды 1 и магистрального коллектора 6. В месте примыкания продольных каналов к поперечным делают порожек 4 высотой 100…150 мм. При пуске системы продольный канал предварительно заполняют водой из трубопровода 1 на высоту порожка.

1 – смывной водопровод; 2 – плита; 3 – навозоприемный канал;
4 – порожек; 5 – муфта; 6 – магистральный коллектор; 7 – решетка
Рисунок 79 – Устройство продольного навозоприемного канала самотечной
системы удаления навоза непрерывного действия
Р а б о ч и й п р о ц е с с самотечной системы непрерывного действия основан на самопередвижении смеси экскрементов, то есть использовании вязкопластичных свойств жидкого навоза. Система действует непрерывно по мере поступления навозной массы через щели надканальных решеток и ее стекания через открытый конец канала в общий поперечный коллектор 6. Толщина слоя навоза по длине канала увеличивается в сторону противоположную его движению (рис.78, б). Под действием подпора, создаваемого разностью толщины слоя, возникает сила, перемещающая навоз вниз по каналу. Навозная смесь непрерывно вытекает из канала с очень малой скоростью и ее движение едва заметно.
Самотечная система периодического действия п р е д н а з н а - ч е н а для удаления навоза на фермах КРС и свинарных при бесподстилочном содержании животных.
У с т р о й с т в о (рис. 80): самотечная система периодического действия устроена аналогично системе непрерывного действия, но имеются отличия, в том числе:
· навозоприемный канал 3 выполнен с уклоном дна 0,005…0,007;
· в конце навозоприемного канала установлен дроссельный шибер 5;
· в конце навозоприемного канала установлена железобетонная перегородка 6 с целью предотвращения контакта между соседними навозоприемными каналами и устранения сквозняков, а также предотвращения попадания вредных газов в животноводческие помещения.

1 – смывной водопровод; 2 – плита; 3 – навозоприемный канал; 4 – решетка;
5 – шибер дроссельный; 6 – перегородка; 7 – скоба; 8 – ручка; 9 – кольцо;
10 – колодец сбросной; 11 – магистральный коллектор
Рисунок 80 – Устройство навозоприемного канала самотечной системы
удаления навоза периодического действия
Заслонку дроссельного шибера в вертикальное положение поднимают с помощью троса или тяги, а опускают под действием силы тяжести.
Р а б о ч и й п р о ц е с с: экскременты животных, проваливаясь через решетки 4, накапливаются в навозоприемных каналах 3 до уровня в головной его части согласно санитарным требованиям не менее 0,3 м до нижней поверхности решетчатого пола. Период накопления составляет 7…14 дней в зависимости от породы животных, кормового рациона и времени года.
Когда канал заполнен, открывают шибер и выпускают накопившийся навоз, тем самым запускается в действие самотечная система. Оставшийся в канале слой навоза на уровне порожка вытесняется поступающей в канал свежей навозной массой.
Для периодической очистки навозоприемных каналов от остатков навоза и осадка к началу их, как и при самотечной системе непрерывного действия, подводят в смывной водопровод оборотную воду.
Контрольные вопросы
1. Назвать системы механизации удаления навоза из животноводческих помещений.
2. Для чего предназначен, как устроен и работает скребковый транспортер ТСН-160А?
3. Для чего предназначена, как устроена и работает установка УС-Ф-170?
4. Как устроен и работает агрегат АУН-10?
5. Назначение, устройство и принцип работы агрегата СУ-Ф-0,4.
6. Какие существуют схемы гидравлических систем удаления навоза из животноводческих помещений?
7. Как устроена и работает самотечная система навозоудаления непрерывного действия?
8. Как устроена и работает самотечная система навозоудаления периодического действия?