Для измерения потенциалов в схеме необходимо первым делом выбрать точку с нулевым потенциалом. Для измерения потенциалов используется вольтметр. Вольтметр показывает падение напряжения, или разность потенциалов:

Если потенциал точки b равен нулю, то вольтметр покажет потенциал точки a. Таким образом для измерения потенциалов разных точек схемы необходимо подключить вольтметр одним зажимом к точке с условно нулевым потенциалом, а другой зажим поочерёдно подключать к другим точкам схемы и снимать показания. Отметим, что для того, чтобы положительный потенциал совпадал с положительным показанием вольтметра, требуется подключить к нулевой точке зажим вольтметра со знаком минус.
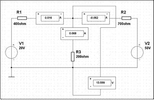
Рассмотрим в качестве примера следующую схему.
| a | |
| b |
В изображённой схеме показано, как измерить потенциал точки a. Потенциал точки b принят равным нулю. Таким образом
.






