При введении стержня в активную зону увеличивается скорость поглощения нейтронов. Наряду с этим происходит увеличение утечки нейтронов вследствие изменения распределения нейтронного поля.
Как следует из рис. 5.2., с приближением к стержню плотность потока нейтронов резко спадает. При условии сохранения постоянной средней плотности потока тепловых нейтронов ее значение возрастает на периферии активной зоны. А это приводит к увеличению утечки из активной зоны как тепловых, так и быстрых нейтронов.
Физический вес стержня – это реактивность, высвобождаемая при выведении стержня из активной зоны или подкритичность, появляющаяся при введении стержня в критическую зону.

Рис. 5.2. Распределение плотности потока тепловых нейтронов по радиусу активной зоны без стержня (1) и с центрально расположенным поглощающим стержнем (2)
Применительно к цилиндрическому стержню считают, что плотность потока нейтронов обращается в нуль внутри стержня на расстоянии от его границы, которая называется длиной линейной экстраполяции, а радиус
- эффективным радиусом стержня.
Длина линейной экстраполяции наиболее сильно зависит от материала, из которого изготовлен стержень. Например, практически полного поглощения нейтронов можно достичь в слое бора толщиной 0,3 мм, а при использовании стали – в слое 150 мм.
Эффективность одиночного стержня, расположенного в центре гомогенной активной зоны равна
| (5.1) |
где
- радиус активной зоны,
- длина диффузии в активной зоне,
- коэффициент квадратичного усреднения плотности потока по радиусу реактора, определяемый соотношением
| (5.2) |
то есть
является характеристикой неравномерности распределения нейтронного потока по сечению активной зоны.
Анализируя формулу (5.2.1), можно сделать следующие выводы:
1) эффективность центрального стержня тем больше, чем неравномернее распределение нейтронного поля по сечению активной зоны (меньше
), так как при одинаковом среднем потоке в этом случае центральный стержень будет находиться в зоне с повышенной плотностью потока.
Если распределение нейтронного поля не зависит от мощности (
), можно сделать вывод о независимости эффективности стержня от мощности реактора. В практике это положение находит применение при «взвешивании» и градуировке стержней СУЗ, когда результатами по взвешиванию стержней, полученными на минимально контролируемом уровне мощности, пользуются при работе реактора на номинальной мощности.
Это объясняется тем, что при изменении средней плотности потока нейтронов поглощение стержнем изменяется одновременно с изменением утечки и генерации нейтронов;
2) эффективность стержня прямо пропорциональна квадрату длины диффузии. С увеличением длины диффузии, т.е. смещения теплового нейтрона до поглощения в активной зоне, повышается вероятность попадания его в поглощающий стержень. Это приводит как бы к увеличению зоны действия стержня.
Поскольку с увеличением температуры размножающей среды длина диффузии увеличивается, то с разогревом активной зоны эффективность стержня увеличивается. Данный эффект особенно существенен в водо-водяных реакторах вследствие значительного изменения плотности воды с температурой и связанного с этим изменением длины диффузии;
3) эффективность стержня обратно пропорциональна квадрату радиуса активной зоны. Это объясняется тем, что при малых размерах активной зоны введение поглощающего стержня существенно деформирует нейтронное поле, и для поддержания
требуется увеличить поток на периферии активной зоны, что увеличивает утечку.
При больших размерах активной зоны введение стержня не влечет за собой заметного увеличения утечки;
4) эффективность стержня возрастает с увеличением
, так как при этом длина экстраполяции изменяется относительно слабо, и в результате увеличивается объем эффективно работающего поглотителя.
По мере перемещения поглощающего стержня от центра на периферию активной зоны его эффективность уменьшается вследствие снижения плотности потока тепловых нейтронов, что ведет к уменьшению поглощения нейтронов пропорционально снижению этой плотности.
Кроме того, ценность нейтронов, находящихся ближе к периферии активной зоны ниже, чем в центре. Это объясняется большей вероятностью утечки нейтрона.
Ценность нейтрона примерно пропорциональна также относительной плотности потока нейтронов.
Поэтому считают, что эффективность стержня пропорциональна квадрату относительной плотности потока нейтронов в области его расположения:
| (5.3) |
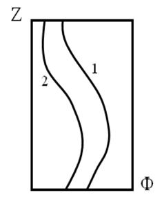
С учетом распределения нейтронного потока на высоте активной зоны в центре и на некотором удалении от него (рис. 5.3) эффективность периферийного стержня, полностью погруженного в активную зону, равна
| (5.4) |

Рис. 5.3. Осевое распределение плотности потока нейтронов в центре активной зоны (1) и на некотором удалении от центра (2)
Из сопоставления формулы (5.4) и рис. 5.3 следует, что эффективность периферийного стержня пропорциональна отношению площадей, ограниченных осями координат и кривыми 2 и 1, абсциссы которых возведены в квадрат.






