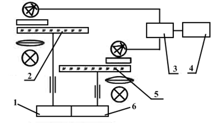
Наиболее полно кинематическая точность колес выявляется при измерении кинематической погрешности
на кинематомере (рис. 3. 120), которая является комплексным показателем. На схеме кинематомера зубчатые колеса 1 и 6 связаны со стеклянными дисками 2 и 5, сигналы о повороте которых обрабатывает преобразователь 3 и выдает устройство отображения измерительной информации 4.

Рис. 3.120. Схема кинематомера
Вместо этого параметра могут быть использованы частные контрольные комплексы (например,
и FvWr), содержащие требования к двум параметрам колеса, связанным с радиальной и тангенциальной составляющими кинематической погрешности. В приведенном частом комплексе
– радиальное биение зубчатого венца, которое можно измерять на специальном биениемере (схема измерения на рис. 3. 121). Тангенциальная составляющаякомплекса FvWr – колебание длины общей нормали, схема измерения которой представлена на рис. 122.
Рис. 3.121. Схема измерения радиального биения зубчатого венца | Рис. 3.122. Схема измерения длины общей нормали |
Появление радиальной составляющей кинематической погрешности может быть вызвано биением рабочей оси зубообрабатывающего станка и неточностью (эксцентриситетом) установки заготовки колеса относительно этой оси. Тангенциальная составляющая кинематической погрешности связана с погрешностями угловых («делительных») кинематических перемещений элементов зуборезного станка.
|
|
|
В частных контрольных комплексах для нормирования кинематической точности используют такие показатели, как колебание измерительного межосевого расстояния за оборот колеса
, измеряемое на межосемере (рис. 3.123), и радиальное биение зубчатого венца
(они характеризуют радиальную составляющую кинематической погрешности), дополненые погрешностью обката Fcr или колебанием длины общей нормали FvWr (они характеризуют тангециальную составляющую кинематической погрешности). Стандарт предусматривает возможности применения других частных комплексов, определяющих степень кинематической точности колес.

Рис. 3.123. Схема межлсемера
Наиболее совершенным способом выделения циклических погрешностей является гармонический анализ результатов измерения кинематической погрешности, но, поскольку измерения на кинематометрах сравнительно редки и дороги, чаще используют другие показатели плавности.
Показателями плавности являются отклонения шага зубьев зубчатого колеса
и отклонения шага зацепления
от номинальных значений, измеряемые с помощью шагомеров (рис. 3. 124 и 3.125.), погрешности профиля зубьев
и др.
При измерении зубчатого колеса шагомером (рис. 3.124) можно оценить как погрешности каждого шага, так и накопленную погрешность шага на всем зубчатом венце колеса Fpr или выбранного числа шагов Fpkr, которые относятся к показателям кинематической точности зубчатых колес.
|
|
|

| Рис. 3.124. Схема измерения шага зубьев | Рис. 3.125. Схема измерения шага зацепления |
Полноту контакта поверхностей зубьев оценивают по пятну контакта (интегральный показатель контакта) или по частным показателям. Пятно контакта можно определять непосредственно в собранной передаче, а также на контрольно-обкатных станках, специальных стендах или на межосемерах при зацеплении контролируемого колеса и измерительным и соблюдении номинального межосевого расстояния. Для контроля пятна контакта боковую поверхность меньшего или измерительного колеса покрывают слоем краски толщиной не более 4…6 мкм и производят обкатку колес при легком притормаживании. В качестве красителя применяют свинцовый сурик, берлинскую лазурь. Значение пятна контакта определяют в относительных единицах - процентах от длины и от высоты активной поверхности зуба. При оценки абсолютной длины пятна контакта из общей длины (в миллиметрах) вычитают разрывы пятна, если они превышают значение модуля зубчатого колеса.
Оценка точности контакта боковой поверхности зубьев в передаче может быть выполнена раздельным контролем элементов, влияющих на продольный и высотный контакты зубьев колес.
В качестве показателей зазора между нерабочим боковыми поверхностями зубьев колес могут быть использованы такие, как межосевое расстояние, определяемое размерами зуба при комплексном контроле в беззазорном зацеплении с измерительным колесом; толщина зуба по хорде на заданном расстоянии от окружности выступов; высота до постоянной хорды (рис. 3.126); длина общей нормали, значение которой зависит от толщины зуба; размер по роликам М, определяемый смещением исходного контура и др.

Рис. 3.126. Схема измерения высоты до постоянной хорды
Для контроля параметров зубчатых колес применяют специально разработанные приборы. К ним относятся уже упоминавшиеся кинематомеры и межосемеры, а также приборы для контроля шага (шагомеры), отклонений колебаний длины общей нормали (нормалемеры) и множество других. Некоторые приборы предназначены для контроля только одного параметра (эвольвентомер - для контроля профиля зуба, тангенциальный шагомер - для контроля шага зацепления), другие позволяют контролировать несколько параметров, в том числе и относящиеся к разным нормам точности.
Так межосемер можно использовать для контроля колебания межосевого расстояния за оборот колеса
(показатель из норм кинематической точности), колебания межосевого расстояния на одном зубе
(показатель из норм плавности), отклонения межосевого расстояния от номинального
и
(показатели из норм бокового зазора). На этом же приборе можно проконтролировать и пятно контакта.
Рис. 3.121. Схема измерения радиального биения зубчатого венца
Рис. 3.122. Схема измерения длины общей нормали