Химические способы полировки, широко используемые в п/п производстве, имеют существенные недостатки: образование чечевицеобразной формы, за счет повышенной скорости травления Si на краях.
Поэтому все чаще используется механические способы полировки.
После тонкой шлифовки проводят грубую полировку. Грубая полировка производится на фторопластовом полировальном круге, используют при этом корундовые или алмазные пасты с размером абразива 1мкм. Время грубой полировки от 30 мин до 1 часа. Такое полирование снижает шероховатость поверхности до 0,02 0.08 мкм (200 - 800А). После грубой полировки - тонкая полировка. Имеется две разновидности топкой механической полировки:
Оптическая и металлографическая.
При оптической полировке используют абразивы - оксид хрома, оксид циркония и другие окислы, применяемых в оптической промышленности. На основе этих окислов приготавливается водная суспензия, которая подается на поверхность полировального круга.
Металлографическая полировка - определяется свойствами материала полировальника.
Такими материалами могут быть: силон, нейлон, политекс.
На такой полировальник наносят алмазную пасту пластину 0,25 мкм (2500 А) или пудру окисла алюминия с величиной зерна 0,1 - 0.3 мк.
Толщина нарушенного слоя после глубокой полировки 0,7 до 1.0 мкм.
Обычно механическую полировку применяют в комбинации с химической или электрохимической. Удаляют с помощью электрохимполировки нарушенный слой до 10 - 25 А, а плоскостность 1 мкм/см.
Для химической полировки используют HF - 1 ч. HNO3 - 3 ч. Подбор зависит от необходимой скорости вращения.
«Шлифовальное оборудование»

По типу современного использования инструмента оборудование разделяют на 2 группы:
Со шлифованием - свободным абразивом - абразивной суспензией и со шлифованием связанным абразивом алмазными абразивными кругами.
Станки первой группы делятся па станки с одно и двухсторонней обработкой.
Для устранения клиновидности, получения высокой плоскостности применяют станки двухсторонне обработки ЮФ7219. ИО-19006, СДШ-100, СДП-100.
Главной конструктивной особенностью этих станков является планетарный механизм.
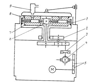
Кинематическая схема станка двухстороннего шлифования:

Планетарный механизм для двухстороннего шлифования пластин







