1 - источник электропитания;
2 - блок микропрограммного управления;
3 - устройство включения;
4 - модуль управления приводом;
5 - опора.
Блок микропрограммного управления состоит из:
устройства управления электромагнитами и осветителями;
устройства сопряжения с ВКУ;
устройства управления приводами;
ультразвукового генератора.
1 Устройство управления электромагнитами и осветителями (УУЭО) предназначено для управления электромагнитами разжима губок, подачи проволоки, отрыва проволоки, фонарем, шаговым приводом натяжения проволоки, программируемого задания тока осветителя ИК излучения, прямого и бокового света, программируемого нагружения в соответствии с циклограммой работы установки.
2 Устройство сопряжения с ВКУ (УСВКУ) предоставляет возможность как совместного так и раздельного отображения символьной и видео информации с TV датчика.
3 Устройство управления приводами (УУП) предназначено для управления независимо 4-мя шаговыми приводами
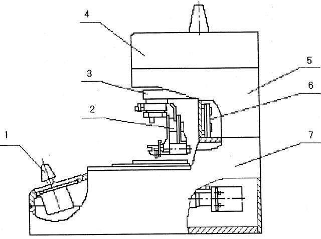
Устройство микросварки предназначено для подъема, опускания, перемещения по координатам X, У предметного стола с установленными на нем приборами и поворота инструмента.
|
|
|
Устройство микросварки состоит из механизма поворота 3, головки сварочной 2, станины 7, пульта 1, корпуса 5, крышки 4, устройства кроссового 6.
Механизм поворота предназначен для поворота сварочной головки с инструментом, а также натяжения плоского кабеля, необходимого для передачи команд исполнительным органам сварочной головки.
На неподвижно закрепленный вал установлен на подшипниках корпус. Вращение корпуса осуществляется шаговым двигателем с помощью редуктора. Зазор в зубчатом зацеплении выбирается винтами, закрепляющими на корпусе разрезную шестерню. Датчик определяет исходное положение сварочной головки. Привод служит для подачи проволоки в тракте. Трос наматывается на барабан и крепится к каретке. При вращении корпуса каретка перемещается по направляющим, а ролик, закрепленный на каретке натягивает плоский кабель. На обратной стороне основания каретка взаимодействует с тумбами, которые ограничивают перемещение каретки. Блок оптический в совокупности с телевизионной камерой и видеомонитором 5, предназначен для проецирования на экране видеомонитора изображения контактных площадок кристаллов и выводов корпуса полупроводниковых приборов и ИС.







