Экзаменационный билет №3
По специальности «Машинист экскаватора»
1. Что входит в состав рабочего оборудования? Дайте краткую конструктивную характеристику
2. Однолинейная схема питания экскаватора 2КВ-6.
3. Напорный механизм, устройство и принцип действия. Схема запасовки напорного и возвратного канатов (драглайнов – подъем и тяга).
4. Категории электроприемников и обеспечение надежного энергоснабжения.
5. Подготовка экскаватора к работе.
6. Как произвести замер сопротивления изоляции электромашин постоянного тока, его min величина.
2.

Высокое напряжение 6000 кВ через кабельный вывод, посредством кабеля КГЭ-ХЛ 3х35 + 1х10 +1х6 поступает на вводную коробку. С водной коробки, через кабельную перемычку, на высоковольтные кольцевые токоприемники посредством кабеля на воздушный разъединитель 2КВ-6 через высоковольтный предохранитель на ТСН и параллельно на вакуумный выключатель ВВТЭ. Затем по средствам кабельной перемычки на высоковольтный синхронный двигатель СД 1000 об/мин, 630 кВт.
|
|
|
РФЗ – разъединитель фарфоровый с заземляющими ножами
ПК 6/40– плавкий предохранитель
ТМ 160/6, 6/0,4– трансформатор трехфазный с масленым охлаждением
ТТ – измерительный трансформатор тока, для питания максимальной токовой защиты
ВВТЭ -6/400 – силовой выключатель нагрузки, вакуумный
КП – кабельная перемычка
4. В отношении обеспечения надежности электроснабжения электроприемники разделяются на следующие три категории: электроприемники 1 категории — электроприемники, перерыв электроснабжения которых может повлечь за собой: опасность для жизни людей, значительный ущерб народному хозяйству; повреждение дорогостоящего основного оборудования, массовый брак продукции, расстройство сложного технологического процесса, нарушение функционирования особо важных элементов коммунального хозяйства.
Из состава электроприемников I категории выделяется особая группа электроприемников, бесперебойная работа которых необходима для безаварийного останова производства с целью предотвращения угрозы жизни людей, взрывов, пожаров и повреждения дорогостоящего основного оборудования.
Электроприемники II категории — электроприемники, перерыв электроснабжения которых приводит к массовому недоотпуску продукции, массовым простоям рабочих, механизмов и промышленного транспорта, нарушению нормальной деятельности значительного количества городских и сельских жителей.
Электроприемники III категории — все остальные электроприемники, не подходящие под определения I и II категорий.
Электроприемники I категории должны обеспечиваться электроэнергией от двух и более независимых взаимно резервирующих источников питания, и перерыв их электроснабжения при нарушении электроснабжения от одного из источников питания может быть допущен лишь на время автоматического восстановления питания.
|
|
|
Для электроснабжения особой группы электроприемников I категории должно предусматриваться дополнительное питание от третьего независимого, взаимно резервирующего источника питания.
В качестве третьего независимого источника питания для особой группы электроприемников и в качестве второго независимого источника питания, для остальных электроприемников I категории, могут быть использованы местные электростанции, электростанции энергосистема частности, шины специальные агрегаты бесперебойного питания, аккумуляторные батареи и т. п.
6. Минимальная величина – 1 кОм на 1 В напряжения.
Экзаменационный билет №4
По специальности «Машинист экскаватора»
1. Расположение оборудования на ходовой тележке и поворотной платформе.
2. Запуск сетевого двигателя экскаватора.
3. Рельсо-роликовый круг, назначение и устройство.
4. Основные и дополнительные средства защиты в электроустановках до 1000 В.
5.Смазочные материалы, применяемые на экскаваторах.
6.Правила безопасности при прозвонке мегомметром высоковольтного кабеля.

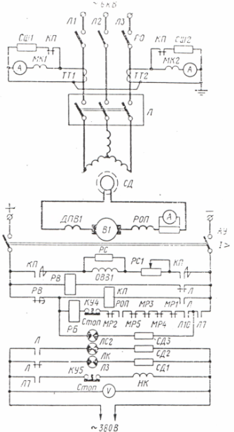
Напряжение 6000 В подаётся на верхние губки разъединителя Р высоковольтного распределительного шкафа. При включении разъединителя Р получает питание, через предохранители, силовой трансформатор на 6000/400 В, при этом вольтметр и лампа JI3 окажутся под напряжением. Реле напряжения РН вакуумного выключателя осуществляет нулевую защиту синхронного двигателя, действующего на отключение вакуумного выключателя ВВ при отсутствии или при снижении напряжения ниже 65% от номинального. Вольтметр и зелёная сигнальная лампа дают возможность судить о наличии и величине напряжения высоковольтной сети. При включении автомата АУ реле времени РВ разомкнёт свой контакт в цепи катушки контактора КП, нормально открытые контакты которого во время пуска синхронного двигателя остаются разомкнутыми. Обмотка ротора двигателя не обтекается постоянным током, так как обмотка возбуждения возбудителя В1 отключена от сети питания. Обмотка ротора синхронного двигателя подключена наглухо на якорь возбудителя. При включении вакуумного выключателя ВВ синхронный двигатель будет разгонятся как асинхронный. При этом нормально замкнутые блок-контакты вакуумного выключателя ВВ разомкнутся и зелёная лампа погаснет, а нормально открытые блок-контакты замкнутся и загорится красная лампа Ж.
Для предотвращения срабатывания максимальной защиты токовых реле РТ1 и РТ2 в период пуска предусмотрено шунтирование контактором КП этих реле на сопротивление R7 и Д8, при этом ток уставки максимальных реле увеличивается в 2,5 раза. Нормально открытый блок-контакт вакуумного выключателя ВВ замкнёт цепь катушки контактора КП, а нормально закрытый разорвёт цепь катушки реле времени РВ. Обмотка возбуждения возбудителя подключается к сети через 3-4 секунды после снятия напряжения с катушки реле РВ. Одновременно получит питание обмотка возбуждения синхронного двигателя. К этому времени ротор синхронного двигателя будет вращаться с оборотами, близкими к синхронным и с подключением постоянного тока войдёт в синхронизм.
Для контроля наличия тока возбуждения в обмотке ротора синхронного двигателя последовательно с ней включено реле обрыва поля РОП. В случае отсутствия тока возбуждения блокировочный контактор РБ отключится. Аварийное отключение синхронного двигателя производится кнопкой «СТОП» в цепи нулевой катушки РН. Кнопка смонтирована на командоконтроллере напора. Для регулирования тока возбуждения синхронного
|
|
|
4. К основным индивидуальным средствам защиты до 1000В относятся:
- инструменты с изолирующими ручками;
К дополнительным:
- диэлектрические боты, галоши и коврики;
- изолирующие подставки.
4. ТАП-15В, Литол-24, Нигрол Л, Усс А
6. Измерение сопротивления изоляции мегомметром должно осуществляться на отключенных токоведущих частях, с которых снят заряд путем предварительного их заземления. Заземление с токоведущих частей следует снимать только после подключения мегомметра.
При измерении мегомметром сопротивления изоляции токоведущих частей соединительные провода следует присоединять к ним с помощью изолирующих (держателей 9 штанг). В электроустановках напряжение выше 1000 В., кроме того, следует пользоваться диэлектрическими перчатками.
При работе с мегомметром прикасаться к токоведущим частям, к которым он присоединен, не разрешается. После окончания работы следует снять с токоведущих частей остаточный заряд путем их кратковременного заземления.