При захватах может быть местная или дистанционная расстроповка; последняя освобождает монтажника от непроизводительных переходов и подъемов для расстроповки. Захваты могут быть оборудованы ручным или механическим (электромеханическим, электромагнитным, пневматически) приводом.
Для временного закрепления и выверки деталей применяют клинья, расчалки, кондукторы и струбцины. С помощью клиньев и расчалок монтируют небольшие (массой до 2 т и высотой до 4 м) колонны. Клинья изготовляют из древесины твердых пород (дуба, бука), бетона и стали. Их применяют на монтаже железобетонных конструкций. Монтаж металлических конструкций ведут с помощью металлических клиньев. Использование деревянных клиньев на монтаже железобетонных конструкций затрудняет их извлечение после заделки стыков. Оставлять в стыках можно только бетонные и металлические клинья, но это невыгодно. В подобных случаях лучше пользоваться инвентарными клиновыми вкладышами, которые легко можно удалять, к тому же ими можно пользоваться при установке колонн, если стыки имеют различные размеры. По каждой грани колонн при ее ширине до 400 мм устанавливают один вкладыш, при большей ширине колонны – два вкладыша. После достижения бетоном стыка 70% проектной прочности вкладыши извлекают. Применение вкладышей вместо клиньев позволяет сократить время работы крана примерно на 15%.
|
|
|
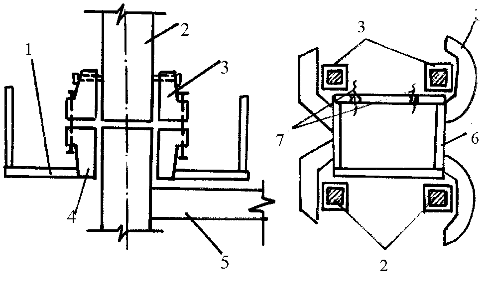
Для выверки и временного закрепления колонн в стаканах применяют кондукторы различных конструкций. Имеются кондукторы для монтажа колонн в стаканы фундамента и на нижележащую колонну. Одиночные кондукторы (рис. 8.15) предназначены для одновременного монтажа одной колонны, групповые – для одновременного монтажа нескольких колонн. В любом случае кондуктор состоит из устройства для закрепления кондуктора на фундаменте, нижележащей колонне или перекрытии (хомуты, струбцины, тяги), устройства для временного закрепления монтируемой колонны (обычно – разъемные хомуты), устройства для перемещения колонны вдоль осей здания и настилов (стационарных или откидных) для размещения монтажников и сварщиков, соединенных при необходимости лестницами – если кондукторы многоярусные.

Рис. 8.15. Одинарный (а) и групповой (б) кондукторы для временного закрепления колонн:






