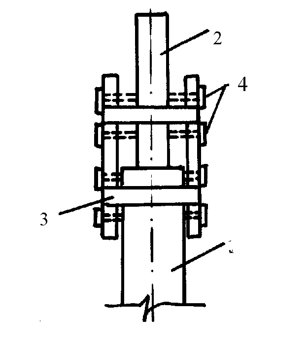
Кондукторы (рис. 8.16) для монтажа балок и ферм представляют собой металлическую струбцину, закрепленную болтами на консоли колонн. После установки на консоли балки или фермы ее можно при необходимости сдвинуть вращением болтов кондуктора.
Струбцины для монтажа стеновых панелей крупнопанельных зданий закрепляют на металлической трубе (штанга-держатель) на одном или двух ее концах. Если струбцина закреплена на одном конце штанги, то такое приспособление называют струбциной с подкосом. Струбцину закрепляют на установленной панели, а второй конец подкоса – на перекрытии. Подкос снабжен муфтой, вращая которую, можно изменить длину штанги-держателя и тем самым сдвинуть верх панели, установив ее вертикально. Штангой-держателем со струбцинами на обоих концах закрепляют панели стен и перегородок, устанавливаемых параллельно друг другу. Вертикальность установки при этом проверяют с помощью отвес-рейки (рис. 8.17).

Рис. 8.16. Кондуктор для монтажа балок и ферм:






