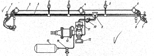
3.1. Пассажирские вагоны (рис. 32). Воздухораспределитель № 292-001 и электровоздухораспределитель 12 № 305-000 установлены на кронштейне задней крышки тормозного цилиндра 13. Под вагоном также расположены магистральная труба 3 диаметром, концевые краны с междувагонными соединительными рукавами 7 и тройник или пылеловка 9. Разобщительный кран 10 служит для включения и выключения воздухораспределителя 11.
В каждом пассажирском вагоне имеется не менее трех кранов 5 для экстренного торможения (стоп-кранов). Запасный резервуар 15 соединен трубой диаметром с кронштейном задней крышки тормозного цилиндра 13. На трубе от запасного резервуара или на запасном резервуаре установлен выпускной клапан 14. На некоторых типах вагонов приборы 10 и 12 установлены на отдельном кронштейне, а тормозной цилиндр имеет обычную крышку.

Рис.10. Схема тормозного оборудования пассажирского вагона
3.2. Грузовые вагоны (рис. 11). Двухкамерный резервуар 7 прикреплен к раме вагона четырьмя болтами и соединен трубами с тройником или пылеловкой 2, запасным резервуаром 4 и тормозным цилиндром 10 диаметром через авторежим 9. К резервуару 7 прикреплены магистральная 6 и главная 8 части воздухораспределителя.
![]() |
Рис. 11. Схема тормозного оборудования грузового вагона
Разобщительный кран 5 диаметром служит для включения и выключения воздухораспределителя. На магистральной трубе расположены концевые краны 3 и соединительные рукава. Концевые краны установлены с поворотом на 60° относительно горизонтальной оси. Это улучшает работу рукавов в кривых участках пути и устраняет удары головок рукавов при следовании через горочные замедлители.
Стоп-кран 1 со снятой ручкой ставят только на вагонах с тормозной площадкой.







