Назначение и основные требования к выключателям высокого напряжения являются общими (см. практические работы № 4 и 7).
Маломасляные выключатели применяются в закрытых и открытых распределительных устройствах напряжением 6 – 110 кВ. масло в этих выключателях в основном служит дугогасящей средой и только частично изоляцией между разомкнутыми контактами. Изоляция токоведущих частей друг от друга и от заземленных конструкций осуществляется фарфором или другими твердыми изолирующими материалами. Контакты выключателей для внутренней установки находятся в стальном бачке (горшке). Широкое применение имеют выключатели 6 – 10 кВ подвесного типа (ВМП). В этих выключателях корпус крепится на фарфоровых изоляторах к общей раме для всех трех полюсов. В каждом полюсе предусмотрен один разрыв контактов и дугогасительная камера.
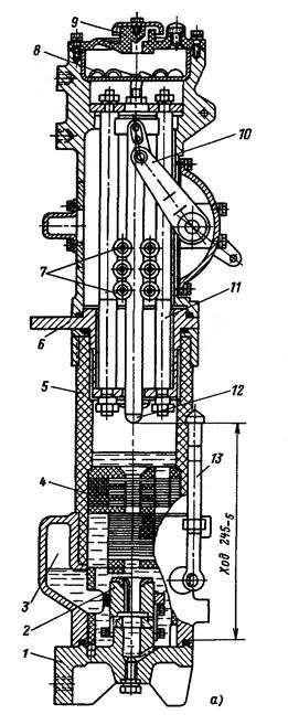
Полюс выключателей ВМП (масляный, подвесной) и ВМГ (масляный, горшковый) состоит из прочного влагостойкого изоляционного цилиндра 5 (стеклоэпоксидный пластик), торцы которого армируются металлическими фланцами. На верхнем фланце изоляционного цилиндра укреплен корпус из алюминиевого сплава, внутри которого расположены: приводной выпрямляющий механизм, подвижный контактный стержень, роликовое токосъемное устройство и маслоотделитель. Нижний фланец из силумина закрывается крышкой, внутри которой вмонтирован розеточный контакт, а снаружи пробка для спуска масла. Внутри цилиндра над розеточным контактом имеется гасительная камера, собранная из изоляционных пластин с фигурными отверстиями. Набором пластин создаются три поперечных канала и масляные карманы. Во включенном положении контактный стержень находится в розеточном контакте. При отключении привод освобождает отключающую пружину, находящуюся в раме выключателя, и под действием ее силы вал выключателя 6 поворачивается, движение передается изоляционной тяге 4 а от нее приводному механизму 10 и контактному стержню, который движется вверх. При размыкании контактов возникает дуга, испаряющая и разлагающая масло. В первые моменты контактный стержень закрывает поперечные каналы дугогасительной
|
|
|
камеры, поэтому давление резко возрастает, часть масла заполняет буферный объем, сжимая в нем воздух. Как только стержень открывает первый поперечный канал, создается поперечное дутье газами и парами масла. При переходе тока через ноль давление в газопаровом пузыре снижается и сжатый воздух буферного объема, действуя подобно поршню, нагнетает масло в область дуги.
Выключатель серии ВМП

Рисунок 8.1 – разрез полюса выключателя ВМП-10.
1 – нижний вывод и крышка выключателя; 2 – неподвижный контакт; 3 – воздушная подушка; 4 – гасительная камера; 5 – изоляционный цилиндр; 6 – верхний вывод; 7 – роликовый токосъемный контакт; 8 – маслоотделяющее устройство; 9 – крышка; 10 – приводной выпрямляющий механизм; 11 – направляющий стержень; 12 – подвижный контакт; 13 – маслоуказатель.
|
|
|
При отключении больших токов образуется энергичное поперечное дутье и дуга гаснет в нижней части камеры. При отключении малых токов дуга тянется за стержнем и в верхней части камеры испаряется масло в карманах. Создавая встречно-радиальное дутье, а затем при выходе стержня из камеры – продольное дутье. Время гашения дуги при отключении больших и малых токов не превосходит 0, 015 – 0,025 с.
Для повышения стойкости контактов к действию электрической дуги наконечник подвижного контакта и верхние торцы ламелей неподвижного контакта облицованы дугостойкой металлокерамикой.
После гашения дуги пары и газы попадаю в верхнюю часть корпуса, где пары масла конденсируются, а газ выходит наружу через отверстие в крышке. Когда камера заполнится маслом, выключатель готов для выполнения следующего цикла операций.
Контроль за уровнем масла в цилиндре производится по маслоуказателю. Для смягчения удара при включении выключателя в раме имеется масляный буфер 5.
Выключатель серии МГГ
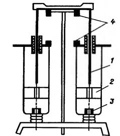
При больших номинальных токах обойтись одной парой контактов (которые выполняют роль рабочих и дугогасительных) трудно, поэтому предусматривают рабочие контакты снаружи выключателя, а дугогасительные – внутри металлического бачка (рисунок 8.2). При больших отключаемых токах на каждый полюс имеется два дугогасительных разрыва.По такой схеме выполняются выключатели серий МГГ на напряжение
до 20 кВ включительно.

Рисунок 8.2 – конструктивная схема маломасляного выключателя МГГ-10.
1 – подвижный контакт; 2 – дугогасительная камера; 3 – неподвижный контакт; 4 – рабочие контакты.

Рисунок 8.3 – общий вид выключателя МГГ-10
Массивные внешние рабочие контакты 4 позволяют рассчитать выключатель на большие номинальные токи (до 9500 А). Дугогасительный контур размещен в изоляционном цилиндре с маслом и имеет такое же устройство, как у ВМП-10 на меньшие токи. Контакты рабочего контура расположены снаружи. Внутреннее устройство полюса для всей серии выключателей одинаково.
Область применения маломасляных выключателей – закрытые распределительные устройства электростанций и подстанций 6, 10, 20, 35 и 110 кВ, комплектные распределительные устройства 6, 10 и 35 кВ и открытые распределительные устройства 35 и 110 кВ.






