Робота виконується за програмою підрозділу 2.
Перед початком роботи обов’язково ознайомитися з правилами техніки безпеки (Додаток А)
Пропонована форма звіту повинна містити:
1 Номер, найменування, мета роботи
2 Способи дозування
3 Класифікація дозаторів
4 Результати вимірювань і їх статистична обробка (журнал спостережень) (Додаток Б, таблиця Б.2).
5 Побудовану тарировочну криву у вибраному масштабі.
6 Висновки по роботі.
Пункти 1, 2, 3, 4 студент виконує самостійно, як підготовку до лабораторної роботи.
2.5 Контрольні запитання
2.5.1 Призначення дозатора?
2.5.2 Які засоби дозування Вам відомі?
2.5.3 Що є оціночним показником точності дозування?
2.5.4 За якими критеріями класифікують дозатори?
2.5.5 Як виконати тарування дозатора?
2.5.6 Як визначити необхідну кількість замірів видачі норм корму при експерименті?
2.5.7 Як визначити кількість повторності експерименту?
2.5.8 3 яких елементів складається експериментальна установка?
2.5.9 Що впливає на точність результатів замірів?
2.5.10 Що впливає на якість дозування?
2.5.11 Назвіть типи дозаторів безперервної дії.
2.5.12 Що є мірою випадкового розсіювання одержаних при
експерименті результатів?
2.5.13 Що таке центр налагодження дозаторів?
2.5.14 Як визначити погрішність дозування?
ДОСЛІДЖЕННЯ ПРОЦЕСУ ЗМІШУВАННЯ КОРМІВ
Методичні вказівки до лабораторної роботи № 10
МЕТА РОБОТИ - вивчити процес змішування кормів і отримати практичні навики по визначенню однорідності кормових сумішей.
1 ВКАЗІВКИ З САМОПІДГОТОВКИ ДО РОБОТИ
1.1 Завдання для самостійної роботи
Вивчити:
- основи теорії змішування кормів [1, с.145, 146];
- зоотехнічні вимоги до процесу змішування кормів [2, с.214];
- класифікацію і оцінку змішувачів [1, с. 146... 149].
Скласти звіт по роботі:
- записати номер, тему та мету роботи;
- коротко описати етапи процесу змішування;
- зоотехнічні вимоги до процесу змішування кормів.
1.2 Питання для самопідготовки
1.2.1 Назвіть основні етапи процесу змішування кормів.
1.2.2 Які фактори впливають на якість змішування?
1.2.3 Класифікація змішувачів.
1.2.4 Охарактеризуйте процес змішування в порційному змішувачі.
1.2.5 Охарактеризуйте процес змішування в змішувачі безперервної дії.
1.2.6 Назвіть основні типи робочих органів змішувачів.
1.3 Рекомендована література
1 Механізація виробництва продукції тваринництва / За ред. І.І. Ревенка. - К.: Урожай. - 1994. - 264 с.
2 Ревенко І.І. Машини та обладнання для тваринництва/ Ревенко І.І., Брагінець М.В., Ребенко В.І. – К.: Кондор, 2009. – 731 с.
2 ВКАЗІВКИ ДО ВИКОНАННЯ РОБОТИ
2.1 Програма роботи
Вивчити:
- основи теорії змішування кормів і визначення однорідності кормових сумішей;
- класифікацію і оцінку змішувачів;
- будову лабораторної установки і методику визначення кінематичного показника режиму роботи змішувача;
- методику визначення однорідності кормової суміші. Виконати всі необхідні операції та заміри і обробити експериментальні дані.
Скласти звіт і захистити роботу.
2.2 Теоретичні відомості
Основи теорії змішування кормів і визначення однорідності кормових сумішей.
Змішування - це процес отримання однорідної суміші із декількох компонентів, тобто створення рівномірного розподілу часток кожного компоненту в усьому об'ємі суміші шляхом взаємного їх переміщення під дією зовнішніх сил.
Під час процесу змішування послідовно проходять три етапи:
- конвективне змішування, при якому швидкість процесу майже не залежить від фізико-механічних властивостей змішуваних матеріалів;
- дифузійне змішування, при якому швидкість процесу дещо уповільнюється в результаті поступового перерозподілу часток через свіжо утворені межі їх розподілу;
- стан завершення змішування. Подальше перемішування не покращує якості суміші.
Процес змішування протікає швидше і стійкіше у випадку перемішування однорідних кормів. І навпаки, при змішування кормів із частками різних розмірів і неоднакових за щільністю процес протікає повшьніше і менш стабільно. Все це вказує на те, що зі зменшенням середнього розміру змішуваних часток якість змішування покращується, тобто для одержання більш однорідної суміші необхідне відповідне подрібнення компонентів.
На якість змішування впливають також інші фактори. Чим ближче у змішуваних компонентів фізико-механічні властивості, тим ефективніше протікає процес їх змішування. Значна різниця у розмірах і щільності сприяє розподіленню часток компонентів. При змішуванні сухих компонентів із вологими зростання відносної вологості до 14-15% сприяє підвищенню рівномірності змішування. Подальше збільшення вологості вимагає збільшення часу змішування.
В реальних умовах на механічних змішувачах можна досягти такого стану суміші, при якому вірогідність находження кожного компоненту в любій довільній точці об'єму є величина постійна і рівна його частці в усій масі сумішки.
Кількісною характеристикою закінченості процесу змішування являється ступінь однорідності суміші λ, яка представляє собою масове відношення вмісту контрольного компоненту в аналізуємій пробі до вмісту того ж компоненту в ідеальній (рецептурній) сумішці, виражене в процентах або в долях одиниці.
Якість сумішки вважається доброю при λ > 92%, задовільною при λ =90...92% і поганою при λ < 85%.
Для визначення ступеня однорідності суміші використовують залежності
при Bt<B0, (1)
або
при Bt>B0, (2)
де Bt - доля найменшого компоненту в пробі;
B0 - доля того ж компоненту в ідеальній (рецептурній) суміші;
п - число проб.
Процес змішування слід розглядати як імовірний, а отже ступінь однорідності суміші можна визначити методом відбору проб із наступним статистичним аналізом. Визначальними ознаками при цьому можуть бути: число зернин компонента в пробі або його масова доля, розміри зернин тощо. В результаті можна отримати групи чисел, які характеризують склад проб по ознаці, прийнятій в якості визначальної.
В подальших розрахунках ці групи чисел обробляються методами математичної статистики. В даному випадку статистичними характеристиками будуть виступати: середньоквадратичне відхилення s і коефіцієнт варіації n.
Середньоквадратичне відхилення знаходять з виразу
(3)
де Вti- концентрація (масова або відносна) найменшого компоненту в і-й пробі;
- середньоарифметичне значення концентрації найменшого компоненту
, (4)
де п - число проб.
Коефіцієнт варіації, в процентах,
. (5)
Низьке значення коефіцієнту варіації свідчить про більш якісне протікання процесу змішування. Для більшості змішувачів значення n= 20 % вважається достатнім.
Лопатеві змішувачі відносяться до універсальних машин і призначені для перемішування рідких, сухих і зволожених кормових мас, а також стеблових кормових матеріалів. Вони мають одновальні і двовальні робочі органи. Конструктивно лопатеві змішувачі періодичної дії складаються з нерухомого корпуса, всередині якого на вертикальному або горизонтальному валу закріплені по гвинтовій лінії лопаті. Останні розміщують похило до напрямку руху. Для підвищення ефективності змішування на стінках корпуса встановлюють нерухомі лопаті.
Будова лабораторної установки і визначення кінематичного показника режиму роботи змішувача
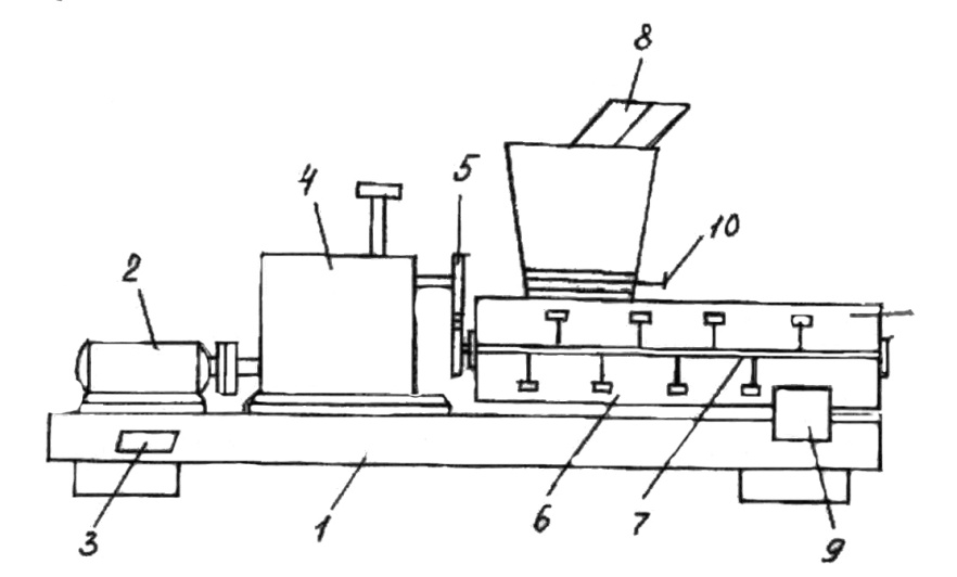
Лабораторна установка (рис. 1) складається із горизонтального лопатевого змішувача безперервної дії, приводу і станини.

1 – станина, 2 – електродвигун, 3 - магнітний пускач, 4 -варіатор. 5 - ланцюгова передача. 6 - змішувач, 7 - мішалка, 8 -завантажувальний бункер для 3-х компонентів, 9 - розвантажувальна горловина змішувача, 10 – засувка
Рисунок 1 - Схема експериментальної установки для змішування кормів
В залежності від частоти обертання мішалок змішувачі ділять на тихохідні і швидкохідні. До тихохідних відносять змішувачі, в якиїс показник кінематичного режиму К < 30, а до швидкохідних - в яких К > 30.
Для оцінки швидкохідності змішувача розраховують показник кінематичного режиму
(6)
де ωм - кутова швидкість мішалки, с-1,
Rм - радіус мішалки, (для лабораторної установки Rм= 0,12 м);
q- прискорення сили тяжіння, м/с2, q = 9,81 м/с2.
Кутова швидкість мішалки

де n - частота обертання мішалки, об/хв.
Для тихохідного режиму роботи змішувача рекомендується наступна частота обертання мішалки п = (150...300)±5 об/хв., а для швидкохідного п = (550... 700)±10 об/хв
В режимі холостого ходу змішувача за допомогою тахометра визначається частота обертання мішалки та розраховується кінематичний режим роботи.
Методика визначення однорідності кормової сумішки
Оцінку однорідності кормової сумішки проводять для тихохідного і швидкохідного кінематичних режимів роботи змішувача.
Експеримент проводиться в наступній послідовності:
- зважують і засипають у бункер змішувача сумішку в відповідності зданими рецепта:
кукурудза (зерно) - 5 кг або В0 = 0,5 (В0 = 50%);
пшениця (зерно) - 3 кг або В0 = 0,3 (В0 = 30%);
просо (зерно) - 2 кг або В0 = 0,2 (В0 = 20%);
- включають установку у роботу,
- відкривають засувку бункера. Змішувач виходить на встановлений режим роботи по однорідності через 15…20 с;
- після виходу змішувача на встановлений режим роботи по однорідності відбирають послідовно з інтервалом 20 секунд не менш 5 проб масою по 700...800 г кожна в спеціальну тару. Час відбору однієї проби сумішки масою 700...800 г становить 3...4 с;
- визначають масу відібраних проб суміші з точністю Мt ± 1 г. Результати заносять до журналу спостережень (таблиця 1);
- кожну пробу суміші розділяють за допомогою ситового класифікатора на складові компоненти протягом 30 с і визначають масу найменшого компонента Gt min з точністю ±1 г. Результати заносяться до журналу спостережень;
- змішувач за допомогою варіатора переводять в швидкохідний режим роботи і аналогічним чином відбирають ще 5 проб суміші для ситового аналізу. Виконують два попередні пункти і результати заносять до журналу спостережень.
Таблиця 1 - Журнал спостережень
| Режим роботи змішувача | Кутова швидкість мішалки, рад/с | Номер досліду | Маса проби суміші, Мt, г | Маса найменшого компонента сумішки Gtтіп , г |
| Тихохідний | ||||
| Швидкохідний |
Обробка експериментальних даних
Обробку експериментальних даних виконують у наступній послідовності:
- визначають показник кінематичного режиму по формулі (6);
- визначають долю меншого компонента в пробі суміші для кожного досліду
(8)
де Gtтіп - маса меншого компонента в пробі сумішки, г;
Мt - маса проби сумішки, г.
- визначають ступінь однорідності суміші по формулі (1) або (2);
- визначають середньоквадратичне відхилення компонента (формула 3) і коефіцієнт варіації (формула 5).
Всі отримані результати обробки експериментальних даних заносять до таблиці 2.
Після обробки експериментальних даних аналізуються результати і робляться висновки.
Таблиця 2 - Показники процесу змішування
| Режим роботи змішувача | Показник кінематичною режиму, К | Доля меншого компонентів в пробі, Bt | Ступінь однорідності суміші, λ,% | Середньоарифметичне значення концентрації найменшого компоненту,
| Середнє квадратичне відхилення компонента σ | Коефіцієнт варіації, n, % |
| Тихохідний | ||||||
2.3 Оснащення робочого місця
2.3.1 Лабораторна установка-змішувач кормів.
2.3.2 Класифікатор для недробленого зерна.
2.3.3 Тахометр.
2.3.4 Секундомір.
2.3.5 Ваги лабораторні.
2.3.6 Тара для відбору проб.
2.3.7 Стіл для розміщення обладнання.
2.3.8 Методичні вказівки.
2.4 Рекомендації щодо виконання роботи й
оформлення звіту
Роботу студент повинен виконувати самостійно
згідно вказівок до виконання роботи. Операції пов'язані із
відбором проб виконуються з дозволу викладача або
лаборанта.
Після виконання роботи студент складає звіт, який вміщує дані:
- номер, найменування і мету роботи;
- коротко описати етапи процесу змішування;
- зоотехнічні вимоги до процесу змішування кормів
- розрахункові формули з прикладом підстановки відповідних значень;
- журнал спостережень та показники процесу змішування (таблиця 1, 2)
- висновки по роботі.
Пункти 1, 2, 3 студент виконує самостійно, як підготовку до лабораторної роботи.
2.5 Контрольні запитання
2.5.1 У чому полягає процес змішування кормів?
2.5.2 Що характеризує ступінь однорідності суміші?
2.5.3 Визначення ступеня однорідності суміші.
2.5.4 При яких значеннях ступеня однорідності якість суміші вважається доброю (задовільною)?
2.5.5 Які фактори впливають на якість змішування?
2.5.6 Що характеризує коефіцієнт варіації процесу змішування?
Додаток А






