Классификация пескодувных машин
Пескодувные машины
Пескодувные машины появились значительно позже других формовочных машин. Лишь в 1940-х годах они нашли широкое применение для изготовления стержней. В 1950-е годы этот метод начали использовать для предварительного уплотнения форм. Первоначально существовал один тип пескодувной головки. Позднее появилась конструкция, позволяющая увеличить скорость надува примерно в 10 раз. Такую машину назвали пескострельной. Таким образом, в классе пескодувных машин имеются два конструктивных типа: пескодувные и пескострельные машины.
Существует два способа подачи смеси в форму: при одном из них смесь при выходе из вдувного отверстия движется перпендикулярно модельной плите, при другом – параллельно. Недостаток второго способа – появление затененных областей за моделями формы со стороны, противоположной надуву.
Пескодувные (пескострельные) машины можно классифицировать по расположению вдувного отверстия относительно опоки: машины с верхним (верхний надув), боковым (боковой надув) и нижним (ствольный надув) расположением вдувного отверстия.
|
|
|
Пескодувный процесс уплотнения может быть одноразовым и пульсирующим; форма (или стержень) изготовляется соответственно при выдаче одной или нескольких выдаваемых последовательно порций смеси.
В формовочных машинах, осуществляющих процесс первого типа, объем пескодувного резервуара больше (иногда в несколько раз) объема формы. В машинах для пульсирующего уплотнения объем резервуара меньше объема формы. Последние машины более универсальны, однако процесс уплотнения сильно удлиняется, возрастает расход воздуха.
Процесс уплотнения на пескодувных машинах заключается в следующем (рис. 30): на столе машины установлена опока 4, которую стол прижимает к надувной плите 3 пескодувного резервуара 1.
Необходимая доза смеси загружается в пескодувный резервуар 1, который затем герметизируется. Далее в резервуар подается сжатый воздух, который выдавливает смесь в опоку 4 через одно или несколько вдувных отверстий. Время рабочего процесса 1¸2 с.
После надува воздух из опоки уходит в атмосферу через специальные отверстия – венты 5. Венты выполняются как в надувной плите (верхняя вентиляция), так и в опоке или модельной плите (нижняя вентиляция). Венты выполняются таким образом, чтобы пропускали только воздух и не пропускали смесь.
Чтобы смесь не слеживалась в пескодувном резервуаре, в него встроены мешалки 2, непрерывно разрыхляющие смесь в процессе надува.
Вариант исполнения пескострельной головки представлен на (рис. 31).
Рис. 30. Пескодувная головка |
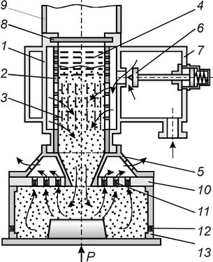
В пескострельном резервуаре 1 имеется гильза 2 с узкими прорезями. Прорези расположены двумя группами. В нижней части гильзы прорези 3 ориентированы вертикально, а прорези 4 в верхней части гильзы – горизонтально.
|
|
|
Нижняя часть резервуара представляет собой коническую насадку 5 с выходным отверстием. Выходное отверстие может быть круглым, щелевым, крестообразным и другой конфигурации.
Для отвода воздуха из технологической емкости 13 в ней и в надувной плите 10 делаются венты 12 и 11.
Рис. 31. Пескострельная головка |
Для обеспечения высокой скорости надува смеси требуется большая скорость подвода воздуха. Для обеспечения большого мгновенного расхода воздуха головка оборудована пневматическим аккумулятором 7 (ресивером). На рис. 31 ресивер выполнен в виде корпуса головки, однако большее распространение получили ресиверы в виде отдельного газового баллона.
Смесь в гильзу 1 подается из дозатора 9 при открывании шиберного затвора 8. Закрытый шибер герметизирует гильзу и пространство вокруг нее.
После заполнения гильзы смесью и герметизации резервуара открывается быстродействующий клапан надува 6, и сжатый воздух поступает из ресивера в пространство вокруг гильзы. Наличие прорезей в гильзе приводит к тому, что часть воздуха поступает в пространство гильзы над смесью и стремится выдавить ее в опоку.
Другая часть воздуха давит на смесь с боков, отжимает ее от стенок гильзы и снижает, тем самым, трение. Помимо этого воздух фильтруется в объеме смеси и разрыхляет ее. Благодаря такому действию сжатого воздуха надув происходит гораздо быстрее, чем при пескодувном способе. Время рабочего процесса составляет 0,1¸0,2 секунды. На слух надув воспринимается как выстрел, отсюда и название.
Следует отметить особое значение клапана надува. Он должен быть быстродействующим и иметь большое проходное сечение, чтобы обеспечить большой удельный расход воздуха. В задачу клапана входит также сообщение гильзы с атмосферой по окончании надува (на рисунке не показано).
Процесс формирования формы или стержня можно рассматривать как последовательность двух этапов.
Сначала происходит заполнение технологической емкости с предварительным уплотнением смеси за счет кинетической энергии струи и перепада давлений. Затем осуществляется уплотнение смеси за счет выдавливания прессующего кома из насадки в технологическую емкость, которое происходит под действием разности давлений воздуха в рабочем резервуаре и форме.
На первом этапе пескодувный резервуар по существу играет роль питателя. Смесь поступает в технологическую емкость в виде рыхлой, почти неуплотненной струи. На втором этапе происходит выдавливание дополнительной порции смеси из выходного отверстия резервуара в предварительно заполненную технологическую емкость. Смесь, поступающая в опоку, принимает форму кома, прессующего как нижележащие, так и боковые слои. Если в резервуаре имеется несколько выходных отверстий, то из каждого выдавливается отдельный прессующий ком. Комья, выходящие из близко расположенных отверстий, могут сливаться.
Рис. 30. Пескодувная головка
Рис. 31. Пескострельная головка 





