Оборудование для сушки и охлаждения песка и для сушки глины
Оборудование для приготовления свежих формовочных материалов
Одноходовое горизонтальное барабанное сушило для сушки песка и глины (рис. 45) состоит из топки 1, загрузочной воронки 2, барабана 6, механизма вращения печи, смонтированного на раме 10, опорного устройства 3, разгрузочной камеры 8 и вытяжной вентиляционной системы. Барабан наклонен к линии горизонта на 3¸6°, частота вращения n = 0,03¸0,15 с-1 (2¸10 об/мин). Механизм вращения барабана состоит из электродвигателя 9, редуктора 7, уравнительной муфты 5, ведущей шестерни 11 и зубчатого колеса 4. Частота вращения барабана устанавливается путем перестановки сменных шестерен. Осевое перемещение барабана ограничивается опорными роликами 3.
Песок или глину загружают в распределительную часть барабана, где имеются винтовые лопатки, которые распределяют материал по продольным ячейкам (рис. 46). Пересыпаясь с ячейки в ячейку материал, благодаря наклону барабана, перемещается и уже просушенный попадает в разгрузочную камеру 8. Длина барабана до 10 м, а диаметр 2¸2,5 метра. Производительность барабанных сушил при сушке песка до 20 т/час, а при сушке глины 3¸5 т/час.
Рис. 46. Одноходовое барабанное сушило для песка и глины |
В качестве топлива для сушил применяют природный газ. Барабанные сушила обычно выполняют с попутным движением топочных газов и просушиваемого материала. В этом случае наиболее горячие газы будут соприкасаться с более влажным песком, и находящаяся в песке глинистая составляющая будет защищена скрытой теплотой испарения влаги песка от перегрева; качество сухого песка будет лучше. Недостаток барабанных сушил – их большая длина.
Рис. 46. Варианты расположения полок внутри барабанного сушила |
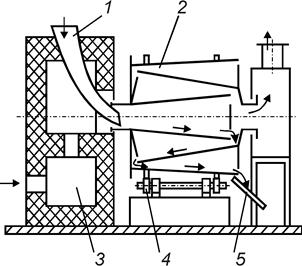
13.1.2. Трехходовое барабанное сушило (20.10.11)
Рис. 47. Трехходовое барабанное сушило |
Трехходовое барабанное сушило (рис. 47) состоит из топки 3, загрузочной воронки 1, трехходового барабана 2, разгрузочного желоба 5 и механизма вращения 4 барабана. Барабан 2 состоит из трех усеченных конусов различных размеров, вставленных один в другой. Благодаря такой конструкции путь перемещения материала при сушке в барабане в 3 раза больше его длины, и та же производительность, что и в одноходовых барабанных сушилах достигается при меньших габаритных размерах.
Рис. 46. Одноходовое барабанное сушило для песка и глины
Рис. 46. Варианты расположения полок внутри барабанного сушила
Рис. 47. Трехходовое барабанное сушило 





