Классификация механизмов челноков
Механизмы челноков
Рабочие инструменты швейных машин

Из имеющегося множества челноков в швейной промышленности наиболее распространенные четыре:
· По горизонтали А изображен челнок, применяющийся в бытовых и промышленных машинах, шьющих со скоростью до 1800 стежков в минуту.
· По горизонтали Б показаны сборка и детали челнока, имеющего наибольшее распространение. Челнок вращается вокруг горизонтальной оси на самых быстроходных машинах.
· По горизонтали В изображен челнок, у которого радиус, описываемый носиком челнока, больше, чем у предыдущего. Это позволяет рекомендовать его для машин зигзагообразной строчки, потому что у таких машин при правом и левом уколах иглы условия взаимодействия с челноком тем лучше, чем больше радиус, описываемый носиком челнока.
· Широко распространены челноки с вертикальной осью вращения - горизонталь Г. Они применяются в двухигольных челночных машинах для прокладывания параллельных строчек.
|
|
|

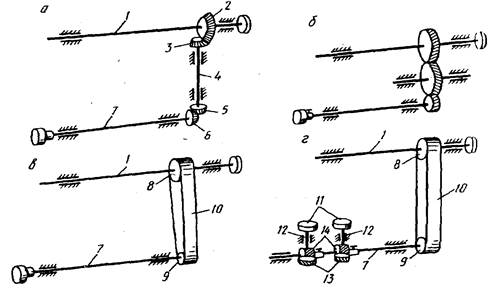
Схемы приводов вращающихся челноков:

а) Вращательное движение от главного вала 1 через зубчатое колесо 2, передающее, колесо 3, вертикальный вал 4 и колеса 5 и 6 передается челночному валу 7.
б) валы передачи расположены параллельно.
Несмотря на простоту таких передач, они находят все меньшее распространение из-за повышенного шума при их работе.
Плоскоременные зубчатые передачи малоинерционны и бесшумны. Внутри ремня расположены тросики, на внутренней поверхности - зубья (барабаны работают без проскальзывания относительно ремня).
в) движение от вала 1 передается валу 7 через зубчатую ременную передачу 8-10-9.
г) через такую же зубчатую ременную передачу передается движение челнокам 11 с вертикальной осью вращения 12, вращающимся в два раза быстрее, чем распределительный вал 7, за счет зубчатой передачи 13 - 14.






