Фильтры служат для очистки рабочей жидкости от содержащихся в ней примесей.

Рис.7.3. Схема фильтрации рабочей жидкости

Рис.7.4. Сетчатый фильтр
1 - корпус; 2 - сетка; 3 - диски; 4 - перфорированная трубка; 5 - гайка; 6 - прокладки.

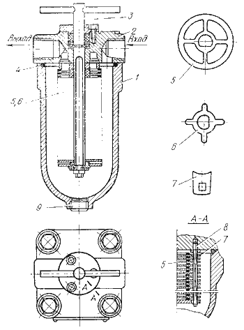
Рис.7.5. Пластинчатый фильтр типа Г41:
1 - корпус; 2 - крышка; 3 - ось; 4 - резиновое кольцо; 5 - основные пластины;
6 - промежуточные пластины; 7 - скребки; 8 - шпилька; 9 - пробка.

Рис.7.6. Комбинированный фильтр из элементов грубой и тонкой очистки
|
| |
| Рис.7.7. Бумажный фильтроэлемент | Рис.7.8. Структура фильтроматериала из спеченных шариков | |
| ||
| Рис.7.9. Войлочный фильтр типа Г43: 1 - корпус; 2 - крышка; 3 - перфорированная труба; 4 - фильтрующие элементы | Рис.7.10. Магнитный фильтр типа С43-3: 1 - пробка; 2 - латунная шайба; 3 - корпус; 4 - шайба; 5 - прокладка; 6 - уплотнение; 7 - латунная труба; 8 - крышка; 9 - магниты | |

Рис.7.11. Схемы включения фильтров:
а - на всасывающей гидролинии; б - в напорной гидролинии;
в - в сливной гидролинии






