Редукционный клапан

Рис.6.4. Редукционный клапан:
а - принципиальная схема; б - условное обозначение

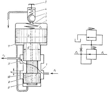
Рис.6.5. Редукционный клапан непрямого действия:
а - принципиальная схема; б - условное обозначение
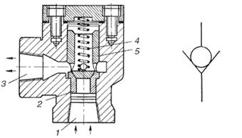
Обратным гидроклапаном называется направляющий гидроаппарат, предназначенный для пропускания рабочей жидкости только в одном направлении. Они могут иметь различные запорно-регулирующие элементы: шариковый, конусный, тарельчатый или плунжерный.

Рис.6.6. Обратный клапан типа Г51:
а - конструкция; б - условное обозначение

Рис.6.7. Блокировочное устройство






