Классификация гидроцилиндров
Механизмы с гибкими разделителями

Рис.4.1. Схемы мембран:
а - плоская с эластичным кольцом; б - гофрированная металлическая

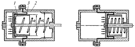
Рис.4.2. Схемы работы мембранного гидроцилиндра

Рис.4.3. Схема металлического сильфона: а - сильфон; б - цельная стенка; в - сварная стенка
Таблица 4.1
Классификация гидроцилиндров

Для привода рабочих органов мобильных машин наиболее широко применяют поршневые гидроцилиндры двухстороннего действия с односторонним штоком (рис.4.4).

Рис.4.4. Гидроцилиндр:
1 - грязесъемник; 2 - гильза; 3 - шток; 4 - стопорное кольцо; 5 - манжета;
6 - поршень; 7 - проушина; 8 - грундбукса

Рис.4.5. Принципиальные схемы демпферов: а - пружинный демпфер; б - демпфер с ложным штоком; в - демпфер регулируемый с отверстием; г - гидравлический демпфер






