Навески 1 ± 0,1 г аналитической пробы угля берут на различной глубине из двух-трех мест в предварительно взвешенные фарфоровые или кварцевые высокой формы тигли с притертыми крышками.
Рис. 12. Подставки для тиглей: а – из жаростойкой стали; б – из нихромовой проволоки |
Навески бурых углей (а также окисленных каменных углей) перед испытанием брикетируют в лабораторном брикетном прессе. Брикеты вынимают из пресса и взвешивают в тиглях, уточняя взятую для испытания навеску угля.
Для нагревания навесок угля применяют электрическую муфельную печь с температурой нагрева до 10000 С и с автоматическим регулированием температуры. В передней стенке печь должна иметь отверстия для выпуска летучих веществ, а в задней стенке - отверстия для установки термопары. В печи должен быть участок с устойчивой температурой 850 ± 100 С, площадь которого определяется предварительным замером температуры в закрытом муфеле.
Термопару располагают так в муфельной печи, чтобы горячий спай ее находился в пространстве на расстоянии 10 - 20 мм от пода печи по середине зоны с устойчивой температурой.
Тигли с навесками, закрытые крышками, вводят в печь, нагретую до 8600 С, на специальной подставке на шесть, четыре или два тигля (рис. 12) из нихромовой проволоки или из жаростойкой стали в зону устойчивой температуры, с таким расчетом, чтобы под печи был от дна тигля на расстоянии 20 мм.
Схема установки тиглей в печи показана на рис. 13.
Рис. 13. Схема установки тиглей в муфельной печи |
В закрытой печи выдерживают тигли в течение 7 мин. Температура, понизившаяся при установке тиглей в печь, должна снова достичь 850 ± 100 С не более чем за 3 мин. В противном случае испытание повторяют.
После 7-минутного пребывания тиглей в печи их вынимают оттуда и охлаждают сначала в течение 5 мин на воздухе (не снимая крышек), а затем до комнатной температуры в эксикаторе, после чего взвешивают и освобождают от нелетучего остатка.
Если после испытания каменного угля с выходом летучих более 20% получен порошкообразный или слипшийся нелетучий остаток, то опыт определения выхода летучих веществ повторяют с предварительно брикетированной навеской угля и выход летучих веществ вычисляют по результатам второго испытания.
Вычисление выхода летучих веществ аналитической пробы угля производят по формулам
Va=(G1100)/G-Wa; Va=(G1100)/G-Wa-[(СО2)ak],
где G1 - убыль веса навески после выделения летучих веществ и испарения влаги, г;
G - навеска угля, г;
Wa - влага аналитическая, %;
[(СО2)ak] - разность между содержанием двуокиси углерода карбонатов в исходной пробе испытуемого угля и в нелетучем остатке после определения выхода летучих веществ, %.
При содержании в аналитической пробе более 2% двуокиси углерода карбонатов (СО2)ak выход летучих веществ рассчитывают с поправкой на двуокись углерода[8].
Выход летучих веществ в аналитической пробе пересчитывают на условную горючую массу угля:
Vdaf= Va´100/(100-Wa- Va)
Vdaf= Va´100/(100-Wa-Va-[(СО2)ak],
Все вычисления ведут с точностью до 0,01 % и с той же точностью пересчитывают их на условную горючую массу. Окончательные результаты округляют до десятых долей процента (табл. 10).
Твердый нелетучий остаток в тигле, получаемый после определения выхода летучих веществ, переносят путем опрокидывания и легкого встряхивания тигля на фарфоровую или стеклянную пластинку.
В зависимости от внешнего вида и прочности нелетучего остатка его характеризуют по следующей классификации:
порошкообразный;
слипшийся – при легком нажиме пальцем рассыпается в порошок;
Таблица 10
Допускаемые расхождения между результатами двух параллельных
определений выхода летучих веществ
| Выход летучих веществ, % | Допускаемые расхождения, % | |
| в одной лаборатории | в разных лабораториях | |
| Менее 9 | 0,3 | 0,5 |
| От 9 до 45 | 0,5 | 1,0 |
| 45 и более | 1,0 | 1,5 |
Пример расчета результатов анализа на выход летучих веществ
Вес тигля с крышкой и навеской, г 28,6222
Вес тигля с крышкой без навески, г 27,6210
Навеска, г 1,0012
Вес тигля с крышкой и нелетучим остатком после
нагревания, г 28,4788
Убыль в весе навески, г 0,1434
Содержание влаги Wa, % 4,35
Зольность Аa, % 11,59
Содержание углекислоты карбонатов, % 2,0
Выход летучих веществ составляет 11,4 %.
3. Определение объемного выхода летучих веществ
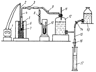
Сущность метода определения объемного выхода летучих веществ заключается в нагревании пробирки с навеской аналитической пробы антрацита (угля) в трубчатой печи при температуре 900 ± 100 С в течение 15 мин и определении объема выделившихся из навески летучих веществ. Установка для проведения анализа показана на рис. 14.
Рис. 14. Установка для определения объемного выхода летучих веществ: 1 – гальванометр; 2 – термопара; 3 – трубка хлоркальциевая; 4 – отводная трубка; 5 – пробирка кварцевая; 6 – трубчатая печь; 7 – навеска угля; 8, 9, 14, 16 – краны; 10 – манометр; 11 – термометр; 12 – аспиратор; 13 – уравнительный сосуд; 15 – тройник; 17 – мерный цилиндр |
Собранную установку проверяют на герметичность. Аспиратор наполняют насыщенным раствором хлористого натрия, слегка подкисленным соляной кислотой и подкрашенным метиловым оранжевым индикатором. Закрывают пробкой открытый конец манометра и открывают все краны, кроме крана на уравнительном сосуде. При этом из аспиратора вытекает раствор хлористого натрия в мерный цилиндр, вследствие чего в системе создается разрежение. Если система герметична, то ток раствора через 1,0 - 1,5 мин прекращается.
Определяют величину поправки на расширение воздуха в пробирке при ее нагревании.
Пробирку (без навески) закрывают пробкой с отводной трубкой, присоединяемой к системе, и опускают на глубину 145 мм в печь, нагретую до температуры 910 - 9150 С, где выдерживают в течение 15 мин, поддерживая температуру нагрева 900 ± 100 С. Объем жидкости, вытекшей из аспиратора за это время, принимают за постоянную величину. Этот объем учитывают при вычислении результатов испытания антрацита.
Для определения выхода летучих веществ берут навеску 1 ± 0,1 г аналитической пробы антрацита (угля).
Навеску помещают в кварцевую пробирку диаметром 11 мм, длиной 210 мм, соединяют с установкой через отводную трубку и опускают в нагретую до температуры 910 - 9150 С трубчатую печь на глубину 145 мм. Краны, соединяющие пробирку с манометром и аспиратором, должны быть при этом открыты.
Понизившаяся при установке пробирки температура в печи должна подняться до 900 ± 100 С не более чем за 3 мин, в противном случае испытание повторяют. Последняя температура поддерживается в печи за весь период испытания.
Ток раствора хлористого натрия из аспиратора регулируют так, чтобы давление в системе поддерживалось постоянным.
Нагревание пробирки с навеской производят в течение 15 мин, записывая через каждые 3 мин температуру газа в аспираторе. Затем закрывают вначале краны у манометра и мерного цилиндра, а затем кран, соединяющий пробирку с аспиратором, вынимают пробирку из печи. В мерном цилиндре отмечают объем вытекшей в него жидкости.
Объемный выход летучих веществ в навеске аналитической пробы рассчитывают для нормальных условий по формуле
Vаоб=(V1-V2)´293P/(273+t)´760, мл/г
где V1 - объем раствора хлористого натрия, вытекший из аспиратора, мл;
V2 - объем воздуха, выделившийся из пробирки при нагревании, мл;
293 - нормальная температура воздуха (200 С), 0К (градусы абсолютной шкалы);
Р - барометрическое давление во время испытания с учетом разрежения в аспираторе
(Р = Р1 - р), где Р1 - барометрическое давление, р - разрежение), мм рт. cт.;
t - средняя температура газа в аспираторе, 0 С;
273 + t - то же, 0 К;
760 - нормальное атмосферное давление, мм рт. cт.
Объемный выход летучих веществ на 1 г горючей массы пересчитывают по формуле
Vdafоб= Vаоб´100/100-Wa-Aa, мг/г
где Wа - содержание влаги в аналитической пробе, %,
Аа - зольность аналитической пробы, %.
Результаты вычислений округляют до целых чисел.
При анализе антрацитов новых месторождений в них определяют содержание двуокиси углерода карбонатов. Если содержание ее более 2 %, то вводят поправку на объемный выход летучих веществ. Содержание двуокиси углерода карбонатов определяют в навеске 1 г и в нелетучем остатке (для анализа берут весь остаток) после определения объемного выхода летучих веществ. Разница между результатами этих определений представляет собой количество двуокиси углерода карбонатов, перешедшей в газ при анализе на объемный выход летучих веществ.
Объем двуокиси углерода карбонатов, перешедшей в газ, вычисляют по формуле
VaCO2=g(22400´293P)/(44(273+t)760), мл
где g - вес двуокиси углерода, перешедшей в газ.
Остальные значения букв - см. предыдущие формулы.
С учетом двуокиси углерода карбонатов объемный выход летучих веществ в навеске антрацита составит
Vaоб=Vaоб1- VaCO2, мл/г.
Допускаемые расхождения в результатах параллельных определений выхода летучих веществ Vaоб для одной лаборатории - 6 % по отношению к меньшему результату определения; Vгоб для разных лабораторий - 8 % отн.
Рис. 12. Подставки для тиглей: а – из жаростойкой стали; б – из нихромовой проволоки
Рис. 13. Схема установки тиглей в муфельной печи
Рис. 14. Установка для определения объемного выхода летучих веществ: 1 – гальванометр; 2 – термопара; 3 – трубка хлоркальциевая; 4 – отводная трубка; 5 – пробирка кварцевая; 6 – трубчатая печь; 7 – навеска угля; 8, 9, 14, 16 – краны; 10 – манометр; 11 – термометр; 12 – аспиратор; 13 – уравнительный сосуд; 15 – тройник; 17 – мерный цилиндр 





