Назначение I ГИ.
I ГИ – устанавливает соединение в нужном направлении в соответствии с первой цифрой номера и подключает свободный прибор следующей ступени искания. При этом он выполняет следующие функции:
1. Занимается из схемы ПИ.
2. Питает микрофон вызывающего абонента.
3. Подает зуммер ответа станции,
4. Принимает бестоковые импульсы из аппарата абонента и передает токовые импульсы в электромагнит подъема МП и в следующие ступени искания.
5. Вращается свободно от пульс-пары и при этом пробует каждую линию на занятость.
6. На свободной линии останавливается, подключает к ней разговорные провода и блокирует ее от занятия другими приборами.
7. В случае отсутствия свободных выходов проворачивается в 11-е положение, уходит в исходное положение и оттуда подает зуммер «Занято».
8. Принимает из схемы ЛИ сигналы ответа и отбоя со стороны вызываемого абонента.
9. В случае автоматической междугородной связи обеспечивает трансляцию из передающих устройств АОН в приемные номера вызывающего абонента.
Телефонное реле постоянного тока с плоским сердечником (РПН)
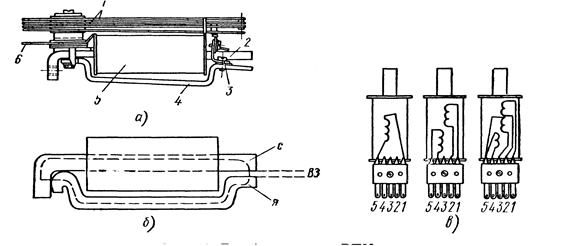
Реле РПН широко используются не только в автоматических телефонных станциях и телефонных станциях ручного обслуживания, но и в других многочисленных коммутационных устройствах. Основными частями реле РПН (рис. 21, а) являются сердечник 2, катушка с обмоткой 5, якорь 4, пластина отлипания 3и контактные группы 1 (пружинный пакет), для вывода концов обмоток в заднюю щеку запрессованы пять выводных штифтов 6 - это дает возможность вывести четыре конца от двух независимых отмоток и пять концов от трех обмоток. В последнем случае к одному из штифтов припаивают концы от двух обмоток (рис. 21, в).

Рисунок 21 - Телефонное реле РПН
а — устройство, б — магнитная система, в — схемы включения обмоток в выводные штифты
На сердечник насажены две щеки из гетинакса, образующие каркас, на который намотана обмотка из медной изолированной проволоки.
Применяют также комбинированные обмотки, состоящие из последовательно соединенных обмоток из медной и константановой проволоки. В этом случае к выводным штифтам припаивают начало медной обмотки и конец константановой. Комбинированные обмотки бывают нужны, когда необходимо увеличить сопротивление обмотки реле при заданном количестве витков, не применяя тонкой медной проволоки.
Магнитная система реле (рис. 21, б) состоит из плоского сердечника С, воздушного зазора ВЗ и плоского якоря Я, расположенного параллельно сердечнику.
На стороне якоря, обращенной к сердечнику (рис. 21, а), имеется латунный мостик с пластмассовым упором, прикрепленный к якорю двумя винтами. Этими же винтами к якорю прикреплена и пластина отлипания 3. В зависимости от условий работы реле толщина пластин отлипания может быть от 0,05 до 0,5 мм. Путь, который проходит якорь при притяжении к сердечнику называется ходом якоря, который должен находиться в пределах от 1,1 до 1,5 мм. В отдельных случаях применяют пластины отлипания толщиной от 0,5 до 1,0 мм. Более толстые пластины отлипания устанавливают для ускоренного отпускания якоря реле.
Группы контактных пружин, изолированных друг от друга прокладками, закреплены в общем пакете, который прикрепляется к сердечнику реле двумя винтами. В таком пружинном пакете может быть размещено от одной до трех групп контактных пружин, а в каждой группе — от двух до пяти пружин.
Контакты реле принято обозначать двумя цифрами: первая цифра указывает номер группы, вторая — номер контакта (пружины) в данной группе. Группы пружин нумеруются от 1 до 5.
Группы могут быть расположены только на I, III и V местах. Встречаются также реле с группами, расположенными на I и V местах. Другое расположение групп, например на II и III местах, не применяют, так как в этом случае расстояние между группами будет настолько мало, что пружины окажутся недоступными для регулировки. Группе присваивается номер по месту ее расположения в пакете. Счет групп принято вести справа налево, если смотреть со стороны выводных концов контактных пружин и обмоток. Счет контактов в группе идет снизу вверх. Таким образом, контакты первой группы будут иметь нумерацию 11, 12, 13, 14, 15, третьей —31, 32, 33, 34, 35 и пятой —51, 52, 53, 54, 55.
Сведения о реле, характерные для условий, в которых оно работает в том или ином устройстве, должны быть записаны в паспорте реле. В этом паспорте указывают: схему выводов и соединения обмоток, их сопротивление, количество витков, схему пружинного пакета, величину тока срабатывания и тока отпускания, время срабатывания и отпускания (если это существенно), величину хода якоря, толщину пластины отлипания, а также требования к регулировке реле.






