Общие технологические требования к конструкции деталей машин можно сформулировать следующим образом: конфигурация детали должна представлять собой сочетание простых геометрических форм, обеспечивающих удобную, надежную базу для установки заготовки в процессе ее обработки и дающих возможность применения высокопроизводительных технологических методов изготовления. Заданная точность и шероховатость поверхностей детали должны быть строго обоснованны ее служебным назначением. Необоснованные требования к точности и шероховатости приводят к увеличению трудоемкости изготовления и повышению себестоимости детали.
Рассмотрим некоторые решения по обеспечению технологичности при механической обработке и ремонте.
Для увеличения производительности обработки внутренние торцовые поверхности должны быть доступны для обработки зенковкой, т.е. верхнее отверстие должно быть большего диаметра, чем нижнее (рис. 4.1 а). Конструкция втулки должна обеспечивать обработку отверстий с одной стороны. Это повышает точность и производительность за счет обработки за одну установку и упрощению нарезания резьбы в сквозном отверстии (рис.4.1б). Уменьшение размера базового торца уменьшает трудоемкость его обработки. (рис. 4.1 в).
Технологические требования к конструкции продиктованы как технологией производства деталей, так и технологией ремонта машин.
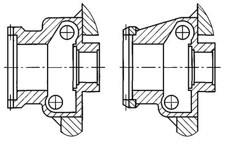
Установка подшипников в узле рис 4.2.а не обеспечивает их выпрессовку при ремонте, технологичной является конструкция на рис. 4.2б.
Конструкция гребенки, выполненная за одно целое с кронштейном направляющего колеса, является нетехнологичной (рис. 4.3а), т.к. выварка всего кронштейна представляет трудности даже при капитальном ремонте танка. Изготовление гребенки отдельно с последующей её приваркой к кронштейну значительно уменьшает трудоемкость работ по её замене и обеспечивает возможность её замены при войсковом (текущем) ремонте(рис 4.3б).

а

б

в
Рис 4.1. Примеры рационального (справа) и нерационального (слева) конструктивного оформления обрабатываемых поверхностей

а б
Рис. 4.2. Пример нетехнологичной (а) и технологичной (б)
конструкции подшипникового узла

а б
Рис. 4.3. Пример нетехнологичной (а) и технологичной (б)
конструкции гребенки
Глава 5