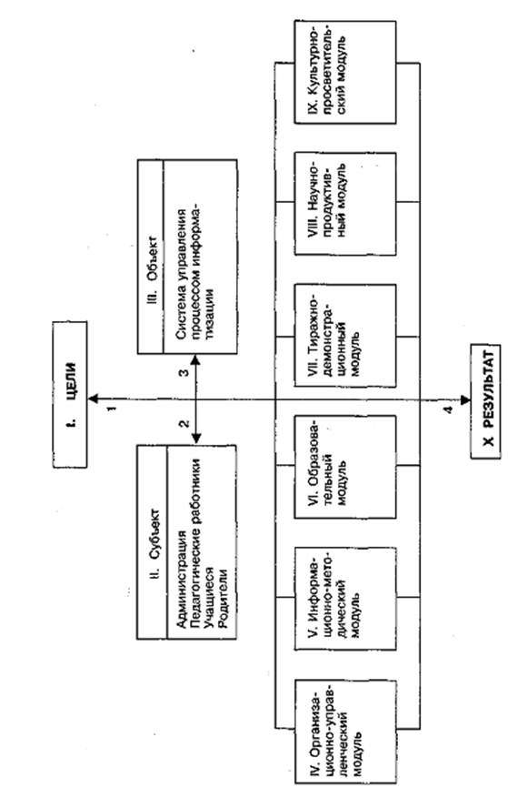
1. Организационно-управленческий модуль.
2. Информационно-методический модуль.
3. Образовательный модуль.
4. Тиражно-демонстрационный модуль.
5. Научно-продуктивный модуль.
6 Культурно-просветительский модуль.
В соответствии с приведенным составом компонентов модели ниже (рис. 2) предлагается схема структурно-функциональной модели управления комплексной информатизации общеобразовательной школы.
В определенной степени данная модель является идеализированной, так как реальные условия большинства школ не дают возможностей ее быстрой и полной реализации. Вместе с тем, предлагаемый вариант базовой (локальной) модели позволяет обеспечить потребности отдельной школы и предполагает возможность вхождения в районную (городскую), а в перспективе в областную, республиканскую образовательные информационные сети. Из этих соображений целесообразно иметь в структуре моделей школы и района (города) одинаковый состав информационных модулей. Их содержание будет отличаться в зависимости от конкретики функций и задач.
|
|
|
Связи (1-4, 1-2, 1-3), приведенные на схеме, указывают на то, что содержание каждого ее компонента зависит от цели управления. Вместе с тем состояние всех компонентов и заданный результат оказывают свое влияние на характер и содержание цели, так как все модули проектируемой модели предполагают учет обеспечивающих результат условий, требований критериев оценки модели. Аналогично, все компоненты структуры определяют уровень конечного результата. Связь 2-3 свидетельствует не только о воздействии субъекта на объект управления, но и об их взаимовлиянии.
Организационно-управленческий модуль обеспечивает реализацию функций управления содержанием и технологиями образовательной деятельности, учебно-воспитательным процессом (режим функционирования, расписание занятий, занятость учебных помещений, диспетчеризация), кадрами, материально-техническим обеспечением. В функции данного модуля входит использование информационных технологий диагностики, оценки качества обучения и эффективности воспитательной работы.
Информационно-методический модуль предназначен для школьных педагогов и ориентирован на развитие творческой педагогики в школе, так как внедрение модели комплексной информатизации предполагает создание и постоянное обновление программно-методических комплексов различных форм обучения. В функции модуля входит формирование программно-методического фонда, разработка компьютерных программ, проведение телеконференций, разработка средств информационного обеспечения методической и опытно-экспериментальной работы.
|
|
|

Рис.2.Схема структурно-функциональной модели управления комплексной информатизацией школы
Образовательный модуль предназначен для хранения электронных учебных материалов по школьным образовательным областям и направлениям воспитательной работы. Обеспечивает формирование функциональной грамотности и информационной культуры учащихся, оптимизацию образовательного процесса на основе использования информационных технологий, информационную поддержку внеклассных и внешкольных мероприятий.
Тиражно-демонстрационный модуль обеспечивает подготовку и тиражирование программно-методических материалов, дидактических материалов на бумажной основе, видеопрограмм с кассетных носителей и транслирующихся по ТВ, условия для демонстрации видеоматериалов.
Научно-продуктивный модуль основывается на работе школьного научного общества и ориентирован на приобретение учащимися профессиональных навыков будущей деятельности в информационном обществе, совмещение образования с полезным трудом, использование новых информационных технологий. В функции модуля входит обеспечение электронной библиотеки, формирование медиатеки, издательская деятельность, работа в Интернете.
Культурно-просветительский модуль предназначен для хранения банка данных по литературному, музыкальному, художественному, архитектурному наследию мировой цивилизации. В функции данного модуля входит также формирование у учащихся информационной, экологической и экранной культуры.
В соответствии с целями комплексной информатизации учебного заведения модель предусматривает определенную инфраструктуру его информационной среды. Примерная структура приводится на схеме (рис. 3).

Рис. 3. Инфраструктура информационной среды учебного заведения.
Каждый блок имеет свое назначение и состав.
Приведем фрагмент сети, реализующий задачи одного из блоков, например Б4 — административного (рис. 4).

Рис. 4. Фрагмент сети административного блока
Все блоки сети взаимосвязаны, каждый из них важен и выполняет достаточно большой объем задач. Необходимо иметь в виду, что наиважнейшая роль в данном случае отводится серверу. Перечень задач, которые могут быть на него возложены, может варьироваться в зависимости от направления работы самого учебного заведения, кадрового состава и т. д. Однако имеется ряд задач, которые решает каждое общеобразовательное учебное заведение и которые должны быть возложены на сервер. На рис. 5 представлены наиболее актуальные задачи сервера учебного заведения.

Рис. 5. Задачи сервера учебного заведения
Для самооценки эффективности внедряемой модели предлагается использовать унифицированный состав критериев ее оценки.